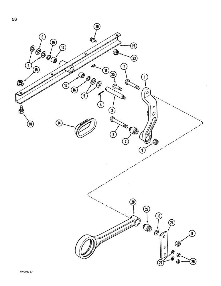
Запчасти Case IH 1660 (058) - CHAFFER DRIVE HANGER LEVER AND SUPPORT, HEAVY DUTY DRIVE, EXTENDED LENGTH CLEANING SYSTEM (74) - CLEANING

Схема запчастей Case IH 1660 - (058) - CHAFFER DRIVE HANGER LEVER AND SUPPORT, HEAVY DUTY DRIVE, EXTENDED LENGTH CLEANING SYSTEM (74) - CLEANING
7
6
16
2
15
27
26
28
1
5
5
9
3
8
14
29
24
20
17
23
19
25
17
4
9
10
11
16
18
FIT
1:1
100%

Артикул

Название

Примечание

Количество

1

1957467C2

LEVER

- chaffer drive hanger

2шт.

2

1330323C1

BUSHING

- chaffer drive hanger arm

1шт.

3

1979251C1

SHAFT

- hanger arm

1шт.

4

432-1232

COTTER PIN,3/16" OD x 2" L

3/16" x 2"

2шт.

5

495-81057

WASHER,23.01mm ID x 38.1mm OD x 3.4mm Thk

- flat, 29/32 x 1-1/2 x 7/64 inch

6шт.

6

495-81056

WASHER,29/32" x 1 1/2" x 3/64

- flat, 29/32 x 1-1/2 x 3/64 inch

4шт.

7

426-1056

BOLT,Hex, 5/8" - 11 x 3-1/2", Gr 8

- hex, 5/8 NC x 3-1/2 inch, grade 8

2шт.

7

26-1076

BOLT,Hex, 5/8" - 11 x 4-3/4", Gr 8

- hex, 5/8 NC x 4-3/4 inch, grade 8

2шт.

8

426-1072

BOLT,Hex, 5/8" - 11 x 4-1/2", Gr 8

- hex, 5/8 NC x 4-1/2 inch, G8

2шт.

8

26-1088

BOLT,Hex, 5/8" - 11 x 5-1/2", Gr 8

- hex, 5/8 NC x 5-1/2 inch, grade 8

2шт.

9

131-1219

LOCK NUT,5/8"-11, GC

NUT, LOCK, 5/8"-11, GC

4шт.

10

495-81026

WASHER,21/32" x 1 1/2" x .060"

- flat, 21/32 x 1-1/2 x 3/64 inch

1шт.

11

87569

LUBE NIPPLE,45 Degree, 1/4" NPT x 4/5" L, Drive

FITTING - grease, 45 degree, 1/4 inch

2шт.

14

1302644C2

SEAL

PLUG - chaffer rail front pivot

2шт.

15

186651C91

SUPPORT ASSY.

SUPPORT - front hanger

2шт.

16

372756R91

OIL SEAL,20.45mm ID x 28.68mm OD x 3.17mm Thk

- front hanger support bearing

2шт.

17

G10642

NEEDLE BEARING,Needle, 22.23mm ID x 28.57mm OD x 19.05mm W

BEARING - front hanger support

2шт.

18

113-424

BOLT,Hex, 1/2" - 13 x 1", Gr 5, Full Thd

12шт.

19

131-930

FLANGE NUT,Hex Serr, 1/2" - 13, Gr 5

- hex flange, self-locking, 1/2 inch NC

12шт.

20

202107C1

BOLT,Hex Serr Flg, 5/16" - 18 x 3/4"

- flanged hex lock, 5/16 NC x 3/4 inch

4шт.

23

938017R1

FLANGE NUT,Flg, USR, 5/16"-18

- flanged hex lock, 5/16 inch NC

4шт.

24

1957462C1

BAR

- pitman stabilizer

2шт.

25

413-828

BOLT,Hex, 1/2" - 13 x 1-3/4", Gr 5

2шт.

26

425-108

NUT,1/2" - 13, Gr 5

NUT, , Hex 1/2"-13, G5

4шт.

27

80679

LOCK WASHER,1/20.507 CST ZND

WASHER, LOCK, 1/2"

4шт.

28

1989251C1

ARM

PITMAN - shaker shaft (see page 57)

2шт.

29

1979383C1

BUSHING

- chaffer drive hanger arm (see page 57)

1шт.

Выбрано товаров: 27