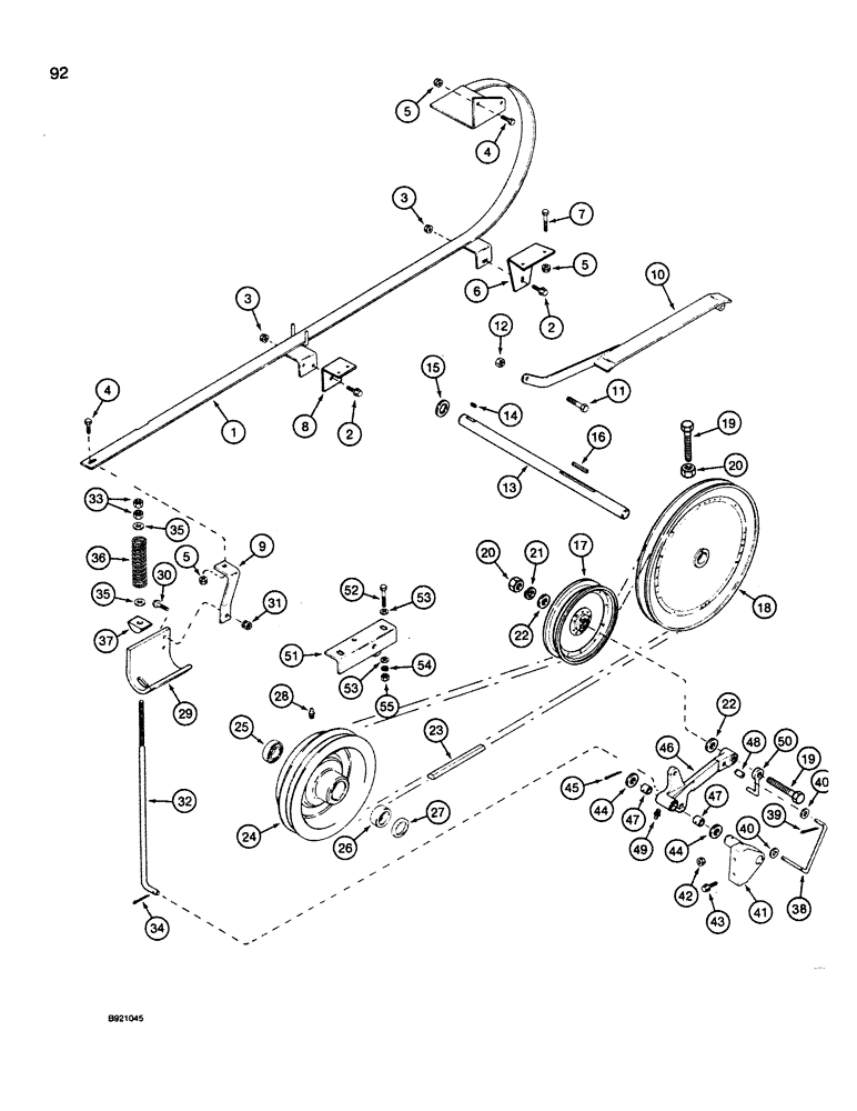
Запчасти Case IH 1660 (092) - GRAIN TANK UNLOADER, BELT DRIVE (80) - CROP STORAGE/UNLOADING

Схема запчастей Case IH 1660 - (092) - GRAIN TANK UNLOADER, BELT DRIVE (80) - CROP STORAGE/UNLOADING
51
5
36
35
16
5
22
17
1
4
29
42
49
30
47
20
43
35
34
23
27
50
22
2
37
38
3
15
18
12
54
47
53
7
31
4
53
6
19
48
33
19
39
20
21
8
40
11
5
44
46
14
2
55
24
28
44
3
52
32
9
41
40
10
13
45
25
26
FIT
1:1
100%

Артикул

Название

Примечание

Количество

1

195168C4

GUIDE

- belt, unloader

1шт.

2

202107C1

BOLT,Hex Serr Flg, 5/16" - 18 x 3/4"

- hex flange lock, 5/16 NC x 3/4 inch

2шт.

3

938017R1

FLANGE NUT,Flg, USR, 5/16"-18

- hex flange lock, 5/16 inch NC

2шт.

4

154273C1

BOLT,Hex Serr, 3/8" - 16 x 1", Spcl

- hex, self-locking, 3/8 NC x 1 inch

6шт.

5

482256R1

BEARING LOCK NUT,Flg, USR, 3/8"-16

- hex flange lock, 3/8 inch NC

4шт.

6

192870C1

SUPPORT

ANGLE - support, front

1шт.

7

165420C1

BOLT,Hex Serr, 3/8"-16 x 1 1/4", Spcl

- hex, self-locking, 3/8 NC x 1-1/4 inch

2шт.

8

1347453C1

SUPPORT

ANGLE - support, center

1шт.

9

1347454C1

SUPPORT

ANGLE - support, lower rear

1шт.

10

1989207C3

SUPPORT ASSY.

GUIDE - belt, upper

1шт.

11

413-820

BOLT,Hex, 1/2" - 13 x 1-1/4", Gr 5

- hex, 1/2 NC x 1-1/4 inch

1шт.

12

231-1448

NUT,1/2"-13, GB

- hex, self-locking, 1/2 inch NC

1шт.

13

1347494C1

SHAFT

- vertical

1шт.

14

126-147

WOODRUFF KEY,#28, 5/16" x 2 1/8", HT

1шт.

15

495-81191

WASHER,1 5/32" x 2" x .060"

- flat, 1-9/16 x 2 x 3/64 inch

1шт.

16

586879R1

KEY

- square, parallel, 5/16 x 2 inch

1шт.

17

663887R91

PULLEY,203.2mm Idler Dia x 214.63mm OD x 48.42mm W

- tightener, belt

1шт.

18

1994762C1

PULLEY ASSY.

PULLEY - unloader jackshaft driven

1шт.

19

413-1060

BOLT,Hex, 5/8" - 11 x 3-3/4", Gr 5

- hex, 5/8 NC x 3-3/4 inch

2шт.

20

425-1010

NUT,5/8"-11, G5

2шт.

21

492-11062

BEARING WASHER,5/8"

WASHER, LOCK, 5/8"

1шт.

22

496-21066

WASHER,16.6mm ID x 33.5mm OD x 3.8mm Thk

- flat, 21/32 x 1-5/16 x 5/32 inch

2шт.

23

1989216C1

V-BELT,22.33 mm W x 3475.89 mm L

Drive, Unloader 22.33 mm W x 3475.89 mm L

1шт.

24

1541761C1

PULLEY ASSY.

PULLEY ASSEMBLY - auxiliary pump drive

1шт.

25

658089R91

BALL BEARING,30mm ID x 62mm OD x 16mm W

BEARING - pulley, inner

1шт.

26

191213C91

NEEDLE BEARING,41.275 mm ID x 50.812 mm OD x 25.4 mm

BEARING - pulley, outer

1шт.

27

466176R92

SEAL

- pulley

1шт.

28

219-87

LUBE NIPPLE,1/4" - 28 NPTF

NIPPLE, LUBE, 1/4"-28 x .56" lg, Self-Tap

1шт.

29

185062C1

SUPPORT

- spring

1шт.

30

155807C1

BOLT,Hex Serr, 5/16" - 18 x 1"

2шт.

31

938017R1

FLANGE NUT,Flg, USR, 5/16"-18

- hex flange lock, 5/16 inch NC

2шт.

32

185061C1

ROD

- tightener

1шт.

33

425-108

NUT,1/2" - 13, Gr 5

NUT, , Hex 1/2"-13, G5

2шт.

34

432-1216

COTTER PIN,3/16" x 1"

1шт.

35

495-81287

WASHER,13.49mm ID x 31.75mm OD x 3.4mm Thk

- flat, 17/32 x 1-1/4 x 7/64 inch

2шт.

36

391745R1

SPRING

- arm, tightener

1шт.

37

194652C1

PIVOT

- rod

1шт.

38

193820C1

ROD

- retainer

1шт.

39

432-816

COTTER PIN,1/8" x 1"

1/8" x 1"

4шт.

40

495-81129

WASHER,13/32" x 3/4" x .120"

- flat, 13/32 x 3/4 x 7/64 inch

4шт.

41

191464C3

SUPPORT

- arm, tightener

1шт.

42

938017R1

FLANGE NUT,Flg, USR, 5/16"-18

- hex flange lock, 5/16 inch NC

2шт.

43

535789R1

BOLT,Hex Serr, 5/16" - 18 x 1 1/4"

- hex flange, 5/16 NC x 1-1/4 inch

2шт.

44

495-81039

WASHER,25/32" x 1 1/4" x .120"

- flat, 25/32 x 1-1/4 x 7/64 inch

3шт.

45

432-1620

COTTER PIN,1/4" x 1 1/4"

Pin, Split (Cotter), 1/4" x 1 1/4"

1шт.

46

185059C93

LEVER ASSY.

ARM ASSEMBLY - tightener

1шт.

47

382638R2

BUSHING,19.07mm ID x 22.24mm OD x 19.05mm L

- arm

2шт.

48

1302225C1

BUSHING

- arm

1шт.

49

219-87

LUBE NIPPLE,1/4" - 28 NPTF

NIPPLE, LUBE, 1/4"-28 x .56" lg, Self-Tap

1шт.

50

194894C1

ROD

- belt, upper

1шт.

51

1541743C1

SUPPORT ASSY.

SUPPORT - belt guide, upper

1шт.

52

413-628

BOLT,Hex, 3/8" - 16 x 1-3/4", Gr 5

2шт.

53

495-81135

WASHER,10.31mm ID x 25.4mm OD x 3.4mm Thk

- flat, 13/32 x 1 x 7/64"

4шт.

54

492-11038

LOCK WASHER,3/8"

2шт.

55

425-106

NUT,3/8"-16, Cl 5

2шт.

Выбрано товаров: 55