Качественные детали и логистика
Оригинальные и аналоговые запчасти с доставкой по России, Казахстану и Беларуси
©2022 PartSell ООО "Система" ИНН 2463123282 ОГРН 1212400004838
Центральный офис: г. Красноярск, Академика Киренского, д.87, пом.4
Телефон: 8 (800) 777-65-74 Email: zakaz@partsell.ru
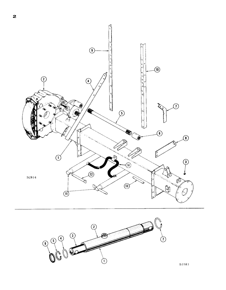
(02[2]) - HEADER LIFT CYLINDER
№
Артикул
Название
Примечание
Количество
1
F88203
CYLINDER - header lift, R.H. and L.H.
2шт.
2
NSS
NOT SOLD SEPARAT
BARREL
1шт.
3
F18077
ROD - piston
F86295
CYLINDER
REPAIR KIT
4
F18075
"O" RING
5
F18074
WASHER
- backup (.19 x 2.25)
6
F18073
WIPER
SEAL
7
F18076
RING, LOCKING
LOCK RING
Выбрано товаров: 0