Качественные детали и логистика
Оригинальные и аналоговые запчасти с доставкой по России, Казахстану и Беларуси
©2022 PartSell ООО "Система" ИНН 2463123282 ОГРН 1212400004838
Центральный офис: г. Красноярск, Академика Киренского, д.87, пом.4
Телефон: 8 (800) 777-65-74 Email: zakaz@partsell.ru
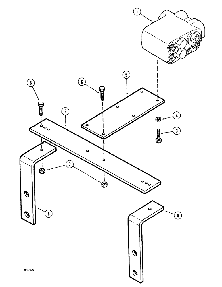
(5-38) - SELECTOR VALVE MOUNTING, POWER GUIDE AXLE
№
Артикул
Название
Примечание
Количество
1
1978000C1
VALVE
ASSEMBLY selector, parts list Fig. 5-48
1шт.
2
1324455C2
PLATE
PLATE mounting, valve
3
426-624
BOLT,Hex, 3/8" - 16 x 1-1/2", Gr 8
2шт.
4
492-11038
LOCK WASHER,3/8"
5
1324454C3
BAR
6
426-616
BOLT,Hex, 3/8" - 16 x 1", Gr 8
4шт.
7
232-4116
NUT,3/8"-16, GC
8
1324471C1
BRACKET
SUPPORT valve
Выбрано товаров: 0