Запчасти Case IH 1666 (8-16) - OIL COOLER SYSTEM, RICE COMBINE, WITHOUT POWER GUIDE AXLE (07) - HYDRAULICS

Схема запчастей Case IH 1666 - (8-16) - OIL COOLER SYSTEM, RICE COMBINE, WITHOUT POWER GUIDE AXLE (07) - HYDRAULICS
17
3
24
3
3
15
20
6
11
3
14
1
13
3
8
10
9
4
3
12
25
12
26
5
2
8
4
11
6
27
3
3
23
21
3
3
18
16
19
22
3
7
FIT
1:1
100%

Артикул

Название

Примечание

Количество

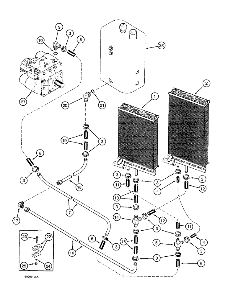
1

111078A3

COOLER

ASSY., hydraulic oil standard, see Fig. 8-20

1шт.

2

84659C3

OIL COOLER

ASSY., oil auxiliary, hydraulic, see Fig. 8-22

1шт.

3

214-1516

HOSE CLAMP,#16, 0.81" - 1.5", Type F Worm, W/ Liner

Adjustable

16шт.

4

1979766C1

HOSE, tee to auxiliary cooler, 16 in. (406 mm) long, cut from 364360C1 bulk hose, see below

1шт.

5

D55776

TEE

hose stem, cooler supply

1шт.

6

87707C2

HYDRAULIC HOSE,24.50 mm ID x mm

Supply Pump to Auxiliary Cooler, Cut From 364361C1 Bulk Hose, See Below

1шт.

7

1979658C1

HYD TUBE,1" OD

oil cooler suppl to pump

1шт.

8

1979762C2

HOSE

supply pump to auxiliary cooler, 24-1/4 in. (610 mm) long, cut from 364361C1 bulk hose, see below

1шт.

9

178995C1

ELBOW

90 deg., special 1 in. barb end x 1-16 in. PT, Includes: Ref. 10

1шт.

10

237-6012

O-RING,0.116" Thk x 0.924" ID, -912, Cl 6, 90 Duro

1шт.

11

87707C2

HYDRAULIC HOSE,24.50 mm ID x mm

Supply Tee to Standard Cooler, Cut From 364361C1 Bulk Hose, See Below

1шт.

12

87707C2

HYDRAULIC HOSE,24.50 mm ID x mm

Return Auxilary Cooler to Tee, Cut From 364361C1 Bulk Hose, See Below

1шт.

13

1979762C2

HOSE

returm standard cooler to tee, 24-1/4 in. (610 mm) long, cut from 364361C1 bulk hose, see below

1шт.

14

1979672C1

TEE

cooler return, 1 in. stem end

1шт.

15

87707C2

HYDRAULIC HOSE,24.50 mm ID x mm

Return to Reservoir, Cut From 364361C1 Bulk Hose, See Below

1шт.

16

1324941C1

HYD TUBE,1" OD, 1790.5, 127 mm Length

TUBE, oil cooler return to reservoir

1шт.

17

218-478

ELBOW,90 Degree Elbow, 1-5/16" - 12 Male JIC x 1-5/16" - 12 Male JIC

ELBOW, 90 deg., 1-5/16-12 in. flare x flare

1шт.

18

1979731C1

TUBE

cooler, Serial Range: return-reservoir

1шт.

19

1979762C2

HOSE

cooler to reservoir, 15-1/2 in. (394 mm) long, cut from 364361C1 bulk hose, see below

1шт.

20

217-352

FITTING,90 Degree Elbow, 1" Hose Barb x 1-5/16" - 12 Male ORB

90 deg., 1 stem end x 1-5/16-12in. adj. O-ring boss

1шт.

21

237-6016

O-RING,0.116" Thk x 1.171" ID, -916, Cl 6, 90 Duro

1шт.

22

1347071C1

CLAMP

CLAMP, 1 in. O.D. tube, retaining.

2шт.

23

413-536

BOLT,Hex, 5/16" - 18 x 2-1/4", Gr 5

2шт.

24

495-21038

WASHER,5/16"

(flat, 3/8 x 7/8 x 3/32")

2шт.

25

231-5145

SERRATED NUT,Flg, USR, 5/16"-18

2шт.

26

1343660C1

RESERVOIR

ASSY., hydraulic oil, 10 gallon, see Fig. 8-02

1шт.

27

108113A1

PUMP, HYDROSTATIC

SPARE PART ASSY., see Figs. 6-16, 6-22 and 6-25A

1шт.

27

87637529R

REMAN-HYDROSTAT PUMP

1666 CASE IH AXIAL-FLOW COMBINE, SPARE PART ASSY (1/93-12/94), Reman for New PN 108113A1

1шт.

27

87637529C

CORE-HYDROSTAT PUMP

Return Number

1шт.

364361C1

HOSE

bulk, 1 (25) ID x 600 in. (15240 mm) long, used for Ref., 6, 8, 11, 12, 13, 15 and 19

1шт.

364360C1

HOSE

bulk, 3/4 (19) x 600 in. (15240 mm) long, used for Ref., 4

1шт.

Выбрано товаров: 0