Запчасти Case IH 1666 (8-36) - CONTROL VALVE AND MOUNTING, WITHOUT FORE AND AFT ATTACHMENT (07) - HYDRAULICS

Схема запчастей Case IH 1666 - (8-36) - CONTROL VALVE AND MOUNTING, WITHOUT FORE AND AFT ATTACHMENT (07) - HYDRAULICS
3
30
24
11
28
1
19
46
42
52
17
12
33
32
40
21
48
22
15
49
9
18
31
36
44
25
13
15
27
51
45
2
16
14
6
50
10
53
29
4
38
37
20
26
38
34
22
23
16
43
35
39
7
47
21
8
41
5
33
FIT
1:1
100%

Артикул

Название

Примечание

Количество

1989498C5

VALVE ASSY., control, not available for service, order individual components

1шт.

1986775C3

VALVE ASSY., control, not available for service, order individual components, Includes: Ref. 1 thru 26

1шт.

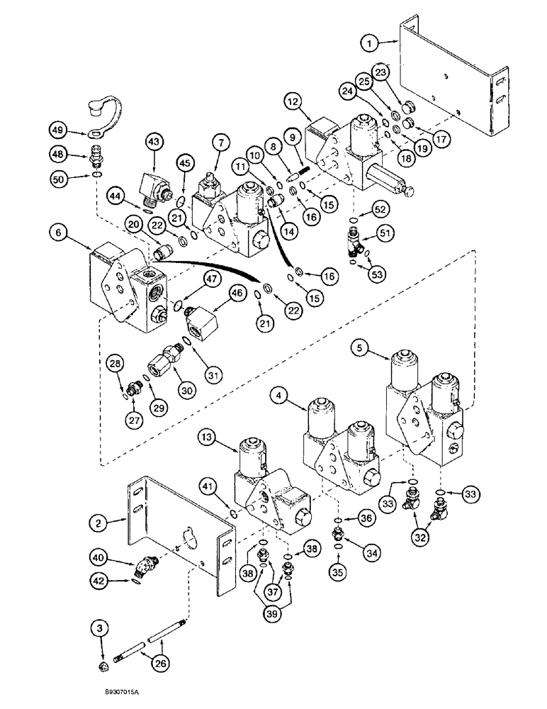
1

1541613C1

SUPPORT

BRACKET mounting, valve, front, stack

1шт.

2

1989370C2

SUPPORT

BRACKET mounting, valve, rear, stack end

2шт.

3

231-5144

SERRATED NUT,Flg, USR, 1/4"-20

6шт.

4

107981A2

VALVE

ASSY., unload, single bi-directional, reel lift, see Fig. 8-40

6шт.

5

1267035C94

VALVE

ASSY., double piloted, unloader swing, see fig. 8-42, no longer available, order 124857A1, Serial Range: -JJC105314

1шт.

5

124857A1

VALVE

ASSY., double piloted, unloader swing, see Fig. 8-43A, Start Serial: JJC105314

1шт.

6

1542678C1

VALVE

ASSY., flow divider, see Fig. 8-44

1шт.

7

1542679C2

VALVE

ASSY., header lift, see Fig. 8-46, Includes: Ref. 8 thru 11

1шт.

8

107957A1

VALVE POPPET

raise check

1шт.

9

107959A1

SPRING

poppet

1шт.

10

238-6016

O-RING,0.07" Thk x 0.614" ID, -16, Cl 6, 90 Duro

2шт.

11

A34493

RING,16.33mm ID x 19.02mm OD x 1.25mm Thk

backup, large tube

2шт.

12

1542680C3

VALVE

ASSY., header, lower, see Fig. 8-48, replaces 1542680C2

1шт.

13

1542681C1

VALVE

ASSY., feeder clutch, see Fig. 8-50

1шт.

14

1301630C2

TUBE,.344" ID, .5" OD, 15" Length

through, small, Includes: Ref. 15 and 16

9шт.

15

238-6012

O-RING,0.07" Thk x 0.364" ID, -12, Cl 6, 90 Duro

2шт.

16

L31330

BACK-UP RING,109mm ID x 128.81mm OD x 12mm Thk

backup

2шт.

17

1301634C2

PLUG

cap, small, Includes: Ref. 18 and 19

4шт.

18

238-6012

O-RING,0.07" Thk x 0.364" ID, -12, Cl 6, 90 Duro

1шт.

19

L31330

BACK-UP RING,109mm ID x 128.81mm OD x 12mm Thk

backup

1шт.

20

107984A1

PISTON

TUBE through, large, includes seals, Includes: Ref. 21 and 22

1шт.

21

238-6016

O-RING,0.07" Thk x 0.614" ID, -16, Cl 6, 90 Duro

2шт.

22

A34493

RING,16.33mm ID x 19.02mm OD x 1.25mm Thk

backup, large tube O-ring

2шт.

23

107985A1

PISTON

PLUG, cap, large, includes seals, Includes: Ref. 24 and 25

1шт.

24

238-6016

O-RING,0.07" Thk x 0.614" ID, -16, Cl 6, 90 Duro

2шт.

25

A34493

RING,16.33mm ID x 19.02mm OD x 1.25mm Thk

backup, large tube O-ring

2шт.

26

106439A1

STEM

ROD tie, valve sections, used, on models without field tracker attachment

3шт.

There is one large and one small connector tube used between the header lift and the lower valves. The large tube is pressed into the header lift valve and is not serviced sepoerately. you must use a new valve. See Figure 8-46

1шт.

REF

INSTRUCTION

VALVE ASSY., control, Includes: Ref. 28 thru 59

1шт.

27

201-104

HYD CONNECTOR,1-3/16" - 12 Male ORFS x 1-1/16" - 12 Male ORB

Includes Ref. 28 and 29

1шт.

28

237-6012

O-RING,0.116" Thk x 0.924" ID, -912, Cl 6, 90 Duro

1шт.

29

238-6018

O-RING,0.07" Thk x 0.739" ID, -18, Cl 6, 90 Duro

1шт.

30

1272346C1

FILTER

inline, valve pressure line, Includes: Ref. 31

1шт.

31

237-6012

O-RING,0.116" Thk x 0.924" ID, -912, Cl 6, 90 Duro

1шт.

32

218-5320

ELBOW,90 Degree, 7/16"-20, 37 Degree x 3/4"-16, O-Ring

90 deg., 7/16-20 flare x 3/4-16 in. adj. O-ring boss, Includes: Ref. 33

2шт.

33

237-6008

O-RING,0.087" Thk x 0.644" ID, -908, Cl 6, 90 Duro

1шт.

34

201-125

HYD CONNECTOR,11/16"-16 ORFS x 7/16"-20 ORB

ADAPTER straight, 11/16-16 face seal x 7/16-20 in.O-ring boss, Includes: Ref. 35 and 36

1шт.

35

238-6012

O-RING,0.07" Thk x 0.364" ID, -12, Cl 6, 90 Duro

1шт.

36

237-6004

O-RING,0.072" Thk x 0.351" ID, -904, Cl 6, 90 Duro

1шт.

37

201-106

HYD CONNECTOR,11/16" - 16 Male ORFS x 3/4" - 16 Male ORB

ADAPTER straight, 11/16-16 face seal x 3/4-16 in. O-ring boss, Includes: Ref. 38 and 39

1шт.

38

237-6008

O-RING,0.087" Thk x 0.644" ID, -908, Cl 6, 90 Duro

1шт.

39

238-6012

O-RING,0.07" Thk x 0.364" ID, -12, Cl 6, 90 Duro

1шт.

40

201-321

ELBOW,45 Degree Elbow, 13/16" - 16 Male ORFS x 9/16" - 18 Male ORB

45 deg., 13/16-16 face seal x 9/16-18 in. adj. O-ring boss, Includes: Ref. 41 and 42

1шт.

42

238-6014

O-RING,0.07" Thk x 0.489" ID, -14, Cl 6, 90 Duro

1шт.

43

201-350

ELBOW,90 Degree Elbow, 1-3/16" - 12 Male ORFS x 7/8" - 14 Male ORB

90 deg., 1-3/16-12 face seal x 7/8-14 in. adj. O-ring boss, Includes: Ref. 44 and 45

1шт.

44

238-6018

O-RING,0.07" Thk x 0.739" ID, -18, Cl 6, 90 Duro

1шт.

45

237-6010

O-RING,0.097" Thk x 0.755" ID, -910, Cl 6, 90 Duro

1шт.

46

1989475C3

TEE

special, 5/8 O-ring boss adj., 3/4 x 3/8 in., Includes: Ref. 47

1шт.

47

237-6010

O-RING,0.097" Thk x 0.755" ID, -910, Cl 6, 90 Duro

1шт.

48

1541849C1

COUPLING

ASSY., diagnostic, Includes: Ref. 49 and 50

1шт.

49

H434163

DUST CAP

Coupler

1шт.

51

201-412

TEE,13/16" - 16 ORFS x 13/16" - 16 ORFS x 3/4" - 16 ORB

13/16-16 face branch x face x 3/4-16 in. adj. O-ring, Includes: Ref. 52 and 53

1шт.

52

237-6008

O-RING,0.087" Thk x 0.644" ID, -908, Cl 6, 90 Duro

1шт.

53

238-6014

O-RING,0.07" Thk x 0.489" ID, -14, Cl 6, 90 Duro

2шт.

41

237-6006

O-RING,0.078" Thk x 0.468" ID, -906, Cl 6, 90 Duro

1шт.

50

237-6006

O-RING,0.078" Thk x 0.468" ID, -906, Cl 6, 90 Duro

1шт.

Выбрано товаров: 58