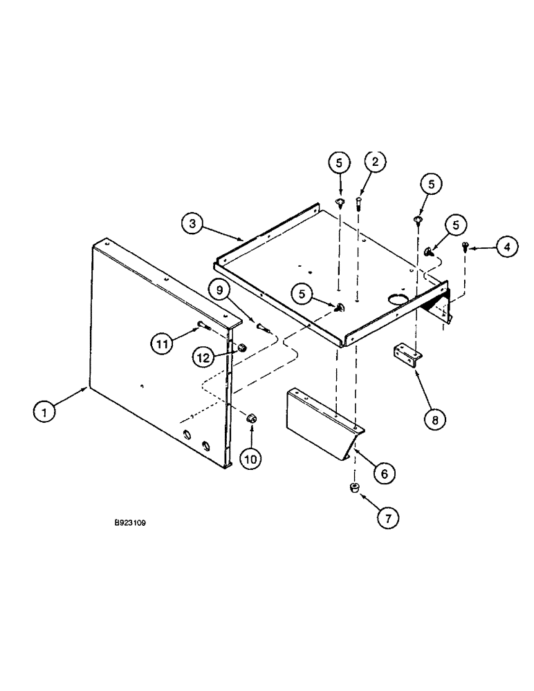
Запчасти Case IH 1666 (9G-24) - SEAT, SUPPORTS (10) - CAB & AIR CONDITIONING

Схема запчастей Case IH 1666 - (9G-24) - SEAT, SUPPORTS (10) - CAB & AIR CONDITIONING
2
8
5
7
5
3
12
10
1
11
4
9
5
5
6
FIT
1:1
100%

Артикул

Название

Примечание

Количество

1

91757C2

PANEL ASSY.

center, rear

1шт.

2

1330152C1

SCREW,Sl Serr Truss Hd, 5/16" - 18 x 3/4"

2шт.

3

1979504C1

SUPPORT ASSY.

seat

1шт.

4

280-13712

SELF-TAP SCREW,Hex Wash Hd, 1/4" x 3/4"

self tapping, hex washer head, 1/4-14 x 3/4 inch

4шт.

5

143306C1

SELF-TAP SCREW,Cross Pan Hd, #10 x 1/2"

pan head, cross slotted No. 10-16 x 3/4 inch, polyseal

12шт.

6

91695C1

CHANNEL

center

1шт.

7

231-5145

SERRATED NUT,Flg, USR, 5/16"-18

2шт.

8

91703C2

BRACKET

ANGLE reservoir

1шт.

9

1330152C1

SCREW,Sl Serr Truss Hd, 5/16" - 18 x 3/4"

7шт.

10

1330064C1

FLANGE NUT

hex flange, self locking, polyseal 5/16 inch NC

7шт.

11

477-73812

SERRATED SCREW,Truss HD, 3/8" - 16 x 3/4"

slotted truss head, special, 3/8 NC x 3/4 inch

1шт.

12

231-5146

FLANGE NUT,3/8"-16

1шт.

13

199953C1

SELF-TAP SCREW,HWH, 5/16" - 18 x 13/16"

Not Shown

1шт.

Выбрано товаров: 13