Запчасти Case IH 1666 (9B-38) - CHAFFER DRIVE HANGER LEVER AND SUPPORT (14) - ROTOR, CONCANVES & SIEVE

Схема запчастей Case IH 1666 - (9B-38) - CHAFFER DRIVE HANGER LEVER AND SUPPORT (14) - ROTOR, CONCANVES & SIEVE
8
9
14
17
3
1
27
10
10
24
9
16
18
6
23
2
4
5
7
26
20
29
10
28
5
15
19
11
16
17
9
25
FIT
1:1
100%

Артикул

Название

Примечание

Количество

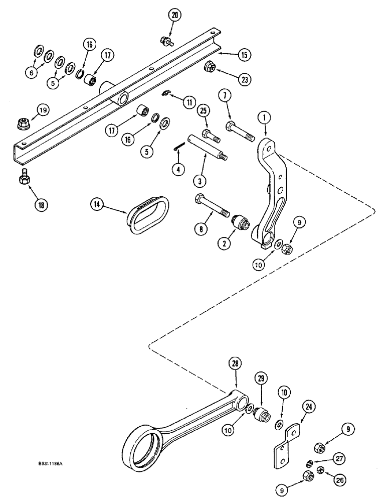
1

1957467C2

LEVER

chaffer drive hanger, Serial Range: -JJC0106005

2шт.

1

1957467C3

LEVER

chaffer drive hanger, Start Serial: JJC0106005

2шт.

2

1330323C2

BUSHING

chaffer drive hanger arm, 5/8 x 1-1/2 x 2-57/64 in.

1шт.

3

1979251C1

SHAFT

hanger arm

1шт.

4

432-1228

COTTER PIN,3/16" x 1 3/4"

2шт.

5

495-81057

WASHER,23.01mm ID x 38.1mm OD x 3.4mm Thk

flat, 29/32 x 1-1/2 x 7/64 in.

6шт.

6

495-81056

WASHER,29/32" x 1 1/2" x 3/64

flat, 29/32 x 1-1/2 x 3/64 in.

4шт.

7

426-1072

BOLT,Hex, 5/8" - 11 x 4-1/2", Gr 8

Used with 1957462C1 pitman stabilizer bar

2шт.

7

326-1076

BOLT,Hex, 5/8" - 11 x 4-3/4", Gr 8

Used with 131198A1 Pitman stabilizer bar

2шт.

8

426-1084

BOLT,Hex, 5/8" - 11 x 5-1/4", Gr 8

BOLT hex, 5/8 NC x 5-1/4 in., grade 8

2шт.

9

232-41110

NUT,5/8"-11, GC

6шт.

10

169256C2

WASHER,16.28mm ID x 31.8mm OD x 3.05mm Thk

flat, special, 41/64 x 1-1/4 x 1/8 in.

6шт.

11

219-90

LUBE NIPPLE,45 Degree Elbow, 1/4" -28 NPTF

grease, 45 deg., 1/4-28 special taper x 13/16 in.

2шт.

14

1302644C2

SEAL

chaffer rail, front pivot

2шт.

15

186651C91

SUPPORT ASSY.

front hanger, Includes: Ref. 16 and 17

2шт.

16

372756R91

OIL SEAL,20.45mm ID x 28.68mm OD x 3.17mm Thk

support bearing, hanger support

2шт.

17

G10642

NEEDLE BEARING,Needle, 22.23mm ID x 28.57mm OD x 19.05mm W

neddle, front hanger support

2шт.

18

413-816

BOLT,Hex, 1/2" - 13 x 1", Gr 5

12шт.

19

231-5148

FLANGE NUT,Flg, USR, 1/2"-13

12шт.

20

409-7512

BOLT,Hex Flg, 5/16" - 18 x 3/4", Spcl

2шт.

23

231-5145

SERRATED NUT,Flg, USR, 5/16"-18

2шт.

24

1957462C1

BAR

pitman stabilizer, Serial Range: -JJC0106005

2шт.

24

131198A1

BRACKET

pitman stabilizer, Start Serial: JJC0106005

2шт.

25

413-828

BOLT,Hex, 1/2" - 13 x 1-3/4", Gr 5

2шт.

26

425-108

NUT,1/2" - 13, Gr 5

2шт.

27

80679

LOCK WASHER,1/20.507 CST ZND

2шт.

28

1989251C1

ARM

PITMAN, shaker shaft, Includes: Ref. 29

2шт.

29

1979383C1

BUSHING

chaffer drive hanger arm

1шт.

Выбрано товаров: 28