Запчасти Case IH 1666 (9D-24) - TAILINGS AUGER TROUGH (16) - GRAIN ELEVATORS & AUGERS

Схема запчастей Case IH 1666 - (9D-24) - TAILINGS AUGER TROUGH (16) - GRAIN ELEVATORS & AUGERS
27
28
10
29
30
11
21
15
6
30
16
32
3
22
23
25
31
2
33
9
22
14
1
24
25a
8
13
33
12
19
19
17
30
30
20
30
5
26
4
30
16
35
23
34
18
24
7
FIT
1:1
100%

Артикул

Название

Примечание

Количество

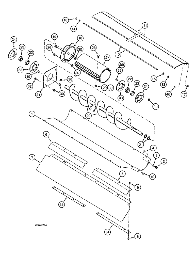
1

1346956C1

TROUGH

auger

1шт.

2

409-7512

BOLT,Hex Flg, 5/16" - 18 x 3/4", Spcl

6шт.

2

477-73112

SERRATED SCREW,Sl Truss Hd, 5/16" - 18 x 3/4"

7шт.

3

495-11034

WASHER,5/16", SAE

(flat, 11/32 x 11/16 x 1/16")

2шт.

4

231-5145

SERRATED NUT,Flg, USR, 5/16"-18

15шт.

5

1347436C1

ANGLE BAR

RETAINER rear chaffer seal, left hand (upper)

1шт.

6

1347437C1

ANGLE BAR

RETAINER rear chaffer seal, right hand

1шт.

7

1346999C1

RUBBER SEAL,3.05mm Thk

chaffer, rear cross

1шт.

8

413-512

BOLT,Hex, 5/16" - 18 x 3/4", Gr 5

8шт.

9

232-4115

LOCK NUT,5/16"-18, GC

8шт.

10

199953C1

SELF-TAP SCREW,HWH, 5/16" - 18 x 13/16"

4шт.

11

185195C1

DOOR

trough cover

1шт.

12

185198C1

ROD

door auger

1шт.

13

425-105

NUT,5/16"-18, G5

1шт.

14

492-11031

LOCK WASHER,5/16"

1шт.

15

495-11034

WASHER,5/16", SAE

(flat, 11/32 x 11/16 x 1/16")

1шт.

16

231-5315

FLANGE NUT,Flg, 5/16"-18

10шт.

17

413-512

BOLT,Hex, 5/16" - 18 x 3/4", Gr 5

9шт.

18

160324C2

FLANGE

mounting auger cover

1шт.

19

477-73108

SERRATED SCREW,Sl Truss Hd, 5/16" - 18 x 1/2"

slotted truss head, 5/16 NC x 1/2 inch

5шт.

20

191734C1

AUGER

tailings

1шт.

21

495-81065

WASHER,26.19mm ID x 31.75mm OD x 1.7mm Thk

flat, 1-1/32 x 1-1/4 x 3/64 inch

1шт.

22

482303R92

BALL BEARING,1.0005" ID x 52 mm OD x 0.84375"

ball, auger

2шт.

23

455102R21

COLLAR

locking, bearing, includes set screw

2шт.

24

180383C91

FLANGED BEARING,3.75" OD x 0.4062"

bearing

2шт.

25

477-73112

SERRATED SCREW,Sl Truss Hd, 5/16" - 18 x 3/4"

6шт.

25a

126435A1

SERRATED SCREW,Sl Truss Hd, 5/16" - 18 x 2"

1шт.

26

199953C1

SELF-TAP SCREW,HWH, 5/16" - 18 x 13/16"

2шт.

27

192693C1

CLAMP

extension, non perforated

1шт.

27

195078C1

SCREEN

extension, perforated

1шт.

28

424-516

BOLT,Hex, 5/16" - 18 x 1", Gr 2

BOLT hex, 5/16 NC x 1 inch, grade 2

2шт.

28

477-73116

SERRATED SCREW,Truss HD, 5/16" - 18 x 1"

slotted truss head, 5/16 NC x 1 inch

2шт.

29

232-4115

LOCK NUT,5/16"-18, GC

2шт.

30

231-5145

SERRATED NUT,Flg, USR, 5/16"-18

10шт.

31

192357C2

BAR

PLATE bearing support

1шт.

32

199953C1

SELF-TAP SCREW,HWH, 5/16" - 18 x 13/16"

1шт.

33

937517R1

FLANGE

bearing

2шт.

34

1338343C1

RETAINER

rear chaffer seal, lower left hand

1шт.

35

1338344C1

RETAINER

rear chaffer seal, lower right hand

1шт.

Выбрано товаров: 39