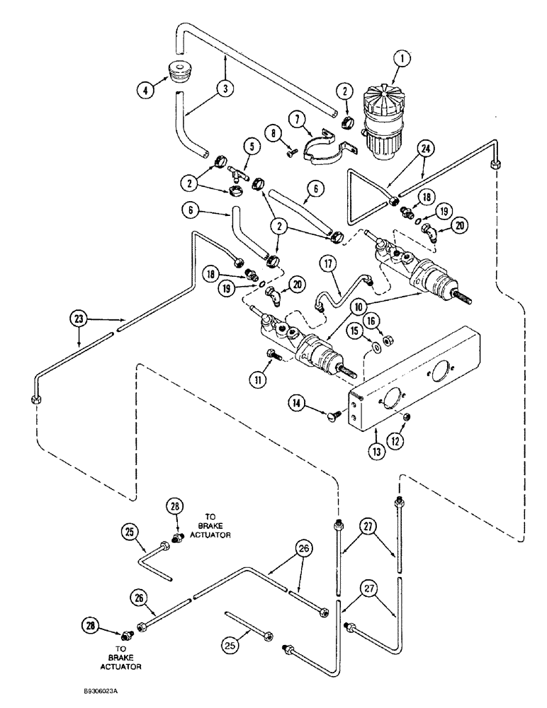
Запчасти Case IH 1666 (7-08) - MASTER BRAKE CYLINDERS RESERVOIR, CONNECTIONS AND MOUNTING (5.1) - BRAKES

Схема запчастей Case IH 1666 - (7-08) - MASTER BRAKE CYLINDERS RESERVOIR, CONNECTIONS AND MOUNTING (5.1) - BRAKES
2
18
2
24
25
20
26
28
8
27
18
13
15
19
19
25
23
3
12
10
6
5
6
27
14
1
16
26
4
11
28
2
20
7
17
FIT
1:1
100%

Артикул

Название

Примечание

Количество

1

1281890C2

RESERVOIR

brake fluid

1шт.

2

214-1704

HOSE CLAMP,#04, 0.25" - 0.62", Type M Worm

Adjustable

6шт.

3

1281889C1

HYDRAULIC HOSE,6.35 mm ID x 610.00 mm

Return

1шт.

4

198824C1

GROMMET,12.7mm ID x 41.1mm OD x 26.9mm Thk

rubber brake hose

1шт.

5

1285312C1

TEE

FITTING, stem, Y type

1шт.

6

1281888C1

HYDRAULIC HOSE,6.35 mm ID x 150.00 mm

Return

2шт.

7

1281891C1

CLAMP

reservoir mounting, brake fluid

1шт.

8

260-1458

SELF-TAP SCREW,Cross Pan Hd, #10 x 1/2"

2шт.

10

REF

INSTRUCTION

CYLINDER master, see parts list Fig. 7-10

2шт.

11

409-7516

BOLT,Hex Flg, 5/16" - 18 x 1", Spcl

4шт.

12

231-5145

SERRATED NUT,Flg, USR, 5/16"-18

4шт.

13

1327561C2

SUPPORT

master brake cylinder

1шт.

14

477-73812

SERRATED SCREW,Truss HD, 3/8" - 16 x 3/4"

slotted truss head, special, 3/8 NC x 3/4 in.

3шт.

14

477-73820

SERRATED SCREW,Truss HD, 3/8" - 16 x 1-1/4"

slotted truss head, special, 3/8 NC x 1-1/4 in.

1шт.

15

495-11041

WASHER,0.406" ID x 0.812" OD x 0.065" W

Flat, (13/32 x 13/16 x 1/16")

1шт.

16

231-5146

FLANGE NUT,3/8"-16

5шт.

17

1281885C1

PIPE

TUBE equalizer

1шт.

18

1546436C1

FITTING

ADAPTER straight, 7/16 - 20 in. flare x O-ring boss, purchase O-ring separately

2шт.

19

237-3004

O-RING,0.351" ID x 0.072" Width

2шт.

20

218-5228

ELBOW,90 Degree, 7/16"-20, 37 Degree x 7/16"-20, 37 Degree Fem Sw

ELBOW, 90 deg., 7/16 - 20 in. flare x swivel

2шт.

23

1321476C2

HYD TUBE

TUBE, brake, upper right hand

1шт.

24

1321475C2

HYD TUBE

TUBE, brake, upper left hand

1шт.

25

1321514C1

HYD TUBE,0.25" OD, 435, 70 mm Length

TUBE, brake, lower right hand

1шт.

26

1321513C1

HYD TUBE,0.25" OD, 450, 435 mm Length

TUBE, brake, lower left hand

1шт.

27

1321511C2

HYD TUBE

TUBE, brake, center

2шт.

28

218-441

HYD CONNECTOR,7/16" - 20 Male JIC x 1/8" - 27 Male NPTF

straight, 7/16 - 20 flare x 1/8 in. PT

2шт.

Выбрано товаров: 26