Запчасти Case IH 1666 (2-30) - CYLINDER HEAD AND VALVE MECHANISM, 6T-830 ENGINE (01) - ENGINE

Схема запчастей Case IH 1666 - (2-30) - CYLINDER HEAD AND VALVE MECHANISM, 6T-830 ENGINE (01) - ENGINE
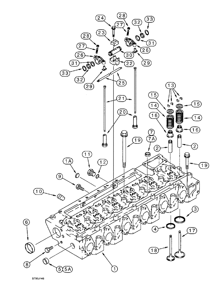
17
6
4
27
19
29
31
5a
14
16
33
14
1
30
28
18
9
13
32
11
16
22
19
28
1a
29
27
10
26
24
25
23
20
7a
31
26
15
5
2
7
15
3
12
8
2
33
21
32
FIT
1:1
100%

Артикул

Название

Примечание

Количество

JR928669

REMAN-CYLINDER HEAD

ASSEMBLY with valves, remanufactured, North America only, component parts shown on this Fig. do not apply to the remanufactured assembly, replaces JR916464 and JR922052

1шт.

JC928669

CORE-CYLINDER HEAD

RETURN NUMBER use this part number to return head core for credit when using a remanufactured assembly, replaces JC916464 and JC922052

1шт.

J922052

HEAD (CYLINDER)

ASSEMBLY new, with valves, replaces J916464, Includes: Ref. 1 thru 18

1шт.

1

J922587

HEAD (CYLINDER)

ASSEMBLY new, without valves, no longer available, for service order J922052, Includes: Ref. 1A thru 7A

1шт.

1a

J912900

PLUG

expansion, 24 mm

1шт.

2

J923564

VALVE GUIDE

valve stem, replaces J901187

12шт.

3

J924582

INSERT

INSERT intake, replaces J908830

6шт.

3

J925468

SEAT, VALVE

INSERT seat, intake valve, 0.254 mm oversize, service repair only, replaces J914839

6шт.

The oversize valve insert is not part of head assembly and must be ordered separately

1шт.

3

J925470

SEAT, VALVE

INSERT seat, intake valve, 0.508 mm oversize, service repair only

6шт.

The oversize valve insert is not part of head assembly and must be ordered separately

1шт.

4

J929005

INSERT

seat, exhaust valve, replaces J904716 and J924583

6шт.

4

J929006

INSERT

INSERT seat, exhaust valve, 0.254 mm oversize, service repair only, replaces J914836 and J925469

6шт.

The oversize valve insert is not part of head assembly and must be ordered separately

1шт.

4

J929007

INSERT

INSERT seat, exhaust valve, 0.508 mm oversize, service repair only, replaces J925471

6шт.

The oversize valve insert is not part of head assembly and must be ordered separately

1шт.

5

A77530

PLUG

expansion, 30 mm O.D., used with J916464 head assembly

1шт.

5a

J920443

PLUG

expansion, 30 mm O.D.

1шт.

6

A77782

PLUG

expansion, 58 mm O.D.

2шт.

7

A77590

PLUG

expansion, used with J916464 head assembly

5шт.

7a

41-1616

PLUG,Cup, 1", Stainless

Replaces A77539

5шт.

8

A77534

PLUG

hex, 1/16 inch PT

1шт.

9

A77428

PLUG

hex socket, 1/4 inch PT

1шт.

10

A77429

PLUG

hex socket, 1/2 inch PT

2шт.

11

J924148

PLUG,M22 x 1.5

hex magnetic, special, 22 mm - 1.5

2шт.

12

J902425

SEALING WASHER,22.2mm ID x 26.9mm OD x 1.75mm Thk

sealing, plug

2шт.

13

J901177

VALVE

KEEPER valve

24шт.

14

J906412

VALVE SPRING

12шт.

15

J912976

RETAINER

valve spring

12шт.

16

J915707

SEAL

intake and exhaust valve stem and guide

12шт.

17

J924492

STD INLET VALVE

STD ENGINE INLET VALVE

6шт.

18

J921444

STD EXHAUST VALVE

STD ENGINE EXHAUST VALVE replaces J915506

6шт.

19

J917728

BOLT

BOLT cylinder head, 160 mm long

14шт.

19

J917729

BOLT,Flng, M14 x 80mm

BOLT cylinder head, 80 mm long

12шт.

20

J925031

TAPPET

valve, push rod, replaces J907240

12шт.

21

J905194

PUSH ROD

rocker arm

12шт.

22

J905870

SUPPORT

shaft, rocker arm

6шт.

23

J901693

CLAMP

retaining, shaft

6шт.

24

868-10065

12 PT SCREW,M10 x 65mm, Cl 12.9

12шт.

25

J919677

TUBE

oil, rocker arm

1шт.

26

J901717

ROCKER

ARM ASSEMBLY, includes ref. 27, 28, and 29

12шт.

27

J937438

ADJUSTMENT SCREW,Hex Skt, 3/8" - 24 x 33mm, Adj, Ball Point

slotted set, adjusting, special

1шт.

28

425-116

NUT,3/8" - 24, Gr 5

Hex

1шт.

29

NSS

NOT SOLD SEPARAT

INSERT rocker

1шт.

30

J919435

SHAFT

rocker

6шт.

31

J906100

SPRING CUP

WASHER

12шт.

32

J907206

WASHER,22.5mm ID x 30mm OD x 1mm Thk

flat, special

12шт.

33

100-1187

SNAP RING,#87, Ext

12шт.

Выбрано товаров: 48