Запчасти Case IH 1666 (2-48) - OIL PUMP AND OIL PAN, 6T-830 ENGINE, OIL PAN HEATER KIT (01) - ENGINE

Схема запчастей Case IH 1666 - (2-48) - OIL PUMP AND OIL PAN, 6T-830 ENGINE, OIL PAN HEATER KIT (01) - ENGINE
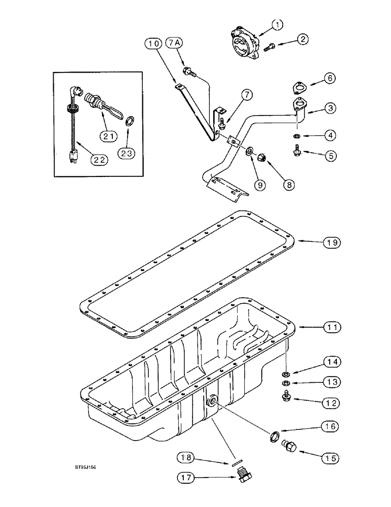
15
17
13
22
12
14
19
11
23
1
9
21
2
7
10
18
8
5
3
16
6
4
7a
FIT
1:1
100%

Артикул

Название

Примечание

Количество

JR924644

PUMP

ASSEMBLY oil, remanufactured, North America only, no longer available, order J926201, replaces JR921067

1шт.

JR926201

REMAN-ENG OIL PUMP

REMAN-ENGINE OIL PUMP North America only, 24 teeth drive gear, for service order J926201 pump assembly

1шт.

JC926201

CORE-ENGINE OIL PUMP

CORE-ENGINE OIL PUMP RETURN NUMBER use this part number to return pump core for credit when using a remanufactured assembly, replaces JC921067 and JC924644

1шт.

1

J924644

PUMP, ENGINE OIL

new, no longer available, order J926201 assembly, 24 teeth drive gear, replaces J921067

1шт.

1

J926201

PUMP, ENGINE OIL

ASSEMBLY oil, 24 teeth drive gear, replaces J921067 and J924644

1шт.

2

614-8030

BOLT,Hex, M8 x 1.25 x 30mm, Cl 8.8, Full Thd

Full Thd

4шт.

3

J921719

TUBE

with screen, oil suction

1шт.

4

J908738

SPACER

mounting

2шт.

5

845-6030

BOLT,Hvy Hex, M6 x 30mm, Cl 8.8

Heavy

2шт.

6

J914302

GASKET

mounting, oil suction tube

1шт.

Part of KIT, part number A77679

1шт.

7

845-6015

BOLT,Hvy Hex, M6 x 15mm, Cl 8.8

Heavy

2шт.

7a

845-6020

BOLT,Hvy Hex, M6 x 20mm, Cl 8.8

1шт.

8

J906216

FLANGE NUT

hex flange, special, 6 mm - 1.0

1шт.

9

J910960

WASHER

flat, special

1шт.

10

J913427

BRACE

suction tube

1шт.

11

J914015

ENGINE OIL PAN

oil, engine

1шт.

12

J920400

FLANGE BOLT,Hex, M8 x 1.25 x 21mm, Gr 8.8

Oil pan to block, Rplaces J907860

32шт.

13

J910266

LOCK WASHER

spring, Belleville

32шт.

14

J908316

WASHER

flat, special, 9 x 16 x 1 mm

32шт.

15

J924148

PLUG,M22 x 1.5

hex magnetic, special, 22 mm - 1.5, heater hole, replaces J904386

1шт.

16

J902425

SEALING WASHER,22.2mm ID x 26.9mm OD x 1.75mm Thk

sealing, plug

1шт.

Part of KIT, part number A77679

1шт.

17

J924147

PLUG,M18 x 1.5

hex magnetic, special, 18 mm - 1.5, drain, replaces J911638

1шт.

18

J920773

SEALING WASHER

WASHER sealing, drain plug

1шт.

Part of KIT, part number A77679

1шт.

19

NSS

NOT SOLD SEPARAT

GASKET oil pan, order A77679 gasket kit shown in this Figure

1шт.

Part of KIT, part number A77679

1шт.

A77679

GASKET KIT

oil pan, Includes: Refs. 6, 16, 18, and 19

1шт.

A77580

SERVICE KIT

oil pan heater, engine, Includes: Ref. 21 and 22

1шт.

21

NSS

NOT SOLD SEPARAT

ELEMENT heater, 12 volt, oil pan heater kit

1шт.

22

J905113

CABLE

engine block heater, 6 feet long, oil pan heater kit

1шт.

23

J902425

SEALING WASHER,22.2mm ID x 26.9mm OD x 1.75mm Thk

sealing, plug, oil pan heater kit

1шт.

When engine oil heater kit is ordered, Ref. 23, J902425 washer, must be ordered also

1шт.

Выбрано товаров: 34