Запчасти Case IH 1666 (3-14) - FUEL TANK AND SUPPPORTS (02) - FUEL SYSTEM

Схема запчастей Case IH 1666 - (3-14) - FUEL TANK AND SUPPPORTS (02) - FUEL SYSTEM
4
8
14
12
14
4
14
13
9
15
6
12
3
12
11
13
13
15
3
16
11
17
1a
17
13
12
10
16
5
17
5
10
16
2
9
7
14
1
FIT
1:1
100%

Артикул

Название

Примечание

Количество

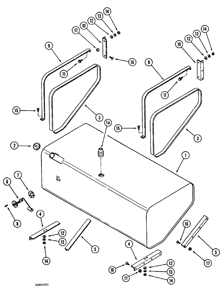
1

193550C95

FUEL TANK

ASSEMBLY 92-1/2 gallons, without plug, replaced by 197681A2

1шт.

1

197681A2

FUEL TANK

ASSEMBLY fuel, with 217-87 plug, replaces 197681A1 and 193550C95

1шт.

1a

217-87

PLUG,Hex Hd, 3/8"-18 NPTF, Brass

Includes Ref. 2

1шт.

2

104781C1

CAP

fuel tank, non vented

1шт.

3

1308798C1

STRIP

lining, 72 inch (1829 mm) long, cut for 990541R1 bulk strip, fuel tank support, see this Figure

2шт.

4

192381C3

SUPPORT

lower support, fuel tank bottom

2шт.

5

1302029C1

SUPPORT

front support, fuel tank forward

2шт.

6

198024C1

FUEL GAUGE

SENSOR fuel level, fuel tank sending unit

1шт.

7

168515C1

GASKET,3.05mm Thk

fuel tank sending unit

1шт.

8

1310675C1

CAPTIVE WASHER SCREW,Sl Truss Hd, #10 - 24 x 0.75"

Sending Unit Mounting

5шт.

9

1302031C1

STRAP

SUPPORT fuel tank retainer

2шт.

10

1302030C1

ANGLE

front, fuel tank

2шт.

11

535789R1

BOLT,Hex Serr, 5/16" - 18 x 1 1/4"

BOLT hex flange, 5/16 NC x 1-1/4 inch

2шт.

12

495-81112

WASHER,.344" x 3/4" x .120"

flat, 11/32 x 3/4 x 7/64 inch

4шт.

13

492-11031

LOCK WASHER,5/16"

4шт.

14

425-105

NUT,5/16"-18, G5

4шт.

15

413-516

BOLT,Hex, 5/16" - 18 x 1", Gr 5

2шт.

16

135270

SERRATED SCREW,5/16" - 18 x 3/4"

slotted truss head, 5/16 NC x 3/4 inch

23шт.

17

231-5145

SERRATED NUT,Flg, USR, 5/16"-18

23шт.

990541R1

FIXING STRIP

bulk, lining, 1-1/4 (32) wide x 600 inch (15240 mm) long

1шт.

Выбрано товаров: 20