Запчасти Case IH 1680 (6-76) - DUAL WHEEL AXLE EXTENSION (03) - POWER TRAIN

Схема запчастей Case IH 1680 - (6-76) - DUAL WHEEL AXLE EXTENSION (03) - POWER TRAIN
4
3
10
8
2
8
6
6
7
9
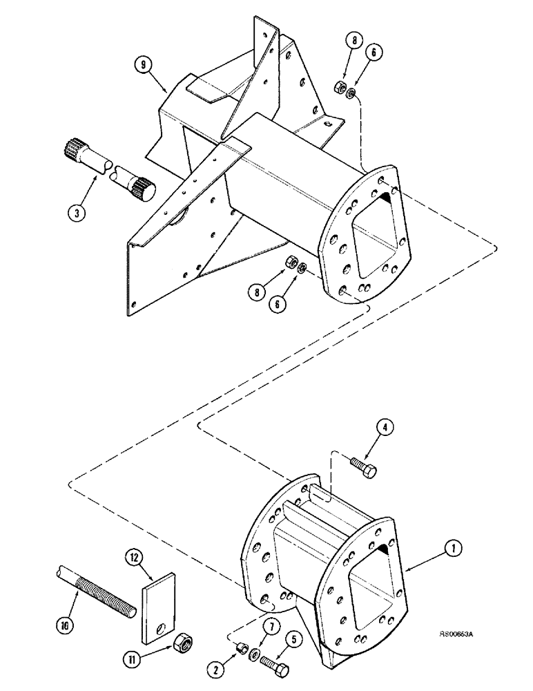
1
12
5
11
FIT
1:1
100%

Артикул

Название

Примечание

Количество

1

184353C2

EXTENSION ASSY.

EXTENSION - drive axle

2шт.

2

163909C1

BUSHING,19.15mm ID x 28.57mm OD x 12.7mm L

- tapered

8шт.

3

184374C2

SHAFT

- final drive

2шт.

4

426-1236

BOLT,Hex, 3/4" - 10 x 2-1/4", Gr 8

- hex, 3/4 NC x 2-1/4 inch, grade 8

12шт.

5

426-1240

BOLT,Hex, 3/4" - 10 x 2-1/2", Gr 8

- hex, 3/4 NC x 2-1/2 inch, grade 8

4шт.

6

492-11075

LOCK WASHER,3/4"

3/4"

16шт.

7

496-21081

WASHER,13/16" x 1 1/2" x .179", HDN

8шт.

8

429-1012

NUT,3/4"-10, G8

- hex, 3/4 inch NC, grade 8

16шт.

9

REF

INSTRUCTION

AXLE - drive, See Figure 6-72

1шт.

10

184358C1

ROD

- reinforcement, extension

1шт.

11

232-41320

LOCK NUT,1 1/4"-7, GC

NUT, LOCK, 1 1/4"-7, GC

4шт.

12

184356C1

SUPPORT

- axle reinforcement rod

1шт.

Выбрано товаров: 12