Запчасти Case IH 1680 (5-20) - STEERING TIE ROD, 92 TO 120 INCH ADJUSTABLE AXLE (04) - STEERING

Схема запчастей Case IH 1680 - (5-20) - STEERING TIE ROD, 92 TO 120 INCH ADJUSTABLE AXLE (04) - STEERING
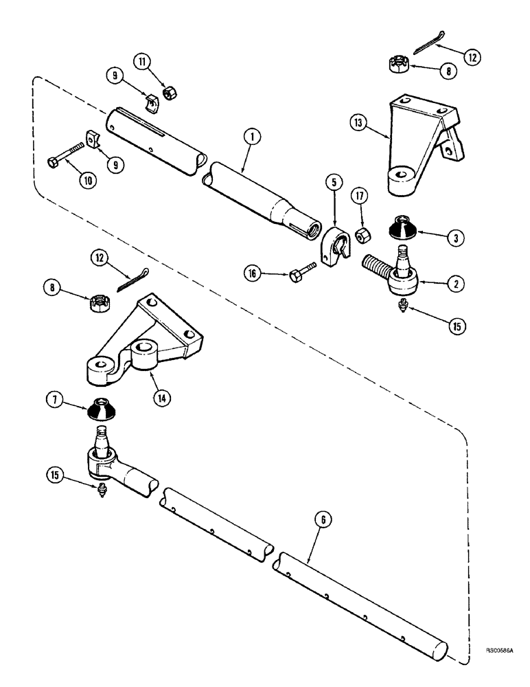
17
12
8
7
15
11
5
1
16
9
6
9
3
14
12
13
15
10
8
2
FIT
1:1
100%

Артикул

Название

Примечание

Количество

186139C91

DRAG LINK

ROD ASSEMBLY - tie, Includes: Ref. 1 - 9

1шт.

1

180801C1

TUBE

- tie rod

1шт.

2

A43376

JOINT

END ASSEMBLY - tie rod, right-hand, Includes: Ref. 3 & 4

1шт.

3

A31186

BOOT

SEAL - dust, tie rod end

1шт.

4

358901R1

SLOTTED NUT

- hex slotted, 5/8 inch NF

1шт.

5

446308C91

CLAMP

ASSEMBLY - steering cylinder end

1шт.

5

1319476C91

CLAMP

- tie rod, 1-1/2 inch

1шт.

6

180799C91

TIE-ROD

END ASSEMBLY - tie rod, left-hand, Includes: Ref. 7 & 8

1шт.

7

A31186

BOOT

SEAL - dust, tie rod end

1шт.

8

358901R1

SLOTTED NUT

- hex slotted, 5/8 inch NF

1шт.

9

A43369

CLAMP

- retaining

1шт.

10

328-648

BOLT,Hex, 3/8" - 24 x 3", Gr 8

2шт.

12

432-824

COTTER PIN,1/8" x 1 1/2"

PIN, SPLIT (COTTER), 1/8" x 1-1/2"

2шт.

13

186639C1

LEVER

ARM - steering, right-hand, See Figure 5-14

1шт.

14

186641C1

LEVER

ARM - steering, left-hand, See Figure 5-14

1шт.

15

219-1

LUBE NIPPLE,1/8" - 27 NPTF

FITTING - grease, straight, 1/8 PT x 21/32 inch

2шт.

16

413-730

BOLT,Hex, 7/16" - 14 x 1-7/8", Gr 5

- hex, 7/16 NC x 1-7/8 inch

1шт.

17

231-4117

LOCK NUT,7/16"-14, GB

NUT - hex, self-locking, 7/16 inch NC

1шт.

11

232-4636

LOCK NUT,3/8"-24, GC

NUT, LOCK, 3/8"-24, GC

2шт.

Выбрано товаров: 0