Запчасти Case IH 1680 (5-44) - POSITRACTION VALVE MOUNTING, POWER GUIDE AXLE, PRIOR TO PIN JJC0044001 (04) - STEERING

Схема запчастей Case IH 1680 - (5-44) - POSITRACTION VALVE MOUNTING, POWER GUIDE AXLE, PRIOR TO PIN JJC0044001 (04) - STEERING
9
10
2
8
8
4
9
3
7
5
6
6
11
1
FIT
1:1
100%

Артикул

Название

Примечание

Количество

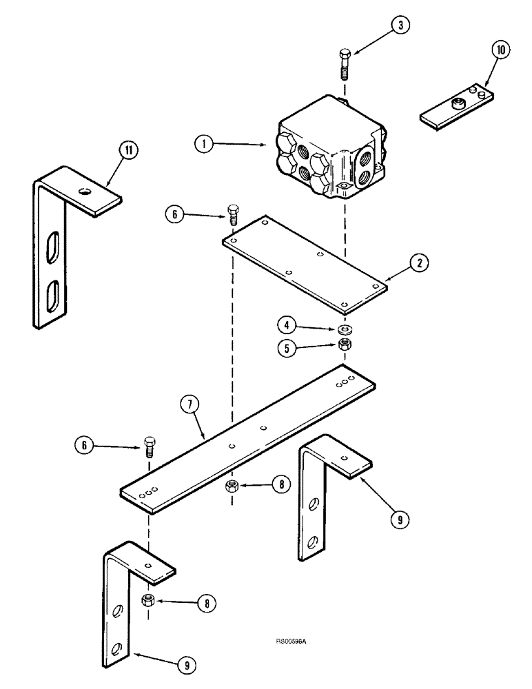
1

1324466C91

VALVE

- positraction

1шт.

2

1324454C3

BAR

PLATE - mounting

1шт.

3

326-524

BOLT,Hex, 5/16" - 18 x 1-1/2", Gr 8

2шт.

4

28588R1

WASHER

- flat, 11/32 x 11/16 x 3/64 inch

2шт.

5

232-4115

LOCK NUT,5/16"-18, GC

NUT, LOCK, 5/16"-18, GC

2шт.

6

326-616

BOLT,Hex, 3/8" - 16 x 1", Gr 8

4шт.

7

1324455C2

PLATE

- mounting

1шт.

8

231-4116

NUT,3/8"-16, GB

NUT - hex, self-locking, 3/8 inch NC

4шт.

9

1324471C1

BRACKET

SUPPORT - bracket

2шт.

10

1324474C1

PLATE

- hose clamp support

2шт.

11

1324472C1

BRACKET

SUPPORT - bracket

2шт.

Выбрано товаров: 11