Запчасти Case IH 1680 (5-62) - SELECTOR VALVE MOUNTING, POWER GUIDE AXLE, P.I.N. JJC0044001 AND AFTER (04) - STEERING

Схема запчастей Case IH 1680 - (5-62) - SELECTOR VALVE MOUNTING, POWER GUIDE AXLE, P.I.N. JJC0044001 AND AFTER (04) - STEERING
8
2
7
1
5
8
6
6
4
3
FIT
1:1
100%

Артикул

Название

Примечание

Количество

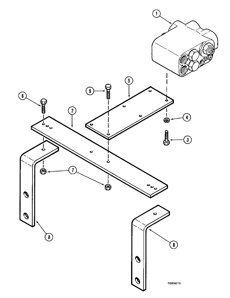
1

1978000C1

VALVE

ASSEMBLY - selector, parts list Figure 5-72

1шт.

2

1324455C2

PLATE

- mounting

1шт.

3

426-624

BOLT,Hex, 3/8" - 16 x 1-1/2", Gr 8

2шт.

4

492-11038

LOCK WASHER,3/8"

2шт.

5

1324454C3

BAR

PLATE - mounting

1шт.

6

426-624

BOLT,Hex, 3/8" - 16 x 1-1/2", Gr 8

4шт.

7

231-4116

NUT,3/8"-16, GB

NUT - hex, self-locking, 3/8 inch NC

4шт.

8

1324471C1

BRACKET

SUPPORT - bracket

2шт.

Выбрано товаров: 8