Запчасти Case IH 1680 (4-36) - WARNING LAMP, FRONT AND REAR (06) - ELECTRICAL

Схема запчастей Case IH 1680 - (4-36) - WARNING LAMP, FRONT AND REAR (06) - ELECTRICAL
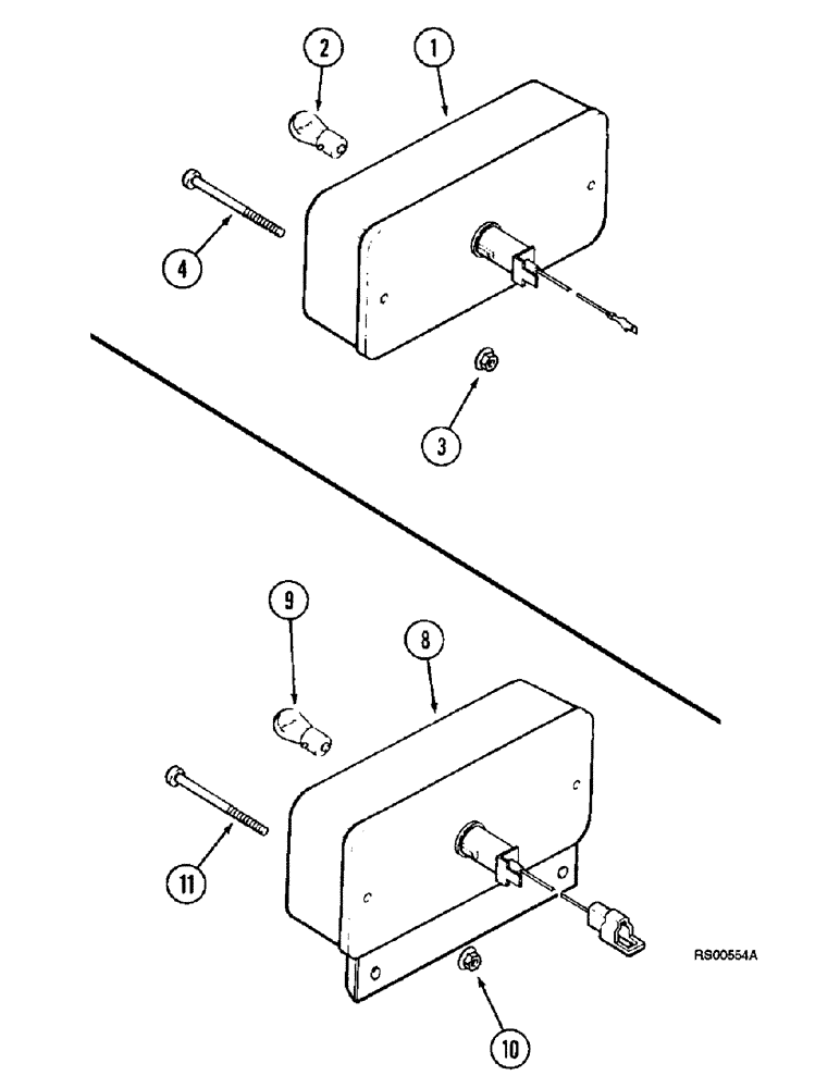
8
11
4
10
1
3
2
9
FIT
1:1
100%

Артикул

Название

Примечание

Количество

130882C91

LAMP

LAMP ASSEMBLY - warning, amber, Includes: Ref. 1 - 4

4шт.

1

130883C1

LENS

- amber

1шт.

2

A41264

BULB,#1156, 12V

Lamp #1156, 12V

1шт.

3

231-51409

SERRATED NUT,Flg, USR, #10-24

2шт.

4

440-11036

SCREW,Cross Pan Hd, #10-24 x 2 1/4"

- machine, pan Phillips, No. 10 NC x 2-1/4 inch

2шт.

216044C92

LAMP

ASSEMBLY - stop and tail, Includes: Ref. 8 - 11

2шт.

8

216045C1

LENS

- red, stop and tail lamps

1шт.

9

T34857

BULB,C6, #1157, 12.8V

- lamp, No. 1157, stop and tail lamps

1шт.

10

231-51409

SERRATED NUT,Flg, USR, #10-24

Stop and tail lamps Flg, USR, #10-24

2шт.

11

440-11036

SCREW,Cross Pan Hd, #10-24 x 2 1/4"

- machine, pan Phillips, No. 10 NC x 2-1/4 inch, stop and tail lamps

2шт.

Выбрано товаров: 10