Запчасти Case IH 1680 (8-04) - HYDRAULIC RESERVOIR DRAIN (07) - HYDRAULICS

Схема запчастей Case IH 1680 - (8-04) - HYDRAULIC RESERVOIR DRAIN (07) - HYDRAULICS
10
8
4
2
6
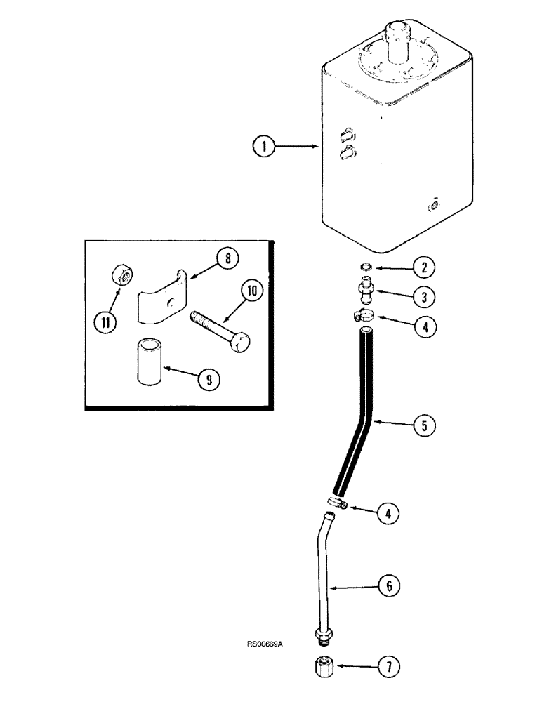
1
4
11
9
3
5
7
FIT
1:1
100%

Артикул

Название

Примечание

Количество

1

1301237C92

RESERVOIR

ASSEMBLY - hydraulic oil, parts list Figure 8-02

1шт.

2

237-6008

O-RING,0.087" Thk x 0.644" ID, -908, Cl 6, 90 Duro

8-1, 90 Duro, .644" ID x .087" Thk

1шт.

3

196816C1

FITTING

ADAPTER - barb stem

1шт.

4

214-1412

HOSE CLAMP,#12, 0.69" - 1.25", Type F Worm

CLAMP, HOSE, #12, 0.69/1.25 Type F Worm

2шт.

5

NSS

NOT SOLD SEPARAT

HOSE - 178 mm (7 inch) long, cut from S118576X bulk hose, see below

1шт.

6

187822C1

HYD TUBE,5/8" OD, 14, 1.2" Length

TUBE - drain

1шт.

7

218-756

CAP,37 Degree, 7/8"-14

1шт.

8

165601C1

CLAMP

- reservoir drain tube

1шт.

9

163492C1

RUBBER INSULATOR

INSULATOR - rubber, 5/8 ID x 1-13/64 inch long

1шт.

10

413-644

BOLT,Hex, 3/8" - 16 x 2-3/4", Gr 5

- hex, 3/8 NC x 2-3/4 inch

1шт.

11

231-5146

FLANGE NUT,3/8"-16

1шт.

S118576X

LARGE HOSE,15.88mm ID x 7620mm L

HOSE - bulk, 16 (5/8) ID x 7620 mm (300 inch) long

1шт.

Выбрано товаров: 12