Запчасти Case IH 1680 (8-08) - OIL COOLER SYSTEM (07) - HYDRAULICS

Схема запчастей Case IH 1680 - (8-08) - OIL COOLER SYSTEM (07) - HYDRAULICS
14
9
6
20
11
19
2
13
14
8
6
2
9
6
13
2
16
21
12
12
6
18
4
6
6
5
7
1
13
3
14
8
17
FIT
1:1
100%

Артикул

Название

Примечание

Количество

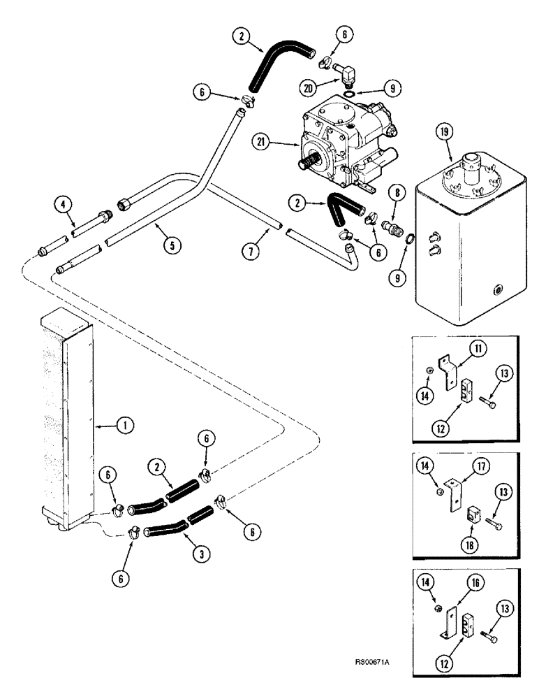
1

1265696C92

COOLER

ASSEMBLY - oil, parts list Figure 8-10

1шт.

2

NSS

NOT SOLD SEPARAT

HOSE - 457 mm (18 inch) long, cut from 364360C1 bulk hose, see below

3шт.

3

NSS

NOT SOLD SEPARAT

HOSE - 457 mm (18 inch) long, cut from S118569X bulk hose, see below

1шт.

4

183830C1

HYD TUBE

TUBE - reservoir to oil cooler

1шт.

5

183831C2

HYD TUBE,0.75" OD

TUBE - oil cooler

1шт.

6

214-1412

HOSE CLAMP,#12, 0.69" - 1.25", Type F Worm

CLAMP, HOSE, #12, 0.69/1.25 Type F Worm

8шт.

7

187804C1

HYD TUBE

TUBE - reservoir to oil cooler

1шт.

8

470420R11

FITTING

CONNECTOR - hydraulic, 1-1/16 thread x 3/4 inch barb end

1шт.

9

237-6012

O-RING,0.116" Thk x 0.924" ID, -912, Cl 6, 90 Duro

12-1, 90 Duro, .924 ID x .116" Thk

2шт.

11

196517C1

SUPPORT TUBE

SUPPORT - fuel tubes

1шт.

12

183826C1

CLAMP

- oil cooler tubes

2шт.

13

413-428

BOLT,Hex, 1/4" - 20 x 1-3/4", Gr 5

- hex, 1/4 NC x 1-3/4 inch

3шт.

14

231-5144

SERRATED NUT,Flg, USR, 1/4"-20

3шт.

16

183829C1

BRACKET

SUPPORT - oil cooler tubes

1шт.

17

187839C1

BAR

SUPPORT - cooler to reservoir tubes

1шт.

18

183823C1

CLAMP

- cooler to reservoir tube

1шт.

19

1301237C92

RESERVOIR

ASSEMBLY - hydraulic oil, parts list Figure 8-02

1шт.

20

217-351

FITTING,90 Degree Elbow, 3/4" Hose Barb x 1-1/16" - 12 Male ORB

ELBOW - 90 degree, 3/4 stem end x 1-1/16-12 inch adj O-ring boss

1шт.

21

REF

INSTRUCTION

PUMP ASSEMBLY - hydrostatic, See Figure6-22 or 6-28 for correct assembly

1шт.

364360C1

HOSE

- bulk, 19 (3/4) ID x 15240 mm (600 inch) long

1шт.

S118569X

HOSE,19.05mm ID x 7620mm L, SAE 100R4

- bulk, 16 (5/8) ID x 7620 mm (300 inch) long

1шт.

Выбрано товаров: 21