Запчасти Case IH 1680 (8-50) - HYDRAULIC REEL DRIVE COUPLING MOUNTING (07) - HYDRAULICS

Схема запчастей Case IH 1680 - (8-50) - HYDRAULIC REEL DRIVE COUPLING MOUNTING (07) - HYDRAULICS
6
13
2
14
1
5
6
7
9
10
4
8
14
3
3
FIT
1:1
100%

Артикул

Название

Примечание

Количество

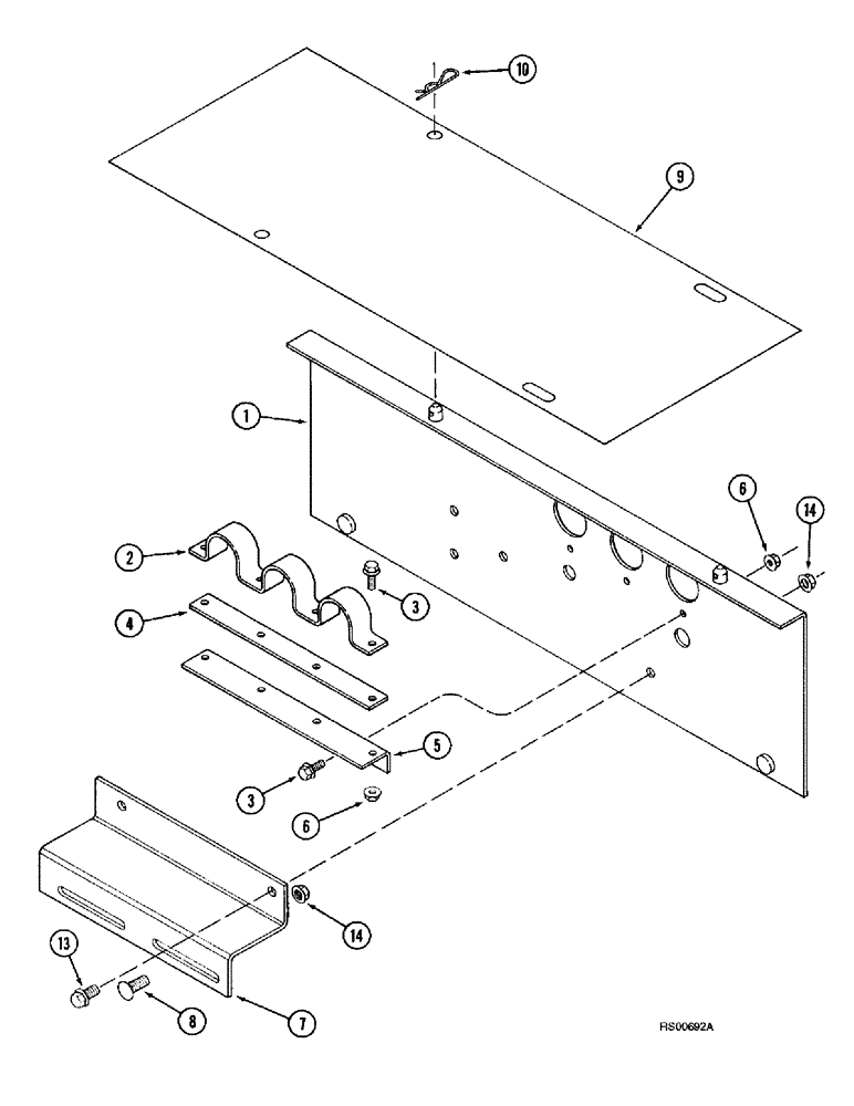
1

1321909C1

BRACKET

- coupling (54-1/2 inch feeder)

1шт.

1

1327588C1

BRACKET

- coupling (60 inch feeder)

1шт.

2

1321990C1

CLAMP

- coupling

1шт.

3

409-7412

BOLT,Hex Flg, 1/4" - 20 x 3/4", Spcl

- hex serrated flange, 1/4 NC x 3/4 inch

6шт.

4

1327582C1

PLATE

SPACER - spacer

1шт.

5

1321989C1

SUPPORT

- coupling

1шт.

6

231-5144

SERRATED NUT,Flg, USR, 1/4"-20

6шт.

7

1327585C1

SUPPORT

- coupling bracket lower

1шт.

8

434-616

CARRIAGE BOLT,Sht Sq Nk, 3/8" - 16 x 1", Gr 5

BOLT - carriage, 3/8 NC x 1 inch

2шт.

9

1322350C1

PLATE

- coupling cover (54-1/2 inch feeder)

1шт.

9

1327605C1

PLATE

- coupling cover (60 inch feeder

1шт.

10

480523R1

HAIR PIN COTTER

4шт.

13

409-7612

BOLT,3/8"-16 x 1.09" OAL

- hex serrated flange, 3/8 NC x 3/4 inch

2шт.

14

231-5146

FLANGE NUT,3/8"-16

4шт.

Выбрано товаров: 14