Запчасти Case IH 1680 (9G-14) - OPERATORS SEAT, BOSTROM, SUSPENSION SLIDER (CONTD) (10) - CAB & AIR CONDITIONING

Схема запчастей Case IH 1680 - (9G-14) - OPERATORS SEAT, BOSTROM, SUSPENSION SLIDER (CONTD) (10) - CAB & AIR CONDITIONING
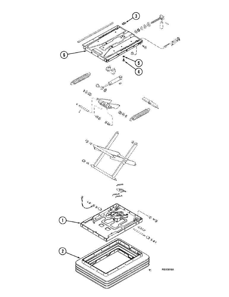
1
4
2
6
3
5
FIT
1:1
100%

Артикул

Название

Примечание

Количество

91789C91

SEAT

ASSEMBLY - operator, Includes: Ref. 1 - 6, 1 - 31 on Figure 9G-12 and 1 - 39 on Figure 9G-16

1шт.

1990651C2

SEAT

ASSEMBLY - mechanical suspension, Includes: Ref. 1 - 6

1шт.

1

NSS

NOT SOLD SEPARAT

SUSPENSION - seat

1шт.

2

NSS

NOT SOLD SEPARAT

COVER - suspension

1шт.

3

NSS

NOT SOLD SEPARAT

STOP - forward

1шт.

4

NSS

NOT SOLD SEPARAT

SCREW - stop retaining, 5 x 10 mm

1шт.

5

NSS

NOT SOLD SEPARAT

WASHER - lock, 5 mm

1шт.

6

NSS

NOT SOLD SEPARAT

SLIDER - seat

2шт.

Part of Top Seat Service Kit, P/N 1954469C1

1шт.

Part of Miscellaneous Service Kit, P/N 1954471C1

1шт.

1954469C1

KIT

- service, top, seat, Includes: ref. no. 6 on Figures 9G-12 and 9G-14

1шт.

1954471C1

KIT

- service, miscellaneous, Includes: ref. no. 6 on Figures 9G-12, 9G-14 and 9G-16

1шт.

Выбрано товаров: 12