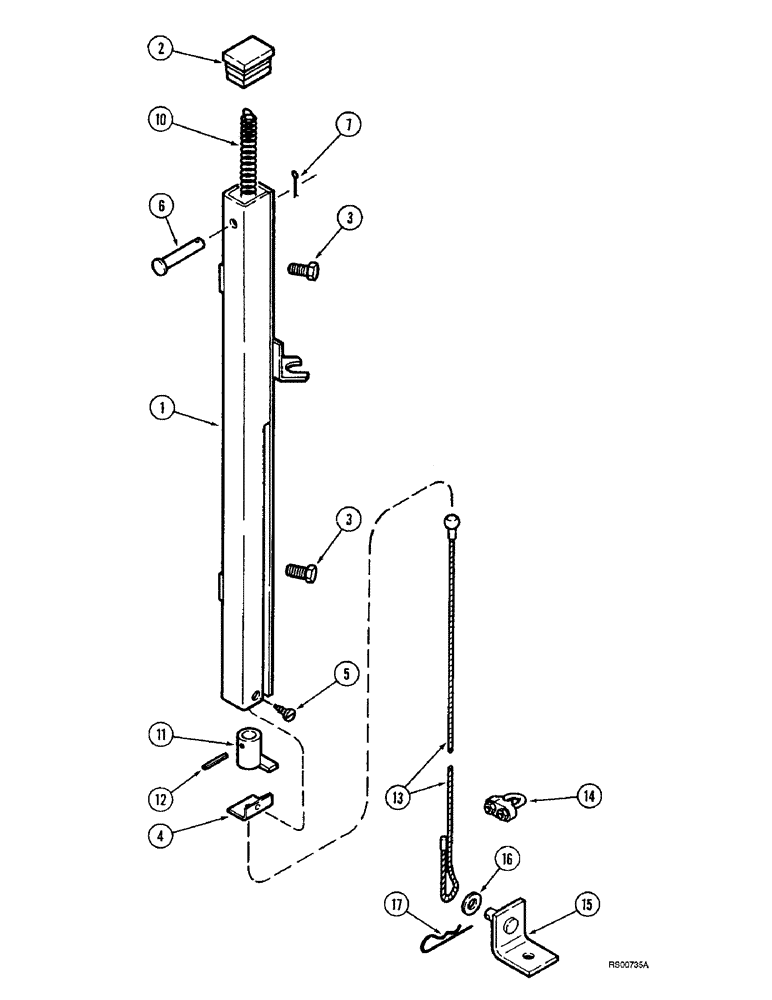
Запчасти Case IH 1680 (9A-48) - HEADER HEIGHT INDICATOR ATTACHMENT (13) - FEEDER

Схема запчастей Case IH 1680 - (9A-48) - HEADER HEIGHT INDICATOR ATTACHMENT (13) - FEEDER
3
12
11
17
7
3
16
1
15
5
4
13
2
10
14
6
FIT
1:1
100%

Артикул

Название

Примечание

Количество

1979355C1

KIT

INDICATOR ASSEMBLY - header height attachment, Includes: Ref. 1 - 17

1шт.

1

1312482C2

SUPPORT

- height indicator

1шт.

2

1312488C1

CAP

- height indicator

1шт.

3

326-512

BOLT,Hex, 5/16" - 18 x 3/4", Gr 8

2шт.

4

1312483C1

ANGLE

BRACKET - height indicator

1шт.

5

934666R1

SELF-TAP SCREW,Pan, M4.8 x 1.6 x 9.5mm

SCREW - self-tapping, pan head, 10 x 10 mm

4шт.

6

439-1428

HEADED PIN,1/4" OD x 1-3/4" OAL, Gr 2

PIN - headed, 1/4 x 1-3/4 inch, grade 2

1шт.

7

432-612

COTTER PIN,3/32" x 3/4"

PIN , SPLIT (COTTER), 3/32" x 3/4"

1шт.

10

1312489C1

SPRING

- tension

1шт.

11

1312492C1

HOOK

- indicator

1шт.

12

932265R1

LOCK PIN,M3 x 24, Slotted

1шт.

13

3168318R2

CABLE

- height indicator

1шт.

14

715945R91

CLAMP

- height cable

1шт.

15

1312485C2

SUPPORT ASSY.

SUPPORT - indicator

1шт.

16

495-81024

WASHER,17/32" x 1 1/4" x .060"

- flat, 17/32 x 1-1/4 x 1/16 inch

1шт.

17

153528C1

COTTER PIN

- hair-type

1шт.

Выбрано товаров: 16