Запчасти Case IH 1680 (9D-04) - GRAIN ELEVATOR HOUSING AND BOOT (16) - GRAIN ELEVATORS & AUGERS

Схема запчастей Case IH 1680 - (9D-04) - GRAIN ELEVATOR HOUSING AND BOOT (16) - GRAIN ELEVATORS & AUGERS
12
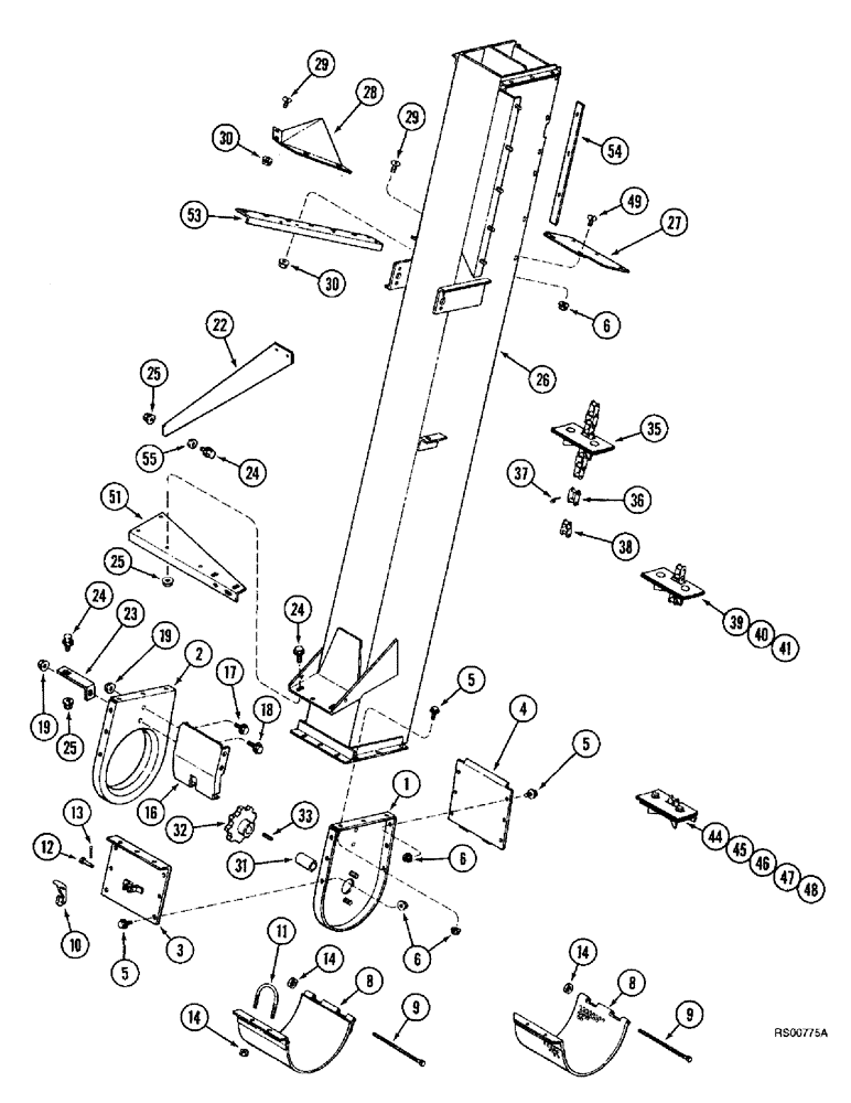
48
17
28
1
29
39
54
8
14
23
14
35
30
36
9
45
40
51
24
13
25
27
44
18
30
5
6
4
6
33
11
8
37
9
25
16
49
22
19
47
8
55
25
2
38
10
19
14
3
32
41
26
5
24
6
31
24
29
46
53
FIT
1:1
100%

Артикул

Название

Примечание

Количество

1

1318585C2

SIDE PLATE

SIDE - boot, outer

1шт.

2

1318584C2

SUPPORT

SIDE - boot, inner

1шт.

3

1317437C1

COVER

- rear, boot

1шт.

4

1317439C1

COVER

- front, boot

1шт.

5

409-7512

BOLT,Hex Flg, 5/16" - 18 x 3/4", Spcl

- hex serrated flange, 5/16 NC x 3/4 inch

1шт.

6

231-5145

SERRATED NUT,Flg, USR, 5/16"-18

NUT - hex serrated flange, 5/16 inch NC

1шт.

8

1317430C1

DOOR

- boot, non- perforated

1шт.

8

1317842C1

DOOR

- boot, perforated

1шт.

9

424-5152

BOLT,Hex, 5/16" - 18 x 9-1/2", Gr 2

- hex, 5/16 NC x 9-1/2 inch, grade 2

1шт.

10

155909C1

LATCH

- door

1шт.

11

316039R1

BOLT,5/16" - 18 x 5", Carbon Steel

U-BOLT - 5/16 inch NC

1шт.

12

439-1420

HEADED PIN,1/4" x 1 1/4"

PIN - headed, 1/4 x 1-1/4 inch, grade 2

1шт.

13

432-812

COTTER PIN,3/4" OAL x 1/8" W

PIN, SPLIT (COTTER), 1/8" x 3/4"

1шт.

14

232-4115

LOCK NUT,5/16"-18, GC

NUT, LOCK, 5/16"-18, GC

3шт.

16

1318590C1

GUARD

DEFLECTOR - grain, bottom

1шт.

17

409-7612

BOLT,3/8"-16 x 1.09" OAL

- hex serrated flange, 3/8 NC x 3/4 inch

7шт.

18

154273C1

BOLT,Hex Serr, 3/8" - 16 x 1", Spcl

- hex, self-locking, special, 3/8 NC x 1 inch

1шт.

19

231-5146

FLANGE NUT,3/8"-16

10шт.

22

1317362C5

SUPPORT

BRACKET - support, lower

1шт.

23

186729C2

SUPPORT

- elevator

1шт.

24

409-7612

BOLT,3/8"-16 x 1.09" OAL

- hex serrated flange, 3/8 NC x 3/4 inch

5шт.

25

231-5146

FLANGE NUT,3/8"-16

5шт.

26

1317456C3

HOUSING

- elevator

1шт.

27

1317694C1

PLATE

- seal

1шт.

28

1317699C1

SUPPORT

- rear seal

1шт.

29

477-73108

SERRATED SCREW,Sl Truss Hd, 5/16" - 18 x 1/2"

BOLT - serrated slotted truss head, 5/16 NC x 1/2 inch

19шт.

30

231-5145

SERRATED NUT,Flg, USR, 5/16"-18

NUT - hex serrated flange, 5/16 inch NC

19шт.

31

1317471C1

SPACER

- sprocket, 33 x 38 x 77 mm

1шт.

32

1317192C1

SPROCKET

- drive

1шт.

33

Q1443

KEY,5/16" Sq x 1 1/2", Par

- square parallel, 5/16 x 1-1/2 inch

1шт.

35

1317482C92

ELEVATOR CHAIN

CONVEYOR ASSEMBLY - elevator, Includes: Ref. 36 - 41

1шт.

36

241-15113

LINK,41.4mm Pitch

LINK - connecting, single pitch, No. C550, 1-5/8 inch pitch, Includes: Ref. 37

1шт.

37

23442R1

PIN,2.36mm OD

- roller S Type, No. 550 chain

2шт.

38

241-18113

LINK,41.4mm Pitch

LINK - offset, single pitch, No. C550, 1-5/8 inch pitch

1шт.

39

1317614C92

RUBBER FLIGHT

FLIGHT ASSEMBLY - rubber, Includes: Ref. 40 & 41

38шт.

40

1318493C2

RUBBER FLIGHT

FLIGHT - conveyor, rubber

1шт.

41

185053C1

RIVET

- 23/64 x 3/4 inch

2шт.

44

1321444C92

STEEL FLIGHT

FLIGHT ASSEMBLY - steel, Includes: Ref. 45 - 48

1шт.

45

NSS

NOT SOLD SEPARAT

FLIGHT - conveyor

1шт.

46

413-620

BOLT,Hex, 3/8" - 16 x 1-1/4", Gr 5

- hex, 3/8 NC x 1-1/4 inch

2шт.

47

495-11041

WASHER,0.406" ID x 0.812" OD x 0.065" W

(Flat, 13/32 x 13/16 x 1/16") 3/8", SAE

2шт.

48

9411655

LOCK NUT,3/8"-16, GB

NUT - hex, self-locking, 3/8 inch NC

2шт.

49

477-73112

SERRATED SCREW,Sl Truss Hd, 5/16" - 18 x 3/4"

- serrated slotted truss head, 5/16 NC x 3/4"

2шт.

50

409-7620

BOLT,Hex Flg, 3/8" - 16 x 1 1/4", Spcl

- hex serrated flange, 3/8 NC x 1-1/4 inch

2шт.

51

192223C2

BRACKET

- elevator side

1шт.

53

1317475C1

BRACKET

ANGLE - left tank bottom stiffener

1шт.

54

1321155C1

SPACER

BAR - spacer

1шт.

55

106969R1

WASHER

- flat, 11/32 x 1-1/4 x 1/16 inch

7шт.

Выбрано товаров: 0