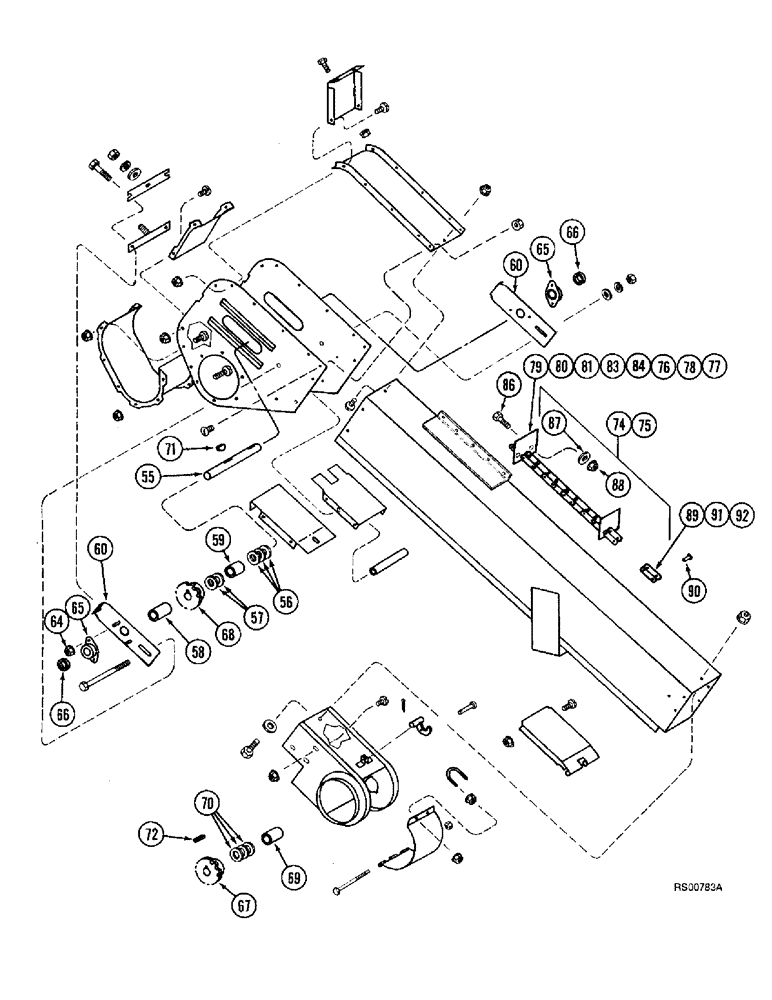
Запчасти Case IH 1680 (9D-20) - TAILINGS ELEVATOR (CONTD) (16) - GRAIN ELEVATORS & AUGERS

Схема запчастей Case IH 1680 - (9D-20) - TAILINGS ELEVATOR (CONTD) (16) - GRAIN ELEVATORS & AUGERS
64
66
58
89
90
55
87
80
71
60
91
78
60
68
56
65
88
81
67
83
86
92
66
69
74
77
76
70
75
72
59
57
79
65
84
FIT
1:1
100%

Артикул

Название

Примечание

Количество

55

191785C1

SHAFT

- head

1шт.

56

495-81065

WASHER,26.19mm ID x 31.75mm OD x 1.7mm Thk

- flat, 1-1/32 x 1-1/4 x 3/64 inch

1шт.

57

495-81073

WASHER,1-1/32" x 1-3/4" x .060" Thk

- flat, 1-1/32 x 1-3/4 x 1/16 inch

2шт.

58

516327R1

SPACER,26.6mm ID x 33.4mm OD x 69.8mm L

1шт.

59

27828R1

SPACER,26.6mm ID x 33.4mm OD x 39.7mm L

1шт.

60

181364C1

SUPPORT

- shaft

2шт.

64

231-5145

SERRATED NUT,Flg, USR, 5/16"-18

NUT - hex serrated flange, 5/16 inch NC

4шт.

65

214490C91

BALL BEARING,25.4mm ID

BEARING - ball, head shaft

2шт.

66

455102R21

COLLAR

- locking, bearing, includes set screw

2шт.

67

1302200C1

SPROCKET ASSY.

SPROCKET - conveyor chain

1шт.

68

168683C1

SPROCKET

- drive

1шт.

69

28082R1

SPACER,1 3/8" Tube x 1 3/8"

- sprocket, 1-3/8 x 1-3/8 inch

1шт.

70

495-81191

WASHER,1 5/32" x 2" x .060"

- flat, 1-5/32 x 2 x 3/64 inch

1шт.

71

126-124

WOODRUFF KEY,#15, 1/4" x 1", HT

1шт.

72

Q1443

KEY,5/16" Sq x 1 1/2", Par

- square parallel, 5/16 x 1-1/2 inch

1шт.

74

1303114C91

ELEVATOR CHAIN,C550, 112 Links x 41.4mm = 4636.8mm

CONVEYOR ASSEMBLY - elevator, Includes: Ref. 76 - 81

1шт.

76

1303116C1

RUBBER FLIGHT

FLIGHT - conveyor, rubber, Includes: Ref. 77

27шт.

77

185315C1

RIVET

- 3/8 x 5/8 inch

54шт.

Refs. 77 and 80 are replaced by Refs. 86, 87 and 88.

1шт.

79

1303123C91

ELEVATOR CHAIN

FLIGHT ASSEMBLY - rubber, Includes: Ref. 80 & 81

27шт.

80

1303125C1

STEEL FLIGHT

FLIGHT - conveyor, steel

1шт.

Refs. 77 and 80 are replaced by Refs. 86, 87 and 88.

1шт.

Ref. #'S 80 & 84 may be reversed in dealers book.

1шт.

81

185315C1

RIVET

- 3/8 x 5/8 inch

2шт.

83

1303124C92

RUBBER FLIGHT

FLIGHT ASSEMBLY - two piece, service only, does not include conveyer, Includes: Ref. 84 - 92

1шт.

84

1303116C1

RUBBER FLIGHT

FLIGHT - conveyor, rubber

1шт.

Ref. #'S 80 & 84 may be reversed in dealers book.

1шт.

86

413-520

BOLT,Hex, 5/16" - 18 x 1-1/4", Gr 5

- hex, 5/16 NC x 1-1/4 inch

2шт.

87

28588R1

WASHER

- flat, 11/32 x 11/16 x 3/64 inch

2шт.

88

232-4115

LOCK NUT,5/16"-18, GC

NUT, LOCK, 5/16"-18, GC

2шт.

89

241-15113

LINK,41.4mm Pitch

LINK - connecting, single pitch, No. C550, 1-5/8 inch pitch

1шт.

90

1329837C2

PIN,2.63mm OD

- S type, roller

1шт.

91

1303123C91

ELEVATOR CHAIN

FLIGHT ASSEMBLY - rubber

1шт.

92

241-12113

LINK,Chain, 41.4mm Pitch

LINK - roller, single pitch, No. C550, 1-5/8 inch pitch

1шт.

Выбрано товаров: 34