Запчасти Case IH 1680 (9E-16) - UNLOADER, LOWER AUGER (17) - GRAIN TANK & UNLOADER

Схема запчастей Case IH 1680 - (9E-16) - UNLOADER, LOWER AUGER (17) - GRAIN TANK & UNLOADER
13
5
25
15
20
25
22
14
8
23
10
10
7
6
23
15
3
14
26
4
12
17
11
9
4
9
24
18
21
12
2
27
1
17
10
FIT
1:1
100%

Артикул

Название

Примечание

Количество

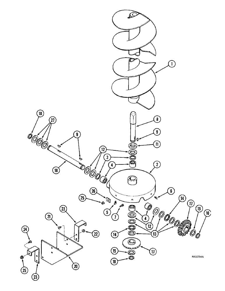
1

192835C1

AUGER

- unloader, vertical

1шт.

2

1327976C92

HOUSING

ASSEMBLY - drive, Includes: Ref. 3 & 4

1шт.

3

157724C91

OIL SEAL

- oil

2шт.

4

188126C91

NEEDLE BEARING,Needle, 34.91mm ID x 44.46mm OD x 25.4mm W

BEARING - needle

4шт.

5

219-93

LUBE NIPPLE,90 Degree Elbow, 1/4" - 28 NPTF

Special taper 90º, 1/4"-28 NPT x .75" lg, Drive

1шт.

6

219-90

LUBE NIPPLE,45 Degree Elbow, 1/4" -28 NPTF

FITTING - grease, 45 degree, 1/4-28 special taper x 13/16 inch

1шт.

7

154273C1

BOLT,Hex Serr, 3/8" - 16 x 1", Spcl

- hex, self-locking, special, 3/8 NC x 1 inch

7шт.

8

1327739C1

SHAFT

- auger, upper

1шт.

9

126-133

WOODRUFF KEY,#D, 5/16" x 1 1/4", HT

2шт.

10

A21619

CIRCLIP

RING - snap

3шт.

11

183490C1

WASHER

WASHER - shaft, upper

1шт.

12

188354C1

WASHER,35.71mm ID x 57.15mm OD x 3.05mm Thk

- flat, 1-13/32 x 2-1/4 x 1/8 inch

1шт.

13

1327732C1

THRUST WASHER,34.92mm ID x 52.37mm OD x 2.42mm Thk

- flat, 1-13/32 x 2 x 3/32 inch

1шт.

14

607146R91

THRUST BEARING,35.04mm ID x 51.99mm OD x 1.98mm W

- thrust

2шт.

15

188446C1

WASHER,35.71mm ID x 50.8mm OD x 0.76mm Thk

- flat, 1-13/32 x 2 x 1/32 inch

1шт.

17

186517C1

GEAR-SET

GEAR SET - auger (Set of 2)

1шт.

18

1327738C2

SHAFT

- horizontal, unloader

1шт.

19

409-7620

BOLT,Hex Flg, 3/8" - 16 x 1 1/4", Spcl

- hex serrated flange, 3/8 NC x 1-1/4 inch

2шт.

20

186137C2

SUPPORT

SHIELD - drive gear

1шт.

21

256873

BOLT,Hex Serr, 5/16" - 18 x 1/2", 5SPL, Full Thd

4шт.

22

231-5145

SERRATED NUT,Flg, USR, 5/16"-18

NUT - hex serrated flange, 5/16 inch NC

4шт.

23

186138C1

SUPPORT

- shield

2шт.

24

409-7624

BOLT,Hex Flg, 3/8" - 16 x 1 1/2", Spcl

2шт.

25

231-5146

FLANGE NUT,3/8"-16

14шт.

26

151670C1

SHIM

SHIM - .036 inch

5шт.

27

162679C1

WASHER

WASHER - flat, 1-13/32 x 2-1/4 x 1/16 inch

3шт.

Выбрано товаров: 26