Запчасти Case IH 1680 (9E-26) - UNLOADER, SWING CYLINDER SUPPORTS (17) - GRAIN TANK & UNLOADER

Схема запчастей Case IH 1680 - (9E-26) - UNLOADER, SWING CYLINDER SUPPORTS (17) - GRAIN TANK & UNLOADER
17
7
29
23
14
24
5
26
3
27
6
2
8
22
26
17
16
30
15
1
28
14
25
13
12
11
4
18
19
FIT
1:1
100%

Артикул

Название

Примечание

Количество

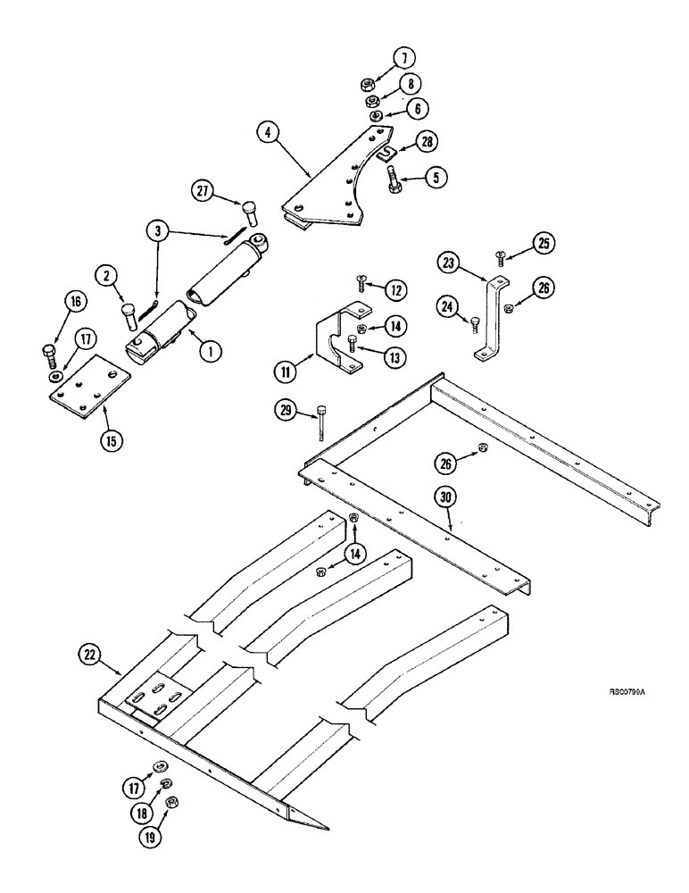
1

1282488C92

CYLINDER ASSY.,Double Acting, 25.4mm Rod, 508.2mm Stroke

CYLINDER ASSEMBLY - 38 (1-1/2) ID x 508 mm (20 inch) stroke, unloader swing, parts list Figure 8-86

1шт.

1282488C92R

REMAN-HYD CYLINDER

1680 Prior To S/N JJC0045689 (1/86 - 12/92)

1шт.

1282488C92C

CORE-HYD CYLINDER

Return Number

1шт.

2

427-10225

CLEVIS PIN,5/8" x 1 1/4"

PIN - clevis, 5/8 x 2-1/4 inch, hardened

1шт.

3

137185

COTTER PIN,1/8" x 1"

PIN, SPLIT (COTTER), 1/8" x 1"

2шт.

4

1321541C1

SUPPORT

- cylinder

1шт.

5

426-732

BOLT,Hex, 7/16" - 14 x 2", Gr 8

- hex, 7/16 NC x 2 inch, grade 8

6шт.

6

492-11044

LOCK WASHER,7/16"

WASHER, LOCK, 7/16"

6шт.

7

329-107

NUT,7/16"-14, G8

6шт.

8

25960R1

JAM NUT,Jam, 7/16"-14, G8

- hex jam, 7/16 inch NC, grade 8

6шт.

11

1321509C2

SUPPORT

- upper rear

1шт.

12

477-73820

SERRATED SCREW,Truss HD, 3/8" - 16 x 1-1/4"

BOLT - serrated slotted truss head, 3/8 NC x 1-1/4 inch

1шт.

13

154273C1

BOLT,Hex Serr, 3/8" - 16 x 1", Spcl

- hex, self-locking, special, 3/8 NC x 1 inch

2шт.

14

231-5146

FLANGE NUT,3/8"-16

3шт.

15

1321508C1

PLATE

- cylinder anchor

1шт.

16

413-832

BOLT,Hex, 1/2" - 13 x 2", Gr 5

4шт.

17

496-21053

WASHER,17/32" x 1 1/16" x .134"

- flat, 17/32 x 1-1/16 x 1/8 inch, hardened

8шт.

18

80679

LOCK WASHER,1/20.507 CST ZND

WASHER, LOCK, 1/2"

4шт.

19

425-108

NUT,1/2" - 13, Gr 5

NUT, , Hex 1/2"-13, G5

4шт.

22

1327507C1

SUPPORT

- cylinder

1шт.

23

1322273C1

BRACKET

SUPPORT - top front

1шт.

24

154273C1

BOLT,Hex Serr, 3/8" - 16 x 1", Spcl

- hex, self-locking, special, 3/8 NC x 1 inch

1шт.

26

231-5146

FLANGE NUT,3/8"-16

2шт.

27

22754R1

CLEVIS PIN,5/8" x 1.844"

PIN, CLEVIS, 5/8" x 1.844"

1шт.

28

151670C1

SHIM

SHIM - .036 inch

1шт.

29

180137

BOLT,Hex, 3/8" - 16 x 2 3/4", Gr 5

- hex, 3/8 NC x 2-3/4 inch

6шт.

30

1327543C1

SUPPORT

- housing, auger

1шт.

25

477-73816

SERRATED SCREW,Sl Truss Hd, 3/8" x 1"

BOLT - serrated slotted truss head, 3/8 NC x 1 inch

1шт.

Выбрано товаров: 28