Запчасти Case IH 1680 (3-18) - THROTTLE CONTROLS (02) - FUEL SYSTEM

Схема запчастей Case IH 1680 - (3-18) - THROTTLE CONTROLS (02) - FUEL SYSTEM
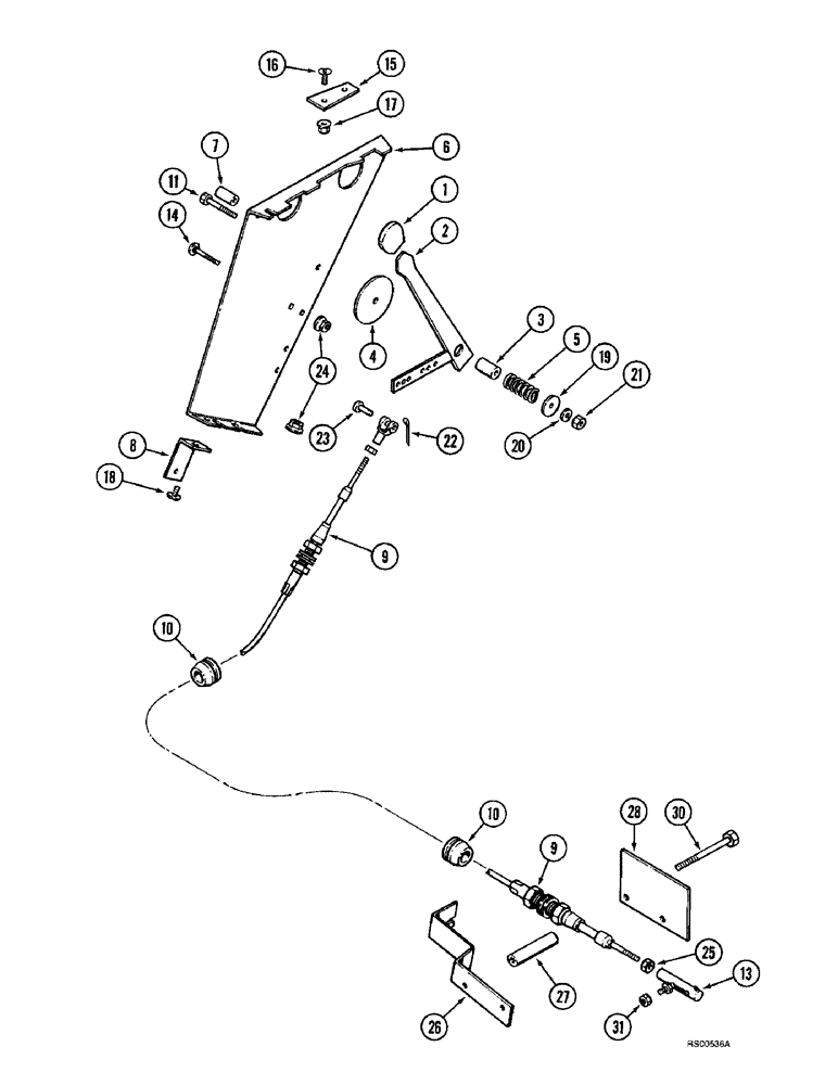
4
1
5
13
16
2
14
7
10
24
30
27
20
17
21
3
10
11
8
22
31
9
9
26
18
25
15
28
23
19
6
FIT
1:1
100%

Артикул

Название

Примечание

Количество

1

1259760C1

BALL KNOB

KNOB - throttle lever

1шт.

2

1301183C95

LEVER ASSY.

LEVER - control, throttle

1шт.

3

154397C1

SPACER,5/8" Tube x 1 1/4"

- tubular, 5/8 OD x 1-1/4 inch long

1шт.

4

941133C1

WASHER

- throttle lever

1шт.

5

PO22

SPRING

- throttle control lever

1шт.

6

1979483C1

SUPPORT ASSY.

SUPPORT - throttle control, replaces 1329709C2 support

1шт.

7

SA10227

SPACER,3/8" Pipe x 1 1/8"

- 3/8 x 1-1/8 inch

2шт.

8

1301242C1

BRACKET

ANGLE - support

1шт.

9

1329389C1

CABLE

- throttle

1шт.

10

198823C1

GROMMET,9.53mm ID x 41.1mm OD x 26.9mm Thk

- rubber, 3/8 inch ID

2шт.

11

413-636

BOLT,Hex, 3/8" - 16 x 2-1/4", Gr 5

- hex, 3/8 NC x 2-1/4 inch

1шт.

12

213-113

ADJUSTABLE CLEVIS,#10-32

CLEVIS - adjustable, No. 10 NF

1шт.

13

84728C1

JOINT

- ball

1шт.

14

433-628

CARRIAGE BOLT,Sq Nk, 3/8" - 16 x 1 3/4", Gr 5

BOLT - carriage, 3/8 NC x 1-3/4 inch

2шт.

15

1329861C1

PLATE

- throttle control

1шт.

16

477-82508

SERRATED SCREW,Sl Truss Hd, 1/4" - 20 x 1/2"

BOLT - serrated slotted truss head, 1/4 NC x 1/2 inch

3шт.

17

231-5144

SERRATED NUT,Flg, USR, 1/4"-20

3шт.

18

477-73812

SERRATED SCREW,Truss HD, 3/8" - 16 x 3/4"

BOLT - serrated slotted truss head, 3/8 NC x 3/4 inch

2шт.

19

495-71041

WASHER,10.31mm ID x 31.75mm OD x 2.54mm Thk

- flat, 13/32 x 1-1/4 x 3/32 inch

1шт.

20

492-11038

LOCK WASHER,3/8"

1шт.

21

425-106

NUT,3/8"-16, Cl 5

1шт.

22

432-48

COTTER PIN,1/16" x 1/2"

PIN, SPLIT (COTTER), 1/16" x 1/2"

1шт.

23

427-3071

CLEVIS PIN,3/16" x .719"

PIN - clevis, 3/16 x 23/32 inch, hardened

1шт.

24

231-5146

FLANGE NUT,3/8"-16

4шт.

25

225-14210

NUT,#10-32

2шт.

26

1270684C1

SUPPORT

- throttle cable, rear bracket

1шт.

27

580883R1

SPACER,3/8" Pipe x 3 1/4"

- 1/2 x 3-1/4 inch

2шт.

28

1265673C1

SHIELD

SUPPORT - throttle cable, rear shield

1шт.

30

413-664

BOLT,Hex, 3/8" - 16 x 4", Gr 5

- hex, 3/8 NC x 4 inch

2шт.

31

425-114

NUT,1/4"-28, G5

1шт.

Выбрано товаров: 0