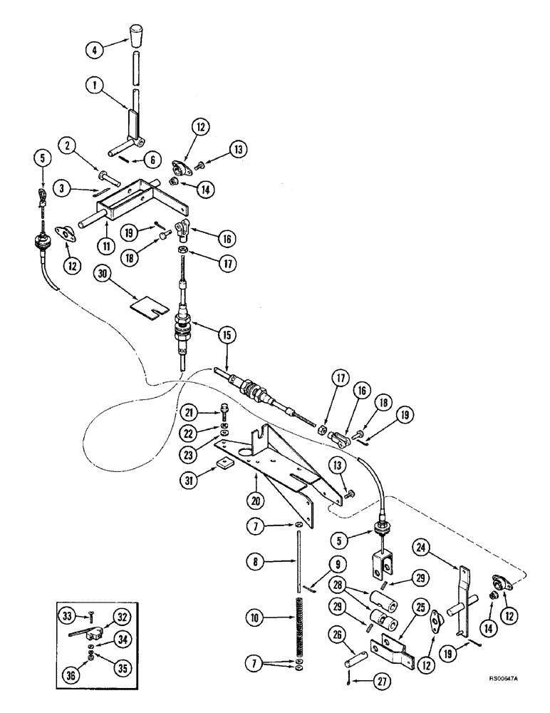
Запчасти Case IH 1680 (6-64) - TRANSMISSION, GEAR SHIFT CONTROL (03) - POWER TRAIN

Схема запчастей Case IH 1680 - (6-64) - TRANSMISSION, GEAR SHIFT CONTROL (03) - POWER TRAIN
29
4
18
2
3
12
12
12
17
30
22
35
19
31
29
8
21
33
14
18
1
34
25
5
13
10
13
26
9
32
36
20
19
15
7
6
16
17
23
27
5
11
12
24
19
14
16
7
28
FIT
1:1
100%

Артикул

Название

Примечание

Количество

1

224865C1

LEVER

- control, gear shift

1шт.

2

439-5840

HEADED PIN,1/2" x 2 1/2"

PIN - headed, 1/2 x 2-1/2 inch

1шт.

3

432-1216

COTTER PIN,3/16" x 1"

1шт.

4

157473C1

KNOB

HANDLE - gear shift lever

1шт.

5

1321289C3

CABLE

- transmission linkage

1шт.

6

17045R1

LOCK PIN,5/32" x 1 3/8", Slotted

PIN, 5/32" x 1 3/8", Slotted

1шт.

7

495-81112

WASHER,.344" x 3/4" x .120"

- flat, 11/32 x 3/4 x 7/64 inch

3шт.

8

194445C1

ROD

- spring anchor

1шт.

9

432-816

COTTER PIN,1/8" x 1"

1/8" x 1"

1шт.

10

47822D

SPRING

- shifting retractor

1шт.

11

1276181C1

BRACKET

SUPPORT - gear shift

1шт.

12

A63366

SPHERICAL BEARING,19mm ID

BEARING - pivot

4шт.

13

477-73112

SERRATED SCREW,Sl Truss Hd, 5/16" - 18 x 3/4"

- serrated slotted truss head, 5/16 NC x 3/4"

8шт.

14

231-5145

SERRATED NUT,Flg, USR, 5/16"-18

NUT - hex serrated flange, 5/16 inch NC

8шт.

15

1329392C1

CABLE

- control, shift rail

1шт.

16

213-126

ADJUSTABLE CLEVIS,3/8"-24 x 2 1/2"

CLEVIS - adjustable, 3/8 inch NF

2шт.

17

425-156

JAM NUT,Jam, 3/8"-24, G5

- hex, jam, 3/8 inch NF

2шт.

18

427-6106

CLEVIS PIN,9.53mm OD x 26.92mm L

PIN, CLEVIS, , Hardened 3/8" x 1 1/16"

2шт.

19

432-616

COTTER PIN,3/32" x 1"

3/32" x 1"

3шт.

20

194442C1

SUPPORT ASSY.

SUPPORT - shift linkage

1шт.

21

413-624

BOLT,Hex, 3/8" - 16 x 1-1/2", Gr 5

3шт.

22

492-11038

LOCK WASHER,3/8"

3шт.

23

495-11041

WASHER,0.406" ID x 0.812" OD x 0.065" W

(Flat, 13/32 x 13/16 x 1/16") 3/8", SAE

3шт.

24

194439C1

LEVER ASSY.

LEVER - shift, lower

1шт.

25

194437C1

LINK

- shift rail control

1шт.

26

195108C1

PIN

- shift link

1шт.

27

432-824

COTTER PIN,1/8" x 1 1/2"

PIN, SPLIT (COTTER), 1/8" x 1-1/2"

1шт.

28

192689C1

PIN,34.93mm OD x 73.7mm L

- shift rail extension

2шт.

29

138-2053

PIN,1/4" x 1 1/4", Coiled

2шт.

30

196511C1

LARGE PLATE

SUPPORT - cable nut

1шт.

31

520927R1

BAR

SPACER - shift linkage

3шт.

32

1310827C2

SWITCH

- lockout, third gear, See Figure 4-08

1шт.

For use on combines with two speed propulsion motor only.

1шт.

33

470-10620

SCREW,Pan HD, #6 - 32 x 1-1/4"

- machine, pan head slotted, No. 6 NC x 1-1/4 inch

2шт.

34

95-81108

WASHER,#6

- flat, 5/32 x 3/8 x 1/32 inch

2шт.

35

138526

LOCK WASHER

- internal tooth lock, special, No. 6

2шт.

36

225-14106

NUT,#6-32

2шт.

Выбрано товаров: 37