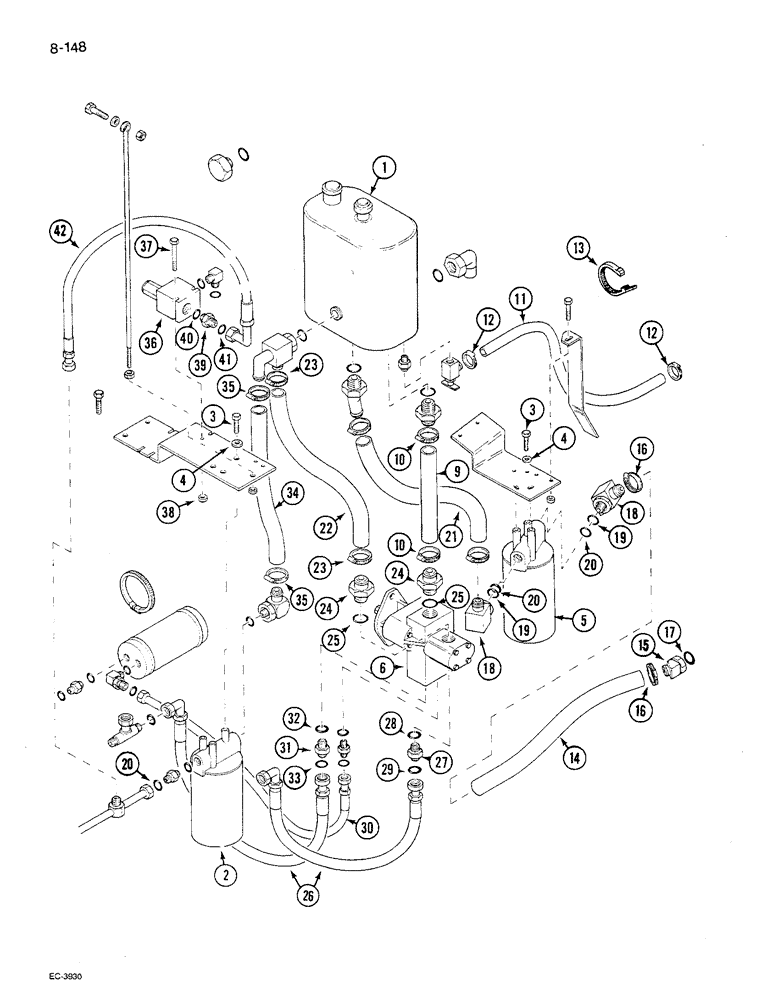
Запчасти Case IH 1680 (8-148) - HYDRAULICS HOSES-FILTERS-AUXILIARY PUMP, HEADER LIFT & REEL DRIVE, P.I.N. JJC0117060 & AFTER (07) - HYDRAULICS

Схема запчастей Case IH 1680 - (8-148) - HYDRAULICS HOSES-FILTERS-AUXILIARY PUMP, HEADER LIFT & REEL DRIVE, P.I.N. JJC0117060 & AFTER (07) - HYDRAULICS
16
22
15
30
12
18
33
23
14
32
20
21
19
40
12
19
38
35
28
36
5
18
29
39
10
31
27
10
13
17
24
11
6
35
25
1
16
23
42
4
41
3
24
25
34
26
4
20
37
2
3
20
9
FIT
1:1
100%

Артикул

Название

Примечание

Количество

1

1986534C3

RESERVOIR

ASSEMBLY - (See Figure 8-84)

1шт.

2

87784C91

FILTER ASSY

FILTER ASSEMBLY - system return (See Figure 8-18)

1шт.

3

413-610

BOLT,Hex, 3/8" - 16 x 5/8", Gr 5

6шт.

4

492-11038

LOCK WASHER,3/8"

6шт.

5

87785C91

FILTER ASSY

FILTER ASSEMBLY - charge pump suction (See Figure 8-20)

1шт.

6

1994653C2

PUMP

ASSEMBLY - lift and reel drive, (See Figure 8-54)

1шт.

1994653C2R

REMAN-HYD PUMP

1680 S/N JJC0045689 & Aft. Hydraulics Hoses-Filters-Auxiliary Pump, Header lift & Reel Drive, P.I.N. JJC0117060 & AFTER (1/86-12/92)

1шт.

1994653C2C

CORE-HYDRAULIC PUMP

Return Number

1шт.

9

1989349C3

HOSE

- header lift suction

1шт.

10

214-3232

HOSE CLAMP,1-1/4" - 2-1/8", HD Worm, W/ Liner

CLAMP, HOSE, 1.25/2.125 HD Worm, W/liner

2шт.

11

NSS

NOT SOLD SEPARAT

HOSE - 5/8 inch ID, drain 1350 mm, (Order 1977295CX and, Serial Range: cut-length)

1шт.

12

1954736C1

HOSE CLAMP,#24

CLAMP, HOSE, #24

2шт.

13

702093C1

CABLE TIE

STRAP - nylon retaining

2шт.

14

1541692C1

FLEXIBLE HOSE

HOSE - charge pump suction, 1 inch

1шт.

15

217-316

FITTING,45 Degree Elbow, 1" Hose Barb x 1-5/16" - 12 Male ORB

ELBOW - 45 degree, 1 x 1 inch

1шт.

16

214-3228

HOSE CLAMP,1" - 1-7/8", HD Worm, W/ Liner

CLAMP, HOSE, 1.00/1.875 HD Worm, W/liner

2шт.

17

237-6016

O-RING,0.116" Thk x 1.171" ID, -916, Cl 6, 90 Duro

- 1-11/64 ID x 1/8 inch

1шт.

18

217-352

FITTING,90 Degree Elbow, 1" Hose Barb x 1-5/16" - 12 Male ORB

ELBOW - 90 degree, 1 x 1 inch

2шт.

19

237-6016

O-RING,0.116" Thk x 1.171" ID, -916, Cl 6, 90 Duro

- 1 inch OD

2шт.

20

238-6021

O-RING,15/16 X 1 - 1/16, Cl 6

2шт.

21

1541692C1

FLEXIBLE HOSE

HOSE - charge filter suction, 1 inch

1шт.

22

1541616C2

HOSE

- reel pump suction

1шт.

23

214-3228

HOSE CLAMP,1" - 1-7/8", HD Worm, W/ Liner

CLAMP, HOSE, 1.00/1.875 HD Worm, W/liner

1шт.

24

217-316

FITTING,45 Degree Elbow, 1" Hose Barb x 1-5/16" - 12 Male ORB

ELBOW - 45 degree, 1 x 1 inch

2шт.

25

237-6016

O-RING,0.116" Thk x 1.171" ID, -916, Cl 6, 90 Duro

- 1 inch OD

2шт.

26

1980050C1

HOSE

ASSEMBLY - auxiliary pump pressure

2шт.

27

201-112

HYD CONNECTOR,13/16" - 16 Male ORFS x 7/8" - 14 Male ORB

ADAPTER - 5/8 x 3/4 inch

2шт.

28

237-6010

O-RING,0.097" Thk x 0.755" ID, -910, Cl 6, 90 Duro

- 5/8 inch

2шт.

29

238-6014

O-RING,0.07" Thk x 0.489" ID, -14, Cl 6, 90 Duro

- 3/4 ID x 7/8 inch wide

2шт.

30

1989363C2

HOSE

- steering pressure

1шт.

31

201-104

HYD CONNECTOR,1-3/16" - 12 Male ORFS x 1-1/16" - 12 Male ORB

ADAPTER - 3/4 inch

1шт.

32

238-6006

O-RING,0.07" Thk x 0.114" ID, -6, Cl 6, 90 Duro

- 3/4 ID x 7/8 inch wide

1шт.

33

238-6014

O-RING,0.07" Thk x 0.489" ID, -14, Cl 6, 90 Duro

- 3/4 ID x 1/2 inch

1шт.

34

1541694C1

HOSE

- return, Serial Range: reservoir-filter

1шт.

35

214-3228

HOSE CLAMP,1" - 1-7/8", HD Worm, W/ Liner

CLAMP, HOSE, 1.00/1.875 HD Worm, W/liner

2шт.

36

1542686C1

VALVE

ASSEMBLY - relief, 2,500 PSI

1шт.

37

413-444

BOLT,Hex, 1/4" - 20 x 2-3/4", Gr 5

- hex, 1/4 NC x 2-3/4 inch

2шт.

38

938016R1

FLANGE NUT,Flg, USR, 1/4"-20

- hex flange lock, 1/4 inch NC

2шт.

39

201-141

HYD CONNECTOR,1 3/16"-12 ORFS x 3/4"-16 ORB

CONNECTOR - straight jump, 1/2 to 3/4 inch thread

1шт.

40

238-6018

O-RING,0.07" Thk x 0.739" ID, -18, Cl 6, 90 Duro

1шт.

41

237-6008

O-RING,0.087" Thk x 0.644" ID, -908, Cl 6, 90 Duro

8-1, 90 Duro, .644" ID x .087" Thk, 1/2" OD tube

1шт.

42

1980050C1

HOSE

ASSEMBLY - relief valve drain

1шт.

Выбрано товаров: 42