Запчасти Case IH 1680 (9G-54) - CAB ROOF ASSEMBLY (10) - CAB & AIR CONDITIONING

Схема запчастей Case IH 1680 - (9G-54) - CAB ROOF ASSEMBLY (10) - CAB & AIR CONDITIONING
31
1
8
23
13
12
10
28
29
6
33
8
7
9
19
23
21
30
17
4
16
2
13
18
3
25
27
2
20
15
24
FIT
1:1
100%

Артикул

Название

Примечание

Количество

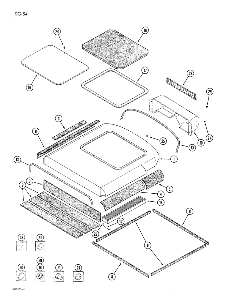
1

1344179C1

ROOF

ASSEMBLY - cab (Replaces 1276124C4), Includes: Ref. 2 - 7

1шт.

2

NSS

NOT SOLD SEPARAT

INSULATION - top, 12 inch (Order 1327515C1 and cut)

3шт.

3

NSS

NOT SOLD SEPARAT

INSULATION - left top, 12 inch (Order 1327515C1 and cut)

1шт.

4

NSS

NOT SOLD SEPARAT

INSULATION - right rear, 12 inch (Order 1327515C1 and, Serial Range: cut-length)

1шт.

5

NSS

NOT SOLD SEPARAT

INSULATION - right front, 12 inch (Order 1327515C1 and, Serial Range: cut-length)

1шт.

6

NSS

NOT SOLD SEPARAT

INSULATION - left side, 12 inch (Order 1327515C1 and, Serial Range: cut-length)

1шт.

7

NSS

NOT SOLD SEPARAT

INSULATION - rear, 60 inch (Order 1327515C1 and cut)

1шт.

8

NSS

NOT SOLD SEPARAT

STRIP - roof sides, 54 inch (Order 182747C2 and cut)

2шт.

9

NSS

NOT SOLD SEPARAT

STRIP - roof front and rear, 57 inch (Order 182747C2 and, Serial Range: cut-length)

2шт.

10

1344141C1

COVER

- windshield wiper motor (Replaces 1281510C2)

1шт.

12

117727C2

ROD

- filter latch

3шт.

13

NSS

NOT SOLD SEPARAT

SEAL - front and rear, 72 inch (Order 1327666C2 and cut)

2шт.

15

143006C3

PANEL

- roof, access cover

1шт.

16

1276340C2

INSULATOR

INSULATION - access cover

1шт.

17

83872C2

SEAL

- access cover

1шт.

18

143481C92

CAB FILTER

FILTER - cab

1шт.

18

87543798

CAB FILTER

Charcoal cab filter

1шт.

19

179093

HOLE PLUG BUTTON,9/32"

8шт.

20

353-406

PLUG,Dome, .625" hole, Nylon

- plastic, 5/8 inch diameter

2шт.

20

353-402

PLUG,Dome, .375" hole, Nylon

- plastic, 3/4 inch diameter

1шт.

21

198825C1

GROMMET,15.88mm ID x 41.1mm OD x 26.9mm Thk

- rubber diagonal cut, 1 x 1-3/8 inch

1шт.

23

353-411

PLUG,Dome, 1.000" hole, Nylon

1шт.

24

111618C2

SELF-TAP SCREW,Hex Flng, 1/4" - 14 x 1"

- 1/4 x 1 inch

14шт.

25

445406

SPRING NUT,Tinn, 1/4"-14

- spring, 1/4 inch

14шт.

27

1327767C1

SELF-TAP SCREW,Hex Wshr Hd, 5/16" - 18 x 16mm

- hex poly seal, 5/16 x 5/8 inch

4шт.

28

1987144C1

DECAL

MEDALLION - Axial-Flow

1шт.

29

1324788C1

NUT

- self threading, 1/4 inch

3шт.

30

353-408

PLUG,Dome, .750" hole, Nylon

- plastic, for 3/4 inch hole

2шт.

31

1321769C1

GROMMET

- rubber, 5/8 inch diameter hole

1шт.

33

118084C1

SEALING WASHER

- rubber

3шт.

Выбрано товаров: 30