Запчасти Case IH 1680 (7-014) - MASTER BRAKE CYLINDERS AND RESERVOIR (5.1) - BRAKES

Схема запчастей Case IH 1680 - (7-014) - MASTER BRAKE CYLINDERS AND RESERVOIR (5.1) - BRAKES
6
27
12
29
14
26
20
18
13
2
21
8
1
3
19
2
15
7
10
23
5
28
4
16
18
19
6
2
17
11
24
17
FIT
1:1
100%

Артикул

Название

Примечание

Количество

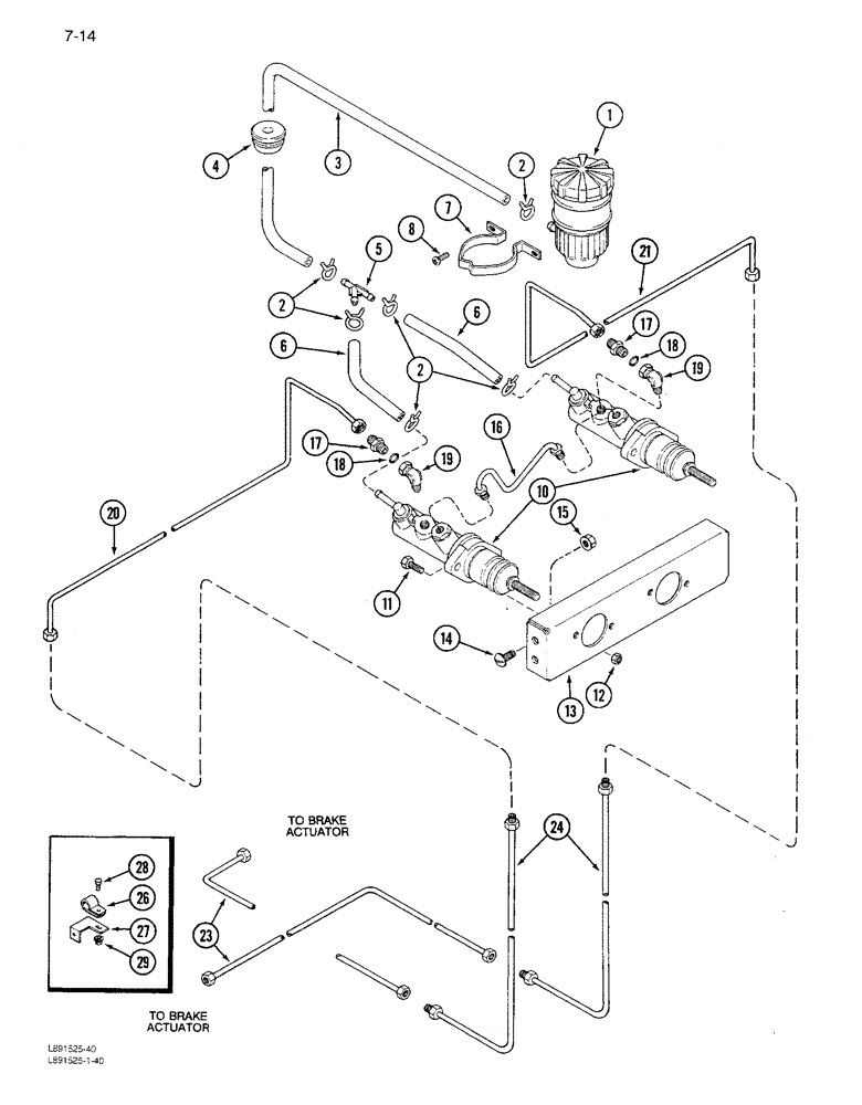
1

1281890C2

RESERVOIR

- brake fluid

1шт.

cap no. is K964488.

1шт.

2

214-274

HOSE CLAMP,#04, 0.25" - 0.62", Type F Worm

retaining #4, 0.25/0.62 Type F Worm

6шт.

3

1281889C1

HYDRAULIC HOSE,6.35 mm ID x 610.00 mm

- Return 6.35 mm ID x 610.00 mm

1шт.

4

198824C1

GROMMET,12.7mm ID x 41.1mm OD x 26.9mm Thk

- brake hose

1шт.

5

1285312C1

TEE

-Y Type

1шт.

6

1281888C1

HYDRAULIC HOSE,6.35 mm ID x 150.00 mm

- Return 6.35 mm ID x 150.00 mm

2шт.

7

1281891C1

CLAMP

- brake fluid reservoir

1шт.

8

260-1458

SELF-TAP SCREW,Cross Pan Hd, #10 x 1/2"

SCREW - pan head cross slotted, No. 10 x 1/2 inch

2шт.

10

REF

INSTRUCTION

CYLINDER ASSEMBLY - master (See Figure 7-16)

2шт.

11

155807C1

BOLT,Hex Serr, 5/16" - 18 x 1"

4шт.

12

938017R1

FLANGE NUT,Flg, USR, 5/16"-18

- hex flange lock, 5/16 inch NC

4шт.

13

1327561C2

SUPPORT

- master brake cylinder

1шт.

14

477-73812

SERRATED SCREW,Truss HD, 3/8" - 16 x 3/4"

- slotted truss head, 3/8 NC x 3/4 inch

3шт.

14

179464C1

SERRATED SCREW,Sl Truss Hd, 3/8" - 16 x 1 1/4"

- slotted truss head, 3/8 NC x 1-1/4 inch

1шт.

15

482256R1

BEARING LOCK NUT,Flg, USR, 3/8"-16

- hex flange lock, 3/8 inch NC

5шт.

16

1281885C1

PIPE

TUBE - equalizer

1шт.

17

218-5053

HYD CONNECTOR,7/16" - 20 JIC x 7/16" - 20 ORB

ADAPTER - swivel, 7/16-20 inch thread

2шт.

18

237-3004

O-RING,0.351" ID x 0.072" Width

4-1, Cl 3, .351" ID x .072" Thk

2шт.

19

218-5228

ELBOW,90 Degree, 7/16"-20, 37 Degree x 7/16"-20, 37 Degree Fem Sw

- 90 degree swivel, 7/16-20 inch thread

2шт.

20

1321478C2

HYD TUBE

TUBE - brake, upper right

1шт.

21

1321477C2

HYD TUBE

TUBE - brake, upper left

1шт.

23

1321515C1

HYD TUBE,0.25" OD, 365, 355 mm Length

TUBE - brake, lower left

2шт.

24

1321511C2

HYD TUBE

TUBE - brake, middle

2шт.

26

515-2863

CLAMP,1/4", 3/8" Bolt

- tube, closed

2шт.

27

1979221C1

SUPPORT

- tube, brake

2шт.

28

135270

SERRATED SCREW,5/16" - 18 x 3/4"

BOLT - hex, 5/16 NC x 3/4 inch

4шт.

29

938017R1

FLANGE NUT,Flg, USR, 5/16"-18

- hex flange lock, 5/16 inch NC

4шт.

Выбрано товаров: 28