Запчасти Case IH 1680 (2-058) - CYLINDER BLOCK, 6TA-830 ENGINE, 12 PISTON COOLING NOZZLES, ENGINE SERIAL NO. 44887830 & AFTER (01) - ENGINE

Схема запчастей Case IH 1680 - (2-058) - CYLINDER BLOCK, 6TA-830 ENGINE, 12 PISTON COOLING NOZZLES, ENGINE SERIAL NO. 44887830 & AFTER (01) - ENGINE
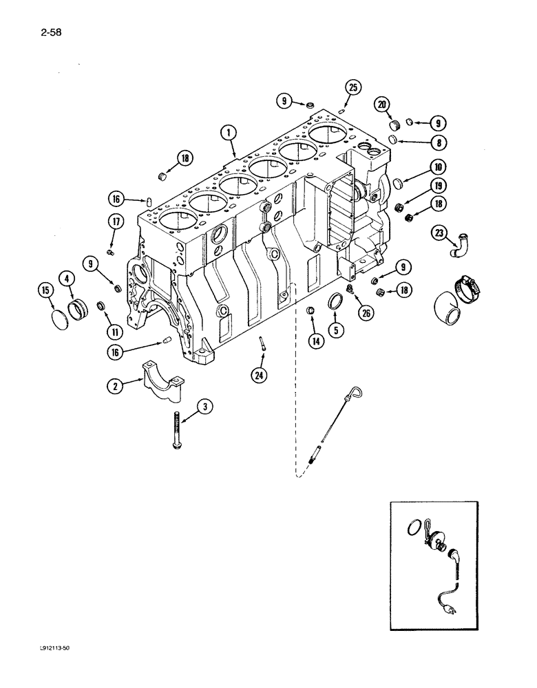
5
23
9
9
10
24
4
2
18
19
16
18
9
15
9
11
16
17
20
26
8
25
18
1
3
14
FIT
1:1
100%

Артикул

Название

Примечание

Количество

1989023C3

ENGINE ASSEMBLY

ENGINE ASSY ENGINE ASSEMBLY - complete (Includes all parts except starter, alternator, fan, fan belt, air cleaner, muffler and exhaust pipe)

1шт.

1989023C3R

REMAN-REPLACEMENT EN

1680 S/N JJC0045689 & After

1шт.

6TA-830C

CORE-REPLACEMENT ENG

Return Part Number, KNOWN POTENTIAL CORE VARIATIONS, REFER TO CORE CRITERIA FOR PROPER CORE IDENTIFICATION

1шт.

AR174399

REMAN-BASIC ENGINE

Remanufactured Basic Engine Assembly, assembly includes short block assembly, cylinder head, valve cover, front cover, oil pan, water pump, thermostat and gasket kit to transfer trim parts

1шт.

AC174399

CORE-BASIC ENGINE

Return Part Number, KNOWN POTENTIAL CORE VARIATIONS, REFER TO CORE CRITERIA FOR PROPER CORE IDENTIFICATION

1шт.

1989099C1

BASIC ENGINE

ENGINE ASSEMBLY - basic

1шт.

ENGINE ASSEMBLY - basic, new (Includes all parts except starter, alternator, fan, fan belt, fan bracket, air cleaner, muffler, exhaust manifold, flywheel and housing, oil fill and dipstick, fuel injection pump, injectors and lines, front crank pulley, belt tensioner, turbocharger and aftercooler)

1шт.

JR921839

BLOCK

BLOCK ASSEMBLY - short, remanufactured (North America Only), Includes: Ref. 2 - 10

1шт.

JC921839

CORE-SHORT ENGINE

RETURN NUMBER - engine, short block (Use this number when returning short block for credit), Includes: Ref. 2 - 10

1шт.

J921839

SKELETON ENGINE

BLOCK ASSEMBLY - short, new (Includes stripped block, pistons, connecting rods and bearings, crankshaft and and bearings) (Also order A77716 kit), Includes: Ref. 1, Includes: Ref. 2 - 10

1шт.

1

JR919934

BLOCK

BLOCK ASSEMBLY - stripped, remanufactured (North America Only), Includes: Ref. 2 - 10

1шт.

1

JC919934

CORE-ENGINE

RETURN NUMBER - stripped block (Use this number when returning block core for credit), Includes: Ref. 2 - 10

1шт.

1

J919934

CYLINDER BLOCK

BLOCK ASSEMBLY - cylinder, stripped (Also order A77716 kit), Includes: Ref. 2 - 10

1шт.

2

J917313

BEARING CAP

CAP - bearing, main

7шт.

3

J916369

FLANGE BOLT,Hex, M14 x 2 x 128mm, Cl 10.9

SCREW, Hex Flg Hd, M14 x 128

14шт.

4

REF

INSTRUCTION

BUSHING - camshaft, (See Figure 2-48)

7шт.

5

A77782

PLUG

PLUG - expansion, 58 mm OD

1шт.

8

A77586

PLUG

PLUG - expansion, 28.9 OD

1шт.

9

A77506

PLUG

PLUG - expansion, 21 mm O.D.

4шт.

10

J905401

PLUG

PLUG - expansion, 35 mm OD

4шт.

A77716

BLOCK

HARDWARE KIT - block, Includes: Ref. 11 - 26

1шт.

11

A77530

PLUG

PLUG - expansion, 1-3/16 inch OD

2шт.

14

A77439

PLUG

PLUG - expansion, 22 mm OD

1шт.

15

J901969

PLUG

PLUG - expansion, 69 mm OD

1шт.

16

J901846

PIN,12.01mm OD x 24mm L

PIN - dowel

4шт.

17

J906619

PLUG,1/8" - 27

PLUG - hex socket pipe, 1/8-27 inch PT

6шт.

18

A77429

PLUG

PLUG - hex socket pipe, 1/2-18 inch PT

4шт.

19

A77505

PLUG

PLUG - hex socket pipe, 3/4-14 inch PT

2шт.

20

A77533

PLUG

PLUG - hex pipe, 1 inch PT

1шт.

23

J903744

PIPE FITTING,22.42 mm ID x 28 mm OD x 90.2, 64 mm L

TUBE - drain, oil

1шт.

24

J919003

NOZZLE INJECTION

NOZZLE - piston cooling

12шт.

25

J900257

PIN,10.01mm OD x 16mm L

PIN - dowel, 16 mm long

2шт.

26

A77425

DRAIN VALVE

VALVE - drain, coolant

1шт.

Выбрано товаров: 33