Запчасти Case IH 1680 (018) - STATIONARY STEERING AXLE SHIELD, EXTENDED LENGTH CLEANING SYSTEM (27) - REAR AXLE SYSTEM

Схема запчастей Case IH 1680 - (018) - STATIONARY STEERING AXLE SHIELD, EXTENDED LENGTH CLEANING SYSTEM (27) - REAR AXLE SYSTEM
13
1
18
8
16
3
2
9
15
17
8
7
6
7
14
10
8
12
7
15
11
4
18
14
8
FIT
1:1
100%

Артикул

Название

Примечание

Количество

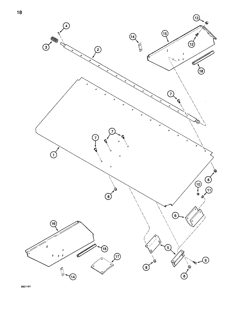
1

1325597C2

SHIELD

- steering axle

1шт.

2

188176C1

SUPPORT

- axle shield

1шт.

3

203942C1

SPRING

- shield pivot

1шт.

4

138-59

LOCK PIN,1/8" x 7/8", Slotted

PIN, 1/8" x 7/8", Slotted

1шт.

5

183093C1

BRACKET

ANGLE - shield support

2шт.

6

183094C1

CUSHION

STRIP - shield support

1шт.

7

135270

SERRATED SCREW,5/16" - 18 x 3/4"

- slotted truss head, 5/16 NC x 3/4 inch

1шт.

8

938017R1

FLANGE NUT,Flg, USR, 5/16"-18

- hex flange, self-locking, 5/16 inch NC

1шт.

9

413-516

BOLT,Hex, 5/16" - 18 x 1", Gr 5

- hex, 5/16 NC x 1 inch

4шт.

10

131-1215

LOCK NUT,5/16"-18, GC

NUT, LOCK, 5/16"-18, GC

4шт.

11

495-11034

WASHER,5/16", SAE

5/16" SAE (flat, 11/32 x 11/16 x 1/16")

4шт.

12

477-73812

SERRATED SCREW,Truss HD, 3/8" - 16 x 3/4"

- slotted truss head, 3/8 NC x 3/4 inch

4шт.

13

482256R1

BEARING LOCK NUT,Flg, USR, 3/8"-16

BOLT - hex flange, self-locking, 3/8 inch NC

4шт.

14

1325376C1

PLATE

BRACKET - hood extension retaining

2шт.

15

1322479C3

PLATE

- hood extension, right

1шт.

16

1322478C3

PLATE

- hood extension, left

1шт.

17

1345126C1

CUSHION

- axle shield

1шт.

18

1968976C1

SEALING STRIP

SEAL - strip

2шт.

Выбрано товаров: 18