Запчасти Case IH 1682 (9-142) - STRAW SPREADER (09) - CHASSIS ATTACHMENTS

Схема запчастей Case IH 1682 - (9-142) - STRAW SPREADER (09) - CHASSIS ATTACHMENTS
3
19
25
38
24
4
15
14
15
3
24
4
22
48
14
50
15
2
33
7
24
45
25
13
23
35
1
4
37
6
26
4
27
16
52
25
24
51
4
19
24
53
44
25
34
29
42
29
25
24
23
29
46
24
12
43
5
17
18
10
11
28
36
26
49
FIT
1:1
100%

Артикул

Название

Примечание

Количество

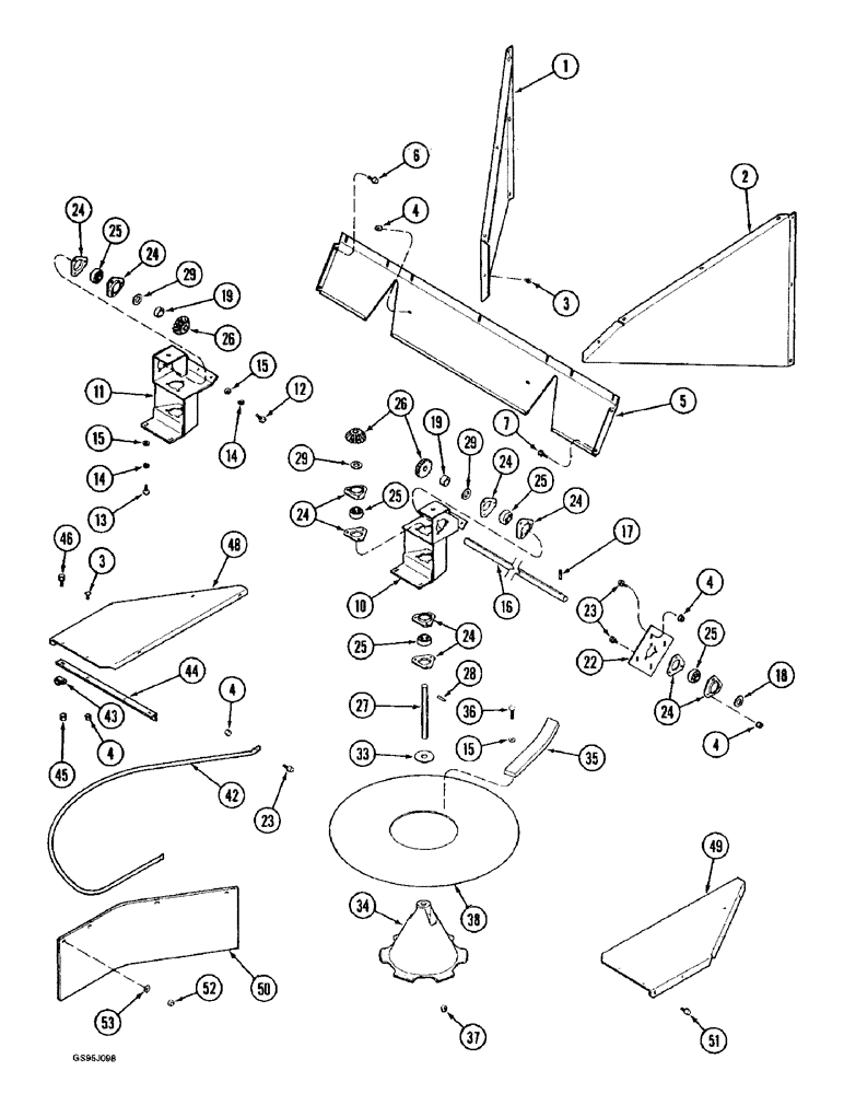
1

1302107C1

DEFLECTOR

SUPPORT - corner, left-hand

1шт.

2

1302108C1

DEFLECTOR

SUPPORT - corner, right-hand

1шт.

3

477-73108

SERRATED SCREW,Sl Truss Hd, 5/16" - 18 x 1/2"

- slotted truss head, 5/16 NC x 1/2 inch

1шт.

4

231-5145

SERRATED NUT,Flg, USR, 5/16"-18

NUT - hex serrated flange, 5/16 inch NC

1шт.

5

195144C4

SUPPORT

- dust shield

1шт.

6

409-7512

BOLT,Hex Flg, 5/16" - 18 x 3/4", Spcl

- hex serrated flange, 5/16 NC x 3/4 inch

3шт.

7

409-7516

BOLT,Hex Flg, 5/16" - 18 x 1", Spcl

1шт.

10

1345025C1

SUPPORT

- spreader drive, right-hand (Replaces support 1317898C1)

1шт.

11

1317897C2

BRACKET

SUPPORT - spreader drive, left-hand, if used (Replaces support 1317897C1)

1шт.

11

1345024C1

SUPPORT

- spreader drive, left-hand, if used

1шт.

12

413-516

BOLT,Hex, 5/16" - 18 x 1", Gr 5

- hex, 5/16 NC x 1 inch

1шт.

13

413-512

BOLT,Hex, 5/16" - 18 x 3/4", Gr 5

- hex, 5/16 NC x 3/4 inch

1шт.

14

492-11031

LOCK WASHER,5/16"

WASHER, LOCK, 5/16"

1шт.

15

28588R1

WASHER

- flat, 11/32 x 11/16 x 3/64 inch (Replaces washer 27309R1)

1шт.

16

192241C4

SHAFT

- cross, spreader

1шт.

17

577139R1

LOCK PIN,3/8" x 1 1/2", Slotted

Pin, 3/8" x 1 1/2", Slotted

1шт.

18

495-81068

WASHER,1 1/32" x 1 1/2" x .030"

- flat, 1-1/32 x 1-1/2 x 1/32 inch (Replaces washer 21742R1)

1шт.

19

152261C1

SPACER,1 1/4" Tube x 1 7/8"

- tube, 1-1/4 x 5/8 inch (32 x 16 mm)

2шт.

22

186506C1

SUPPORT

PLATE - bearing

1шт.

23

409-7512

BOLT,Hex Flg, 5/16" - 18 x 3/4", Spcl

- hex serrated flange, 5/16 NC x 3/4 inch

1шт.

24

571424R1

FLANGE

- bearing

14шт.

25

195293C91

BALL BEARING,0.89" ID x 2.04" OD x 1"

BEARING - shaft, spreader

7шт.

26

194194C1

GEAR

- two-piece set, 14 teeth, bevel

2шт.

28

38-31624

ROLL PIN,1/4" x 1 1/2", Coiled

PIN, ROLL, (Replaces pin 576517R1) 1/4" x 1 1/2", Coiled

2шт.

29

495-81069

WASHER,1-1/32" ID x 1-1/2" OD x 3/50" Thk

- flat, 1-1/32 x 1-1/2 x 3/64 inch (Replaces washer 591715R1)

6шт.

33

183041C1

WASHER

WASHER - flat, special, spreader cone, no longer used

2шт.

34

188218C6

CONE,Spreader Support

SUPPORT - straw spreader cone (Replaces support 188218C2)

2шт.

35

194197C2

STRIP,50mm W x 363mm L

- rubber, spreader, 18.75" for rice, 14.3" for grain and corn

12шт.

36

326-524

BOLT,Hex, 5/16" - 18 x 1-1/2", Gr 8

(Replaces bolt 25654R1) Hex, 5/16"-18 x 1 1/2", G8

24шт.

37

231-5315

FLANGE NUT,Flg, 5/16"-18

NUT, LOCK, (Replaces nut 188471C1) Flg, 5/16"-18

24шт.

38

192254C1

DISC

RETAINER - strip

2шт.

42

1308912C2

PIPE

- shield, spreader

2шт.

43

515-23190

CLAMP,3/4", Insul, 3/8" Bolt

P-type 3/4", Insul, 3/8" Bolt

4шт.

44

1308913C1

SUPPORT

- straw spreader shield

2шт.

45

231-5146

FLANGE NUT,3/8"-16

4шт.

46

409-7612

BOLT,3/8"-16 x 1.09" OAL

- hex serrated flange, 3/8 NC x 3/4 inch

4шт.

48

1308914C1

SHIELD

SUPPORT - straw spreader, left-hand

1шт.

49

1308915C1

SHIELD

SUPPORT - straw spreader, right-hand

1шт.

50

1308916C2

SHIELD

- side, spreader

2шт.

51

256873

BOLT,Hex Serr, 5/16" - 18 x 1/2", 5SPL, Full Thd

8шт.

52

232-4115

LOCK NUT,5/16"-18, GC

NUT, LOCK, 5/16"-18, GC

8шт.

53

495-81116

WASHER,8.74mm ID x 25.4mm OD x 1.7mm Thk

- flat, 11/32 x 1 x 3/64 inch (Replaces washer 134238R1)

8шт.

54

1319485C1

DEFLECTOR

upper center

1шт.

55

1321019C

DEFLECTOR, lower center

1шт.

56

135270

SERRATED SCREW,5/16" - 18 x 3/4"

1шт.

Выбрано товаров: 45