Запчасти Case IH 1682 (9-162) - SEPARATOR SHIELDS AND TRIM (09) - CHASSIS ATTACHMENTS

Схема запчастей Case IH 1682 - (9-162) - SEPARATOR SHIELDS AND TRIM (09) - CHASSIS ATTACHMENTS
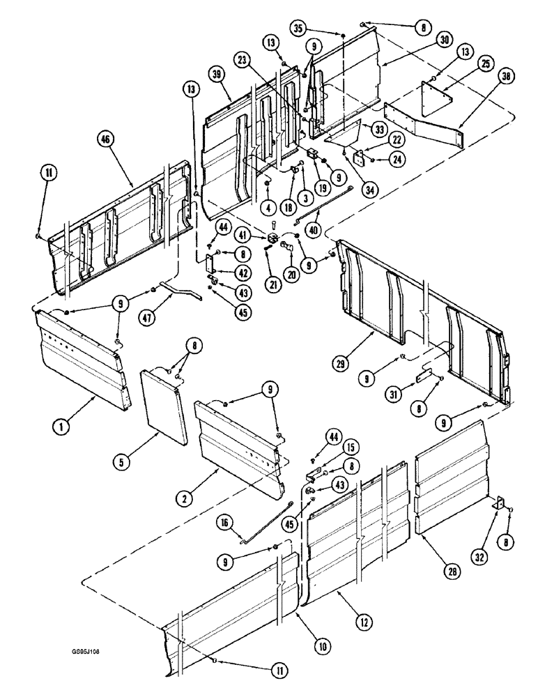
15
9
21
8
44
44
29
39
9
23
43
13
13
8
20
28
11
13
9
24
31
9
45
1
47
45
3
2
9
34
32
33
30
42
9
4
8
8
12
10
8
16
5
22
8
35
25
19
9
38
40
18
11
43
9
41
46
FIT
1:1
100%

Артикул

Название

Примечание

Количество

104148A3

SUPPORT

ASSEMBLY - tail lamp, left-hand (Replaces support 193811C3), Includes: Ref. 1 and decal

1шт.

1

NSS

NOT SOLD SEPARAT

SHEET - support

1шт.

1546335C1

WARNING DECAL

DECAL, WARNING, Service ladder, Not shown, See Figure 9-184, Ref. 8

1шт.

2

193812C5

SHEET

SUPPORT - tail lamp, right-hand (Replaces support 193812C3)

1шт.

3

477-73812

SERRATED SCREW,Truss HD, 3/8" - 16 x 3/4"

- slotted truss head, special, 3/8 NC x 3/4 inch

1шт.

4

231-5146

FLANGE NUT,3/8"-16

1шт.

185647C92

SHEET

PANEL ASSEMBLY - rear hood, with decals., Includes: Ref. 5

1шт.

5

NSS

NOT SOLD SEPARAT

SHEET - rear hood

1шт.

321-4311

DECAL

- SMV emblem, not shown, See Figure 9-185, item 1

1шт.

1327761C1

DECAL

- Warning, avoid injury from rotating spreader or thrown material, not shown, See Figure 9-185, item 16

1шт.

8

135270

SERRATED SCREW,5/16" - 18 x 3/4"

- slotted truss head, 5/16 NC x 3/4 inch

1шт.

9

231-5145

SERRATED NUT,Flg, USR, 5/16"-18

NUT - hex serrated flange, 5/16 inch NC

1шт.

10

194625C7

PANEL

SHIELD - trim, rear right-hand (Replaces shield 194625C5)

1шт.

11

161945C1

SERRATED SCREW,Sl Truss Hd, 5/16" - 18 x 1"

- slotted truss head, 5/16 NC x 1 inch

1шт.

12

189579C1

SHEET

SUPPORT - trim, grain tank right-hand

1шт.

13

477-73108

SERRATED SCREW,Sl Truss Hd, 5/16" - 18 x 1/2"

- slotted truss head, 5/16 NC x 1/2 inch

1шт.

15

184601C1

BRACKET

SUPPORT - trim latch, right-hand rear

1шт.

16

184737C1

BRACE

ROD - front door, right-hand

1шт.

18

363660R1

CLIP

- brace, trim (Replaces clip 188302R1)

2шт.

19

188103C1

BRACKET

- yoke, hood anchor

2шт.

20

494307C1

LATCH

HOOK - hold down, trim

4шт.

21

432-812

COTTER PIN,3/4" OAL x 1/8" W

PIN, SPLIT (COTTER), 1/8" x 3/4"

4шт.

22

185654C1

BRACKET

SUPPORT - outer, right-hand

2шт.

23

937875R1

SCREW,Serr, 1/4" - 20

- slotted truss head, 1/4 NC x 3/4 inch

8шт.

24

231-5144

SERRATED NUT,Flg, USR, 1/4"-20

8шт.

25

181822C1

SUPPORT

BRACKET - support, inner

2шт.

28

184978C1

SHEET

SUPPORT - trim, front right-hand

1шт.

29

189608C3

SHEET

SUPPORT - trim, front

1шт.

30

184977C1

SHEET

SUPPORT - trim, front left-hand

1шт.

31

189613C1

STRIP

BAR - support, front

2шт.

32

1305521C1

COVER

- corner

2шт.

33

184756C1

SHIELD

- unloader drive

1шт.

34

937059R1

SCREW,Serr, M10 x 70mm, Cl 10.9

- slotted truss head, 1/4 NC x 1/2 inch

3шт.

35

231-5144

SERRATED NUT,Flg, USR, 1/4"-20

3шт.

38

185653C1

BRACKET

SUPPORT - inner

2шт.

39

189578C1

SHEET

SUPPORT - trim, grain tank left-hand

1шт.

40

186570C1

ROD

- door, front left-hand

1шт.

41

184656C1

YOKE

BRACKET - yoke, anchor front

2шт.

42

188185C1

SUPPORT

- latch, left-hand rear trim

1шт.

43

L105124

LATCH HOOK

HOOK - latch, trim (Replaces hook 764071C1)

4шт.

44

440-1108

SCREW,Cross Pan Hd, #10-24 x 1/2"

- machine, pan Phillips, No. 10 x 1/2 inch (Replaces screw 159920)

8шт.

45

231-51409

SERRATED NUT,Flg, USR, #10-24

1шт.

46

194624C2

SHIELD

- trim, rear left-hand

1шт.

47

185648C1

ANGLE

SUPPORT - trim, left-hand

1шт.

Выбрано товаров: 44