Запчасти Case IH 1682 (4-16) - CIRCUIT BREAKER (06) - ELECTRICAL

Схема запчастей Case IH 1682 - (4-16) - CIRCUIT BREAKER (06) - ELECTRICAL
5
1
2
4
9
3
10
1
FIT
1:1
100%

Артикул

Название

Примечание

Количество

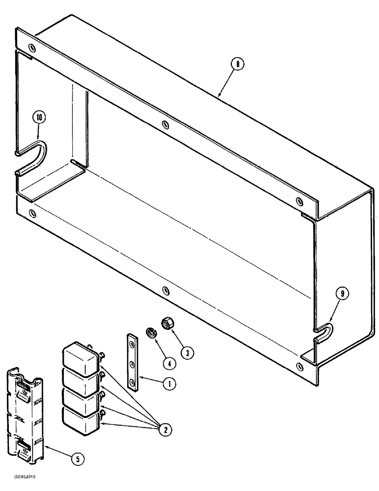
1

245861C1

BAR

- breaker bus, plate

1шт.

2

245765C1

CIRCUIT-BREAKER,30A

BREAKER - circuit, 30 ampere

1шт.

2

245763C1

CIRCUIT-BREAKER,20A

BREAKER - circuit, 20 ampere

1шт.

2

245761C1

CIRCUIT-BREAKER

BREAKER - circuit, 10 ampere

2шт.

3

225-14210

NUT,#10-32

(Replaces nut 120614) #10-32

8шт.

4

492-11010

LOCK WASHER,#10

WASHER, LOCK, #10

8шт.

5

245870C1

BRACKET

- circuit breaker

1шт.

1968988C1

TRANSFER BOX

COVER ASSEMBLY - junction box, Includes: Ref. 8 and decal

1шт.

8

1327755C1

COVER ASSY

COVER - electric components

1шт.

1968977C1

PRODUCT GRAPHIC

DECAL - Caution, junction box, not shown, See Figure 9-184, item 1A

1шт.

9

92222C1

STRIP

- grommet, left-hand

1шт.

10

92254C1

STRIP

- grommet, right-hand

1шт.

Выбрано товаров: 12