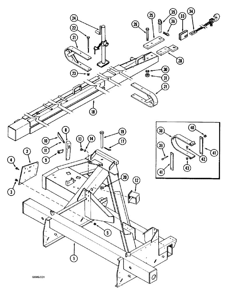
Запчасти Case IH 1682 (9-008) - MAIN FRAME AND TONGUE (09) - CHASSIS ATTACHMENTS

Схема запчастей Case IH 1682 - (9-008) - MAIN FRAME AND TONGUE (09) - CHASSIS ATTACHMENTS
35
25
30
24
20
33
17
13
1
39
42
34
12
22
23
31
36
18
38
5
29
3
19
28
10
11
2
41
43
21
41
21
8
40
14
9
4
FIT
1:1
100%

Артикул

Название

Примечание

Количество

1

NSS

NOT SOLD SEPARAT

FRAME - main, combine

1шт.

2

189559C1

SUPPORT

PLATE - support

1шт.

3

426-816

BOLT,Hex, 1/2" - 13 x 1", Gr 8

- hex, 1/2 NC x 1 inch, grade 8 (Replaces bolt 454998)

7шт.

4

426-820

BOLT,Hex, 1/2" - 13 x 1-1/4", Gr 8

- hex, 1/2 NC x 1-1/4 inch, grade 8 (Replaces bolt 455000)

2шт.

5

232-5138

FLANGE NUT,Flg, USR, 1/2"-13, G8

9шт.

8

189327C1

WEDGE

- locating, tongue

1шт.

9

1338021C1

PIN,7.94mm OD

- safety (Replaces pin 407171R1)

1шт.

10

184909C1

WEDGE

- knockout

1шт.

11

138-2005

PIN,1/4" x 1", Coiled

1шт.

12

185677C2

STOP

- tongue

1шт.

13

413-820

BOLT,Hex, 1/2" - 13 x 1-1/4", Gr 5

- hex, 1/2 NC x 1-1/4 inch

2шт.

14

80679

LOCK WASHER,1/20.507 CST ZND

WASHER, LOCK, 1/2"

2шт.

17

432-2448

COTTER PIN,3/8" x 3"

Pin, Split (Cotter), 3/8" x 3"

1шт.

18

189248C3

TOW BAR

TONGUE - tow, combine

1шт.

19

189325C2

PIN ASSY.

PIN - pivot, tongue

1шт.

20

396-31131

WASHER,1 3/8" x 2 1/2" x 1/4", HDN

- flat, 1-3/8 x 2-1/2 x 1/4 inch, hardened (Replaces washer 181895C1)

1шт.

21

1308485C3

CHANNEL

- stop

2шт.

22

27955R1

BOLT,Hex, 5/8" - 11 x 10 1/2", Gr 8

- hex, 5/8 NC x 10-1/2 inch

2шт.

23

232-51310

FLANGE NUT,Flg, USR, 5/8"-12

- hex serrated flange, 5/8 inch NC, grade 8

2шт.

24

179809C2

HOIST

JACK - tongue

1шт.

25

189254C1

BAR

- hitch

1шт.

28

189255C1

PLATE

SUPPORT - clevis

1шт.

29

413-16136

BOLT,Hex, 1" - 8 x 8-1/2", Gr 5

- hex, 1 NC x 8-1/2 inch (Replaces bolt 21466R1)

2шт.

30

131144

SPARE PART,1"

1"

2шт.

31

129-110

NUT,1"-8, G5

(Replaces nut 220088) 1"-8, G5

2шт.

33

189352C2

CHANNEL

- safety chain

1шт.

34

63506C3

CHAIN (AG)

CHAIN - hitch, 3/8 link x 59-7/64 inch, safety

1шт.

35

26642R1

BOLT,Hex, 1 1/4" - 7 x 8", Gr 8

PIN - drawbar

1шт.

36

407213R1

PIN

- hair cotter

1шт.

38

1320018C1

CHANNEL

- stop, drawbar extension

2шт.

39

413-664

BOLT,Hex, 3/8" - 16 x 4", Gr 5

- hex, 3/8 NC x 4 inch

4шт.

40

231-5146

FLANGE NUT,3/8"-16

4шт.

41

1320020C1

BAR

- stop

4шт.

42

413-824

BOLT,Hex, 1/2" - 13 x 1-1/2", Gr 5

4шт.

43

231-5148

FLANGE NUT,Flg, USR, 1/2"-13

4шт.

Выбрано товаров: 35