Запчасти Case IH 1688 (5-18) - STEERING AXLE SHIELD (04) - STEERING

Схема запчастей Case IH 1688 - (5-18) - STEERING AXLE SHIELD (04) - STEERING
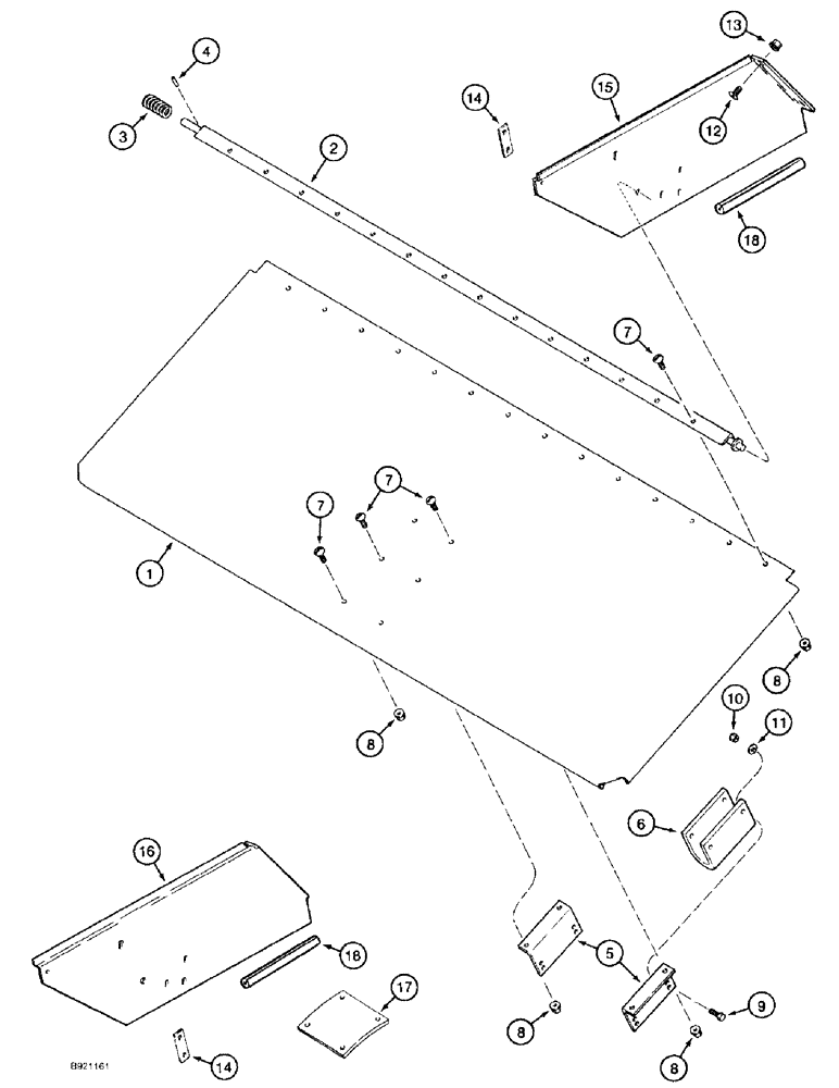
6
2
8
14
4
14
9
13
12
7
5
15
11
8
3
10
17
7
16
18
7
8
1
8
18
FIT
1:1
100%

Артикул

Название

Примечание

Количество

1

1325597C2

SHIELD

steering axle

1шт.

2

188176C1

SUPPORT

axle shield

1шт.

3

203942C1

SPRING

shield pivot

1шт.

4

38-1814

LOCK PIN,1/8" x 7/8", Slotted

1/8" x 7/8", Slotted

1шт.

5

183093C1

BRACKET

shield support

2шт.

6

183094C1

CUSHION

SUPPORT axle shield

1шт.

7

135270

SERRATED SCREW,5/16" - 18 x 3/4"

slotted truss head, 5/16 NC x 3/4 inch

1шт.

8

231-5145

SERRATED NUT,Flg, USR, 5/16"-18

1шт.

9

413-516

BOLT,Hex, 5/16" - 18 x 1", Gr 5

4шт.

10

232-4115

LOCK NUT,5/16"-18, GC

4шт.

11

495-11034

WASHER,5/16", SAE

(flat, 11/32 x 11/16 x 1/16")

4шт.

12

477-73812

SERRATED SCREW,Truss HD, 3/8" - 16 x 3/4"

slotted truss head, special, 3/8 NC x 3/4 inch

4шт.

13

231-5146

FLANGE NUT,3/8"-16

4шт.

14

1325376C1

PLATE

BRACKET hood extension, retaining

2шт.

15

1322479C3

PLATE

hood extension, right hand

1шт.

16

1322478C3

PLATE

hood extension, left hand

1шт.

17

1345126C1

CUSHION

axle shield

1шт.

18

1968976C1

SEALING STRIP

TRIM edge

2шт.

Выбрано товаров: 18