Запчасти Case IH 1688 (5-24) - STEERING CYLINDER AND TIE ROD, POWER GUIDE AXLE (04) - STEERING

Схема запчастей Case IH 1688 - (5-24) - STEERING CYLINDER AND TIE ROD, POWER GUIDE AXLE (04) - STEERING
3
28
31
27
16
42
10
13
32
12
23
42
18
31
27
22
4
13
34
23
38
7
12
34
8
5
25
17
6
20
39
19
28
6
8
30
30
1
7
32
9
9
41
11
24
40
14
26
10
2
25
11
33
26
33
24
FIT
1:1
100%

Артикул

Название

Примечание

Количество

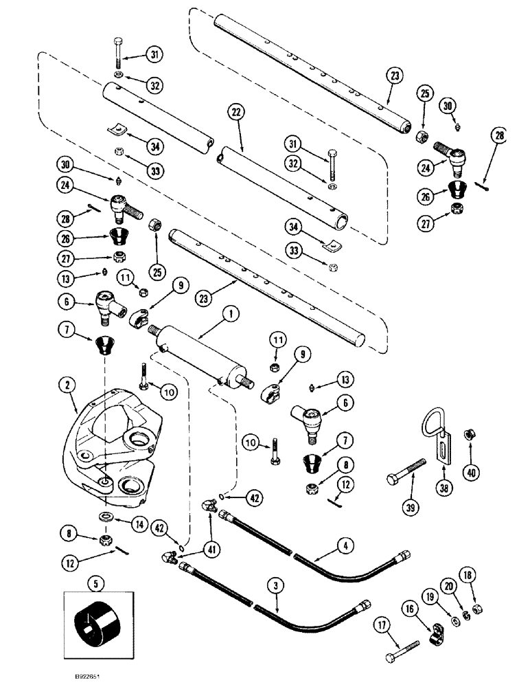
1

1958024C1

STEERING CYLINDER

ASSEMBLY 2-1/2 (64) ID x 9 inch (229 mm) stroke, parts list Figure 5-36

1шт.

87337226R

REMAN-HYD CYLINDER

1688 ( 1/93 - 12/94 ) Reman For New P/N 1958024C1

1шт.

87337226C

CORE-HYD CYLINDER

Return Number

1шт.

2

REF

INSTRUCTION

CARRIER, Motor, see Figure 5-30 Ref. 3 for correct assembly

2шт.

3

813006C2

HYDRAULIC HOSE

85 inch (2160 mm) long

1шт.

4

183920C1

HOSE ASSY.

77 inch (1956 mm) long

1шт.

5

167955C2

SEAL

GROMMET steering cylinder hoses

1шт.

6

186140C91

BALL JOINT

END ASSEMBLY steering cylinder, Includes: Ref. 7 - 11

2шт.

7

110373R1

DUST CAP

end, cylinder, ball joint

1шт.

8

425-1314

SLOTTED NUT,7/8"-14, G5

hex, slotted, 7/8 inch NF, grade 8

1шт.

9

446308C91

CLAMP

ASSEMBLY ball joint, Includes: Ref. 10 and 11

1шт.

10

413-730

BOLT,Hex, 7/16" - 14 x 1-7/8", Gr 5

BOLT hex, 7/16 NC x 1-7/8 inch

1шт.

11

231-4117

LOCK NUT,7/16"-14, GB

hex, self-locking, 7/16 inch NC

1шт.

12

432-816

COTTER PIN,1/8" x 1"

2шт.

13

219-1

LUBE NIPPLE,1/8" - 27 NPTF

2шт.

14

496-21094

WASHER,23.82mm ID x 44.45mm OD x 4.85mm Thk

1шт.

16

26613R1

CLAMP,1 7/8", Insul, 1/2" Bolt

1-7/8 inch diameter

1шт.

17

413-572

BOLT,Hex, 5/16" - 18 x 4-1/2", Gr 5

BOLT hex, 5/16 NC x 4-1/2 inch

1шт.

18

425-105

NUT,5/16"-18, G5

1шт.

19

495-81116

WASHER,8.74mm ID x 25.4mm OD x 1.7mm Thk

flat, 11/32 x 1 x 3/64 inch

1шт.

20

492-11031

LOCK WASHER,5/16"

1шт.

22

1970102C1

TUBE

tie rod, outer

1шт.

23

1970103C1

TUBE,1.062" ID, 1.625" OD, 33" Length

tie rod, inner

2шт.

24

1968998C1

BALL JOINT

tie rod

2шт.

25

1970391C1

JAM NUT

hex, jam, special, 1-1/8 inch NF

2шт.

26

110373R1

DUST CAP

end, cylinder, ball joint

2шт.

27

425-1314

SLOTTED NUT,7/8"-14, G5

hex, slotted, 7/8 inch NF, grade 8

2шт.

28

432-816

COTTER PIN,1/8" x 1"

2шт.

30

219-1

LUBE NIPPLE,1/8" - 27 NPTF

2шт.

31

326-856

BOLT,Hex, 1/2" - 13 x 3-1/2", Gr 8

4шт.

32

1970104C1

SPACER

tube, tie rod

4шт.

33

232-4118

NUT,1/2"-13, GC

4шт.

34

1970101C1

CLAMP

centering, tie rod

4шт.

38

1970383C1

GUIDE

hose

4шт.

39

413-1280

BOLT,Hex, 3/4" - 10 x 5", Gr 5

4шт.

40

232-51312

FLANGE NUT,Flg, USR, 3/4"-10

4шт.

41

218-5105

ELBOW,90 Degree Elbow, 9/16" - 18 Male JIC x 9/16" - 18 Male ORB

90 degree, 9/16-18 inch flare x adj O-ring boss, Includes: Ref. 42

2шт.

42

237-6006

O-RING,0.078" Thk x 0.468" ID, -906, Cl 6, 90 Duro

1шт.

Выбрано товаров: 38