Запчасти Case IH 1688 (5-28) - SELECTOR VALVE MOUNTING, POWER GUIDE AXLE (04) - STEERING

Схема запчастей Case IH 1688 - (5-28) - SELECTOR VALVE MOUNTING, POWER GUIDE AXLE (04) - STEERING
7
1
2
6
8
5
4
6
3
8
FIT
1:1
100%

Артикул

Название

Примечание

Количество

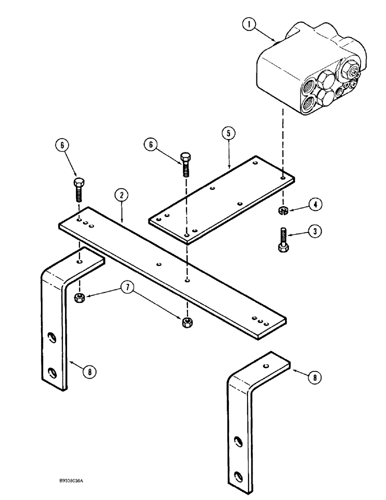
1

REF

INSTRUCTION

VALVE ASSEMBLY selector, parts list Figures 5-38 or 5-40 for correct assembly

1шт.

2

1324455C2

PLATE

PLATE mounting, valve

1шт.

3

426-624

BOLT,Hex, 3/8" - 16 x 1-1/2", Gr 8

2шт.

4

492-11038

LOCK WASHER,3/8"

2шт.

5

1324454C3

BAR

PLATE mounting, valve

1шт.

6

426-616

BOLT,Hex, 3/8" - 16 x 1", Gr 8

4шт.

7

232-4116

NUT,3/8"-16, GC

4шт.

8

1324471C1

BRACKET

SUPPORT valve

2шт.

Выбрано товаров: 0