Запчасти Case IH 1688 (8-16) - OIL COOLER SYSTEM, CORN AND GRAIN COMBINE, WITH POWER GUIDE AXLE (07) - HYDRAULICS

Схема запчастей Case IH 1688 - (8-16) - OIL COOLER SYSTEM, CORN AND GRAIN COMBINE, WITH POWER GUIDE AXLE (07) - HYDRAULICS
1
12
19
10
7
22
12
16
3
13
2
20
7
7
18
4
9
7
5
12
12
6
7
21
7
16
14
11
17
7
15
8
FIT
1:1
100%

Артикул

Название

Примечание

Количество

1

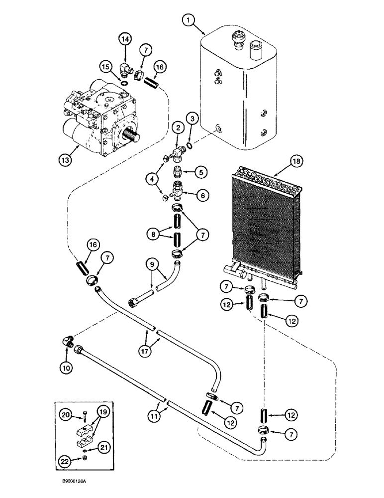
1343660C1

RESERVOIR

ASSEMBLY hydraulic oil, 10 gallon, parts list Figure 8-2

1шт.

2

1979760C1

TEE

return, at reservoir

1шт.

3

237-6016

O-RING,0.116" Thk x 1.171" ID, -916, Cl 6, 90 Duro

1шт.

4

214-1404

HOSE CLAMP,#04, 0.25" - 0.62", Type F Worm

Adj

2шт.

5

1343558C1

VALVE

bypass, power guide axle

1шт.

6

1979655C1

TEE

return, hose to bypass valve

1шт.

7

214-1516

HOSE CLAMP,#16, 0.81" - 1.5", Type F Worm, W/ Liner

Adjustable

8шт.

8

1979764C2

HOSE

10-1/2 inch (267 mm) long, cut from 364361C1 bulk, cooler return to tee, see this Figure

1шт.

9

1979666C1

HYD TUBE,1" OD

cooler to reservoir

1шт.

10

218-478

ELBOW,90 Degree Elbow, 1-5/16" - 12 Male JIC x 1-5/16" - 12 Male JIC

ELBOW 90 degree, 1-5/16-12 inch flare x flare

1шт.

11

1324941C1

HYD TUBE,1" OD, 1790.5, 127 mm Length

TUBE oil cooler return

1шт.

12

1977227C1

HOSE

41 inch (1039 mm) long, cut from 364361C1 bulk, at cooler, replaces 1040 mm length, see this Figure

2шт.

13

1343716C2

PUMP, HYDROSTATIC

HYDROSTATIC PUMP ASSEMBLY parts list Figures 6-22 - 6-32

1шт.

87637528R

REMAN-HYDROSTAT PUMP

1688 (1/93-12/94), Reman for New P/N 1343716C2

1шт.

87637528C

CORE-HYDROSTAT PUMP

Return Number

1шт.

14

1546404C1

ELBOW

90 degree, 1-1/16-12 O-ring x 1 inch stem end, Includes: Ref. 15

1шт.

15

237-6012

O-RING,0.116" Thk x 0.924" ID, -912, Cl 6, 90 Duro

1шт.

16

1979762C2

HOSE

24-1/4 inch (610 mm) long, cut from 364361C1 bulk, cooler to pump, see this Figure

1шт.

17

1979658C1

HYD TUBE,1" OD

oil cooler supply

1шт.

18

111078A3

COOLER

ASSEMBLY hydraulic oil, parts list Figure 8-20

1шт.

19

1347071C1

CLAMP

CLAMP 1 inch OD, tube retaining

2шт.

20

413-536

BOLT,Hex, 5/16" - 18 x 2-1/4", Gr 5

If used

2шт.

21

495-21038

WASHER,5/16"

(flat, 3/8 x 7/8 x 3/32")

2шт.

22

231-5145

SERRATED NUT,Flg, USR, 5/16"-18

2шт.

364361C1

HOSE

bulk, 1 (25) ID x 600 inch (15240 mm) long

1шт.

Выбрано товаров: 25