Запчасти Case IH 1688 (8-24) - HEADER LIFT SUPPLY SYSTEM (07) - HYDRAULICS

Схема запчастей Case IH 1688 - (8-24) - HEADER LIFT SUPPLY SYSTEM (07) - HYDRAULICS
27
5
16
28
24
12
27
28
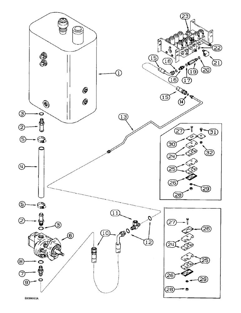
3
26
21
30
13
8
1
10
22
26
23
2
24
2
29
20
5
3
9
11
26
14
31
6
19
25
29
17
4
7
15
25
32
15
18
FIT
1:1
100%

Артикул

Название

Примечание

Количество

1

1343660C1

RESERVOIR

ASSEMBLY hydraulic oil, 10 gallon, parts list Figure 8-2

1шт.

2

217-178

FITTING,1-1/4" Hose Barb x 1-5/8" - 12 Male ORB

Adapter straight, Incl. Ref. 3

2шт.

3

237-6020

O-RING,0.118" Thk x 1.475" ID, -920, Cl 6, 90 Duro

1шт.

4

1989349C3

HOSE

10-5/8 inch (270 mm) long, cut from 1541953C1 bulk, see this Figure

1шт.

5

214-3232

HOSE CLAMP,1-1/4" - 2-1/8", HD Worm, W/ Liner

Adjustable

2шт.

6

1994653C2

PUMP

ASSEMBLY auxiliary drive, parts list Figure 8-30 for repair kits

1шт.

1994653C2R

REMAN-HYD PUMP

1688 (1/93 - 12/94)

1шт.

1994653C2C

CORE-HYDRAULIC PUMP

Return Number

1шт.

7

201-104

HYD CONNECTOR,1-3/16" - 12 Male ORFS x 1-1/16" - 12 Male ORB

Includes Ref. 8 and 9

1шт.

8

237-6012

O-RING,0.116" Thk x 0.924" ID, -912, Cl 6, 90 Duro

1шт.

9

238-6018

O-RING,0.07" Thk x 0.739" ID, -18, Cl 6, 90 Duro

1шт.

10

1980050C2

HOSE,15.88mm ID x 737mm L

29 inch (737 mm) long, auxiliary pump pressure

1шт.

11

201-419

TEE,1 3/16"-12 ORFS x 1 3/16"-18 Sw Br

1-3/16-12 inch swivel face branch x face seal x face seal, Includes: Ref. 12

1шт.

12

238-6018

O-RING,0.07" Thk x 0.739" ID, -18, Cl 6, 90 Duro

2шт.

13

1989282C3

HYD TUBE

header lift supply

1шт.

14

238-6018

O-RING,0.07" Thk x 0.739" ID, -18, Cl 6, 90 Duro

1шт.

15

1989509C2

HOSE

24 inch (610 mm) long, valve stack supply

1шт.

16

201-104

HYD CONNECTOR,1-3/16" - 12 Male ORFS x 1-1/16" - 12 Male ORB

Includes Ref. 17 and 18

1шт.

17

237-6012

O-RING,0.116" Thk x 0.924" ID, -912, Cl 6, 90 Duro

1шт.

18

238-6018

O-RING,0.07" Thk x 0.739" ID, -18, Cl 6, 90 Duro

1шт.

19

1272346C1

FILTER

inline, valve pressure line, Includes: Ref. 20

1шт.

20

237-6012

O-RING,0.116" Thk x 0.924" ID, -912, Cl 6, 90 Duro

1шт.

21

1989475C3

TEE

special, 5/8 O-ring boss adj, x 3/4 x 3/8 inch, Includes: Ref. 22

1шт.

22

237-6010

O-RING,0.097" Thk x 0.755" ID, -910, Cl 6, 90 Duro

1шт.

23

REF

INSTRUCTION

VALVE ASSEMBLY control, parts list Figures 8-38 - 8-60

1шт.

24

1347072C1

CLAMP

3/4 inch OD

4шт.

25

1989362C1

CLAMP

two piece

4шт.

26

1347127C1

PLATE

clamp, hose

6шт.

27

424-564

BOLT,Hex, 5/16" - 18 x 4", Gr 2

BOLT hex, 5/16 NC x 4 inch, grade 2

4шт.

28

232-4115

LOCK NUT,5/16"-18, GC

1шт.

29

495-11034

WASHER,5/16", SAE

(flat, 11/32 x 11/16 x 1/16")

1шт.

30

1989304C2

ANGLE

BRACKET tube, front mounting

2шт.

31

458-512

BOLT,Hex, 5/16" - 18 x 3/4", Gr 5

2шт.

32

425-105

NUT,5/16"-18, G5

2шт.

1541953C1

HOSE

bulk, 1-1/4 (32 mm) ID x 300 inch (7620 mm) long

1шт.

Выбрано товаров: 0