Запчасти Case IH 1688 (8-36) - HEADER LIFT CYLINDER ASSEMBLY, HEADER LIFT CYLINDER MOUNTING, HYDRAULIC COUPLINGS (07) - HYDRAULICS

Схема запчастей Case IH 1688 - (8-36) - HEADER LIFT CYLINDER ASSEMBLY, HEADER LIFT CYLINDER MOUNTING, HYDRAULIC COUPLINGS (07) - HYDRAULICS
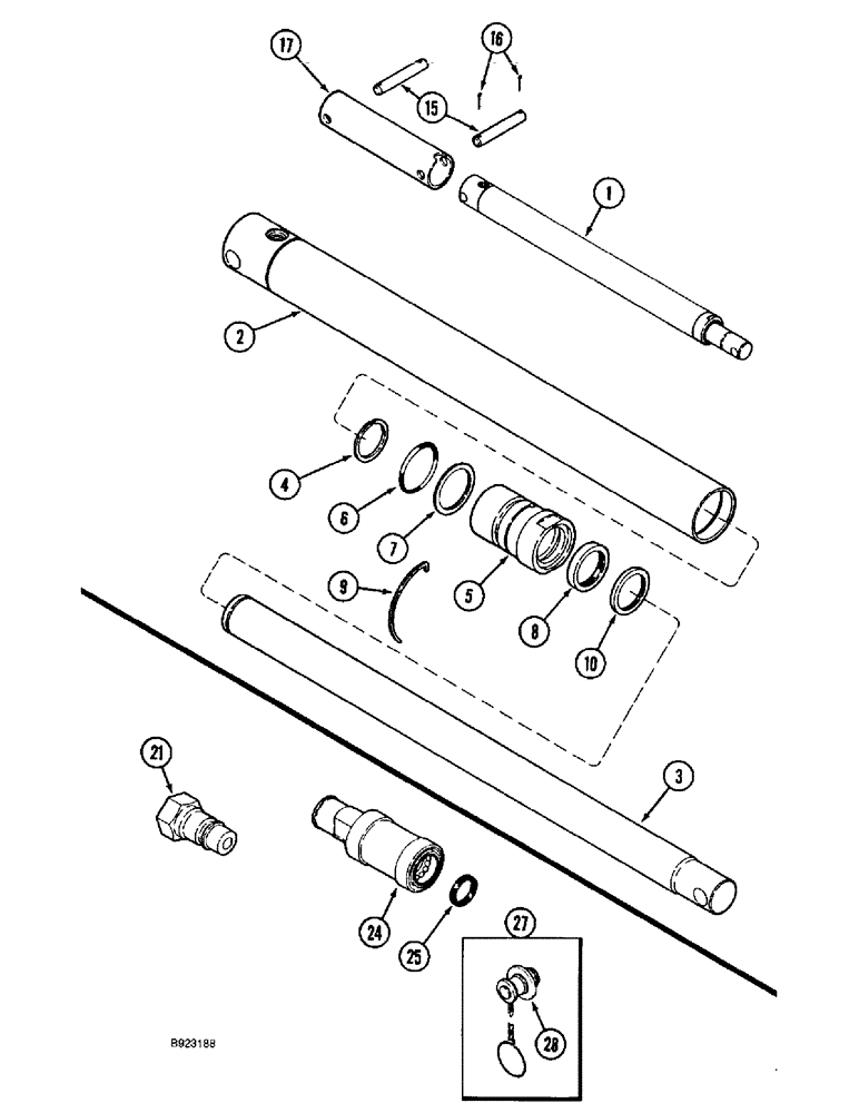
21
10
2
15
28
17
3
16
24
25
27
5
6
4
8
1
9
7
FIT
1:1
100%

Артикул

Название

Примечание

Количество

1

127779C94

CYLINDER,57.07mm Rod, 520.7mm Stroke

ASSEMBLY 2-5/8 (67) ID x 20-1/2 inch (521 mm) stroke, lift, header, Includes: Ref. 2 - 10

2шт.

1

127779C94R

REMAN-HYD CYLINDER

1688 CASE IH AXIAL-FLOW COMBINE, ASSEMBLY 2-5/8 (67) ID x 20-1/2 inch (521 mm) stroke, lift, header (1/93-12/94)

2шт.

1

127779C94C

CORE-HYD CYLINDER

Return Number

2шт.

2

NSS

NOT SOLD SEPARAT

BODY cylinder, order 127779C94, header lift cylinder assemby

1шт.

3

127780C2

ROD

piston, header lift cylinder assemby

1шт.

4

142568C2

HEAD

GLAND cylinder, header lift cylinder assemby

1шт.

224718C92

SEAL KIT

KIT seal, cylinder, header lift assemby, Includes: Ref. 5 - 10

1шт.

5

545710R1

STOP

RING piston rod, header lift cylinder assemby

1шт.

6

NSS

NOT SOLD SEPARAT

O-RING 2-1/2 x 2-11/16 inch, Class 5, header lift cylinder assemby

1шт.

7

NSS

NOT SOLD SEPARAT

WASHER O-ring backup, header lift cylinder assemby

1шт.

8

NSS

NOT SOLD SEPARAT

SEAL piston rod, header lift cylinder assemby

1шт.

9

NSS

NOT SOLD SEPARAT

RING retaining, header lift cylinder assemby

1шт.

10

NSS

NOT SOLD SEPARAT

WIPER piston rod, header lift cylinder assemby

1шт.

15

195822C1

PIN,25.4mm OD x 228.6mm L

header lift cylinder, 1 x 9 inch, mounting

2-4шт.

15

573762R1

PIN,25.4mm OD x 130.97mm L

header lift cylinder, right hand, 1 x 5-5/32 inch, mounting

2шт.

16

432-1628

COTTER PIN,1/4" x 1 3/4"

Header lift cylinder mounting

1шт.

17

1320845C1

TUBE,77.78 mm ID, 88.9 mm OD

cylinder extension, header lift mounting

1шт.

Used on combines with rock trap.

1шт.

21

1272399C2

QUICK MALE COUPLING

COUPLER self-sealing, male, 7/8 inch NF, hydraulic, Includes: Ref. 25

1шт.

24

1282338C91

COUPLING, QUICK, FEM

self-sealing, 7/8-14 inch, hydraulic, Includes: Ref. 25

1шт.

25

A47221

SEALING RING,20.22mm ID x 27.28mm OD x 3.53mm Thk

RING hydraulic couplings

1шт.

27

1954133C1

PLUG

coupling, dust, hydraulic, Includes: Ref. 28

1шт.

28

401758R1

WASHER,14.48mm ID x 38.1mm OD x 3.05mm Thk

dust plug, hydraulic couplings

1шт.

Выбрано товаров: 23