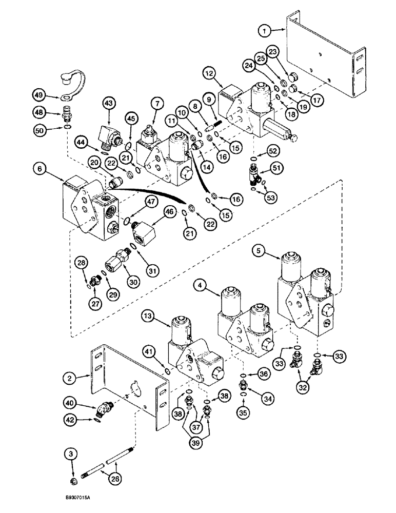
Запчасти Case IH 1688 (8-42) - CONTROL VALVE AND MOUNTING, WITHOUT FORE AND AFT ATTACHMENT (07) - HYDRAULICS

Схема запчастей Case IH 1688 - (8-42) - CONTROL VALVE AND MOUNTING, WITHOUT FORE AND AFT ATTACHMENT (07) - HYDRAULICS
17
14
33
29
10
6
33
16
12
7
39
40
45
22
15
53
38
18
23
24
15
44
13
4
32
19
34
50
51
11
2
3
42
49
21
25
9
16
26
21
30
22
47
46
8
31
48
36
37
1
20
41
43
27
52
38
28
5
35
FIT
1:1
100%

Артикул

Название

Примечание

Количество

1989498C5

VALVE ASSEMBLY control, not available for service, order individual components, Includes: Ref. 1 - 53

1шт.

1986775C3

VALVE ASSEMBLY control, not available for service, order individual components, data base problem, Includes: Ref. 1 - 26

1шт.

1

1541613C1

SUPPORT

BRACKET valve mounting, front

1шт.

2

1989370C2

SUPPORT

BRACKET valve mounting, rear

2шт.

3

231-5144

SERRATED NUT,Flg, USR, 1/4"-20

6шт.

4

107981A2

VALVE

ASSEMBLY unload/single bi-directional, reel lift, parts list Figure 8-46

1шт.

5

1267035C94

VALVE

ASSEMBLY double piloted, unloader swing, parts list Figure 8-48, no longer available, order 124857A1, Serial Range: -JJC119607

1шт.

5

124857A1

VALVE

ASSEMBLY double piloted, unloader swing, parts list Figure 8-50, Start Serial: JJC119607

1шт.

6

1542678C1

VALVE

ASSEMBLY flow divider, parts list Figure 8-52, Includes: Ref. 8 - 11

1шт.

7

1542679C2

VALVE

ASSEMBLY header lift, parts list Figure 8-54, Includes: Ref. 8 - 11

1шт.

8

107957A1

VALVE POPPET

raise check

1шт.

9

107959A1

SPRING

poppet

1шт.

10

238-6016

O-RING,0.07" Thk x 0.614" ID, -16, Cl 6, 90 Duro

Center

2шт.

11

A34493

RING,16.33mm ID x 19.02mm OD x 1.25mm Thk

backup

2шт.

12

1542680C3

VALVE

ASSEMBLY header lower, parts list Figure 8-56, replaces 1542680C2

1шт.

13

1542681C1

VALVE

ASSEMBLY feeder clutch, parts list Figure 8-58

1шт.

14

1301630C2

TUBE,.344" ID, .5" OD, 15" Length

through, Includes: Ref. 15 and 16

9шт.

15

238-6012

O-RING,0.07" Thk x 0.364" ID, -12, Cl 6, 90 Duro

2шт.

16

L31330

BACK-UP RING,109mm ID x 128.81mm OD x 12mm Thk

backup

2шт.

17

1301634C2

PLUG

cap, Includes: Ref. 18 and 19

4шт.

18

238-6012

O-RING,0.07" Thk x 0.364" ID, -12, Cl 6, 90 Duro

1шт.

19

L31330

BACK-UP RING,109mm ID x 128.81mm OD x 12mm Thk

backup

1шт.

20

107984A1

PISTON

TUBE through, Includes: Ref. 21 and 22

1шт.

21

238-6016

O-RING,0.07" Thk x 0.614" ID, -16, Cl 6, 90 Duro

Center

2шт.

22

A34493

RING,16.33mm ID x 19.02mm OD x 1.25mm Thk

backup

2шт.

23

107985A1

PISTON

PLUG cap, large, includes seals, Includes: Ref. 24 and 25

1шт.

24

238-6016

O-RING,0.07" Thk x 0.614" ID, -16, Cl 6, 90 Duro

Center

2шт.

25

A34493

RING,16.33mm ID x 19.02mm OD x 1.25mm Thk

backup

2шт.

26

106439A1

STEM

ROD tie, valve sections, used on models without field tracker attachment

3шт.

See field tracker parts catalog, Bur 8-8860, for field tracker attachment parts.

1шт.

27

201-104

HYD CONNECTOR,1-3/16" - 12 Male ORFS x 1-1/16" - 12 Male ORB

Includes Ref. 28 and 29

1шт.

28

237-6012

O-RING,0.116" Thk x 0.924" ID, -912, Cl 6, 90 Duro

Boss end

1шт.

29

238-6018

O-RING,0.07" Thk x 0.739" ID, -18, Cl 6, 90 Duro

1шт.

30

1272346C1

FILTER

inline, Includes: Ref. 31

1шт.

31

237-6012

O-RING,0.116" Thk x 0.924" ID, -912, Cl 6, 90 Duro

1шт.

32

218-5320

ELBOW,90 Degree, 7/16"-20, 37 Degree x 3/4"-16, O-Ring

90 degree, 7/16-20 flare x 3/4-16 inch adj O-ring boss, Includes: Ref. 33

2шт.

33

237-6008

O-RING,0.087" Thk x 0.644" ID, -908, Cl 6, 90 Duro

1шт.

34

201-125

HYD CONNECTOR,11/16"-16 ORFS x 7/16"-20 ORB

ADAPTER staight, 11/16-16 face seal x 7/16-20 inch O-ring boss, Includes: Ref. 35 and 36

1шт.

35

238-6012

O-RING,0.07" Thk x 0.364" ID, -12, Cl 6, 90 Duro

1шт.

36

237-6004

O-RING,0.072" Thk x 0.351" ID, -904, Cl 6, 90 Duro

1шт.

37

201-106

HYD CONNECTOR,11/16" - 16 Male ORFS x 3/4" - 16 Male ORB

ADAPTER staight, 11/16-16 face seal x 3/4-16 inch O-ring boss, Includes: Ref. 38 and 39

2шт.

38

237-6008

O-RING,0.087" Thk x 0.644" ID, -908, Cl 6, 90 Duro

1шт.

39

238-6012

O-RING,0.07" Thk x 0.364" ID, -12, Cl 6, 90 Duro

1шт.

40

201-321

ELBOW,45 Degree Elbow, 13/16" - 16 Male ORFS x 9/16" - 18 Male ORB

45 degree, 13/16-16 face seal x 9/16-18 inch adj O-ring boss, Includes: Ref. 41 and 42

1шт.

42

238-6014

O-RING,0.07" Thk x 0.489" ID, -14, Cl 6, 90 Duro

1шт.

43

201-350

ELBOW,90 Degree Elbow, 1-3/16" - 12 Male ORFS x 7/8" - 14 Male ORB

90 degree, 1-3/16-12 face seal x 7/8-14 inch adj O-ring boss, Includes: Ref. 44 and 45

1шт.

44

238-6018

O-RING,0.07" Thk x 0.739" ID, -18, Cl 6, 90 Duro

1шт.

45

237-6010

O-RING,0.097" Thk x 0.755" ID, -910, Cl 6, 90 Duro

1шт.

46

1989475C3

TEE

special, 5/8 O-ring boss adj, x 3/4 x 3/8 inch, Includes: Ref. 47

1шт.

47

237-6010

O-RING,0.097" Thk x 0.755" ID, -910, Cl 6, 90 Duro

1шт.

48

1541849C1

COUPLING

ASSEMBLY diagnostic, Includes: Ref. 49 and 50

1шт.

49

H434163

DUST CAP

1шт.

51

201-412

TEE,13/16" - 16 ORFS x 13/16" - 16 ORFS x 3/4" - 16 ORB

13/16-16 face branch x face x 3/4-16 inch adj O-ring, Includes: Ref. 52 and 53

1шт.

52

237-6008

O-RING,0.087" Thk x 0.644" ID, -908, Cl 6, 90 Duro

1шт.

53

238-6014

O-RING,0.07" Thk x 0.489" ID, -14, Cl 6, 90 Duro

2шт.

41

237-6006

O-RING,0.078" Thk x 0.468" ID, -906, Cl 6, 90 Duro

1шт.

50

237-6006

O-RING,0.078" Thk x 0.468" ID, -906, Cl 6, 90 Duro

1шт.

Выбрано товаров: 57