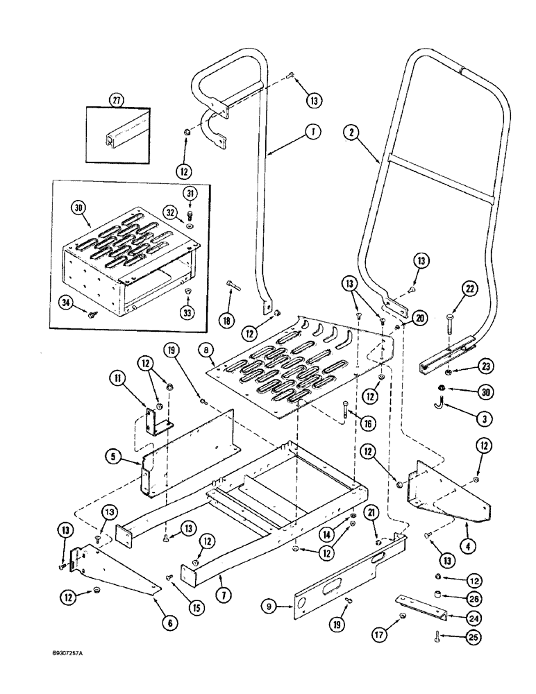
Запчасти Case IH 1688 (9H-26) - OPERATORS PLATFORM EXTENSION (12) - CHASSIS

Схема запчастей Case IH 1688 - (9H-26) - OPERATORS PLATFORM EXTENSION (12) - CHASSIS
12
19
18
31
13
25
3
5
9
17
22
20
13
13
14
24
1
12
7
12
11
4
6
30
32
12
26
12
8
23
33
13
16
13
12
12
34
13
19
30
12
12
21
13
12
15
27
2
FIT
1:1
100%

Артикул

Название

Примечание

Количество

1

196642C2

RAIL

hand, platform extension, rear

1шт.

2

198548C1

RAIL

platform extenstion, front

1шт.

3

196967C2

BOLT,3/8" - 16 x 2"

front hand rail hook, special

1шт.

4

198541C3

SUPPORT ASSY.

platform extension, front

1шт.

5

198543C3

SUPPORT

platform extension, left hand

1шт.

6

1338309C2

SUPPORT

operators platform extension

1шт.

7

198535C4

SUPPORT

extension

1шт.

8

198547C3

LARGE PLATE

PLATE, LARGE TREAD platform extension

1шт.

9

198542C3

SUPPORT

extension, right hand

1шт.

11

183761C1

ANGLE

rear extension

1шт.

12

231-5146

FLANGE NUT,3/8"-16

1шт.

13

477-73812

SERRATED SCREW,Truss HD, 3/8" - 16 x 3/4"

slotted truss head, special, 3/8 NC x 3/4 inch

17шт.

14

495-81140

WASHER,13/32" x 1 1/4" x .060"

3шт.

15

477-73816

SERRATED SCREW,Sl Truss Hd, 3/8" x 1"

Special

5шт.

16

413-640

BOLT,Hex, 3/8" - 16 x 2-1/2", Gr 5

Not shown

1шт.

17

231-5148

FLANGE NUT,Flg, USR, 1/2"-13

2шт.

18

413-632

BOLT,Hex, 3/8" - 16 x 2", Gr 5

1шт.

19

281-1478

SELF-TAP SCREW,1/4" - 20 x 1/2"

self-tapping, hex washer head, 1/4 NC x 1/2 inch

6шт.

20

477-73108

SERRATED SCREW,Sl Truss Hd, 5/16" - 18 x 1/2"

slotted truss head, 5/16 NC x 1/2 inch

2шт.

21

231-5145

SERRATED NUT,Flg, USR, 5/16"-18

2шт.

22

326-844

BOLT,Hex, 1/2" - 13 x 2-3/4", Gr 8

1шт.

23

231-5148

FLANGE NUT,Flg, USR, 1/2"-13

1шт.

24

1321894C1

BRACKET

ANGLE operators platform

1шт.

25

413-624

BOLT,Hex, 3/8" - 16 x 1-1/2", Gr 5

1шт.

26

85490H

SPACER

5/8 x 3/4 inch

2шт.

27

NSS

NOT SOLD SEPARAT

MOLDING seal, 27 inch, cut from 196707C1 bulk trim, see this Figure

1шт.

30

1979515C1

SUPPORT

platform extension, 14 inch

1шт.

31

409-7612

BOLT,3/8"-16 x 1.09" OAL

4шт.

32

495-81140

WASHER,13/32" x 1 1/4" x .060"

4шт.

33

231-5146

FLANGE NUT,3/8"-16

4шт.

34

281-34912

SELF-TAP SCREW,Hex Washer, 3/8" - 16 x 3/4"

self-tapping, hex washer head, 3/8 NC x 3/4 inch

3шт.

196707C1

SEAL

TRIM edge, bulk, 600 inch (15240 mm) long, see Ref. 27

1шт.

Выбрано товаров: 32