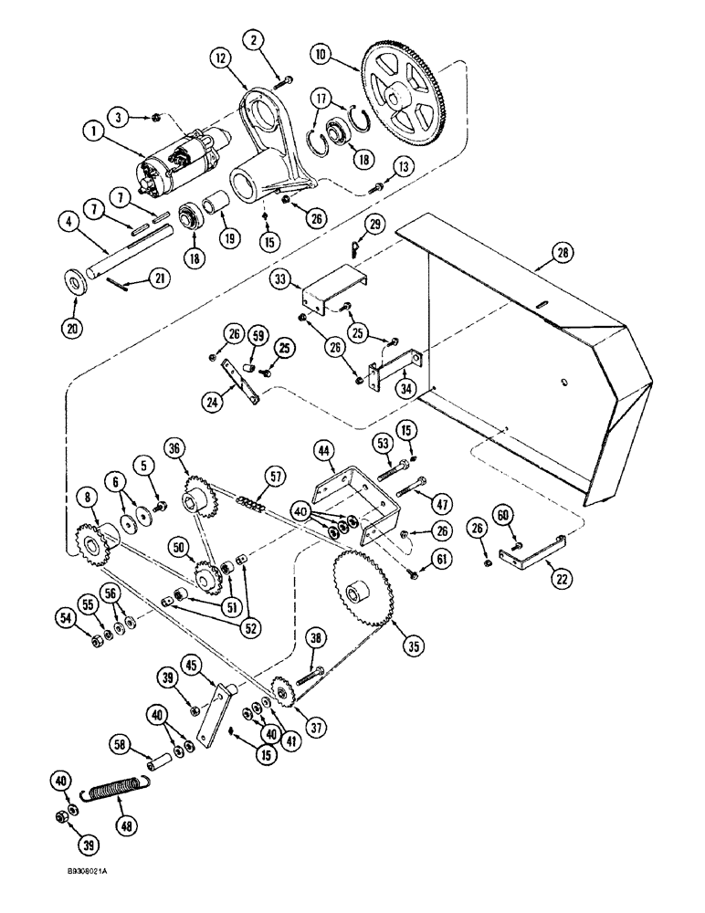
Запчасти Case IH 1688 (9A-43) - FEEDER REVERSER, WITH ROCK TRAP (13) - FEEDER

Схема запчастей Case IH 1688 - (9A-43) - FEEDER REVERSER, WITH ROCK TRAP (13) - FEEDER
36
35
39
44
20
33
26
53
3
19
26
2
58
25
6
17
26
26
51
24
18
37
55
15
4
40
34
15
13
12
26
1
18
38
59
10
29
15
57
7
40
41
40
50
56
40
61
39
60
21
54
5
28
8
52
22
47
25
7
48
45
FIT
1:1
100%

Артикул

Название

Примечание

Количество

1

245927C91

STARTING MOTOR

ASSY feeder reverser, parts list Figure 4-46

1шт.

1

245927C93R

REMAN-STARTER

REMANUFACTURED STARTING MOTOR

1шт.

1

245927C93C

CORE-STARTER

Return Number, STARTING MOTOR

1шт.

2

413-636

BOLT,Hex, 3/8" - 16 x 2-1/4", Gr 5

3шт.

3

231-5146

FLANGE NUT,3/8"-16

3шт.

4

1321534C1

SHAFT

reverser

1шт.

5

409-7816

BOLT,Hex Flg, 1/2" - 13 x 1", Spcl

BOLT hex serrated flange, 1/2 NC x 1 inch

1шт.

6

495-91167

WASHER,13.49mm ID x 50.8mm OD x 3.4mm Thk

flat, 17/32 x 2 x 7/64 inch

2шт.

7

Q51

KEY,3/8" Sq x 2 1/2", Par

2шт.

8

1329717C1

SPROCKET

drive, 20 tooth

1шт.

10

1321537C91

FLYWHEEL

motor, reverser

1шт.

12

1321539C1

HOUSING

shaft, reverser

1шт.

13

187620C1

BOLT,Hex Serr Flg, 3/8" - 16 x 1 1/2"

BOLT hex flange, special, 3/8 NC x 1-1/2 inch

2шт.

15

219-87

LUBE NIPPLE,1/4" - 28 NPTF

3шт.

17

100-21315

SNAP RING,3.156", Int, #315

2шт.

18

597537R91

BEARING ASSY,38.1mm ID x 80mm OD x 18mm W

ball

2шт.

19

1321523C1

SPACER

bearing

1шт.

20

896-16036

WASHER,39mm ID x 78mm OD x 7mm Thk

flat, 39 x 78 x 7 mm, hardened

1шт.

21

38-33248

PIN,1/2" x 3", Coiled

1/2" x 3", Coiled

1шт.

22

1321780C2

SUPPORT

shield

1шт.

24

1321710C1

SUPPORT

shield

1шт.

25

154273C1

BOLT,Hex Serr, 3/8" - 16 x 1", Spcl

BOLT hex, self-locking, special, 3/8 NC x 1 inch

1шт.

26

231-5146

FLANGE NUT,3/8"-16

1шт.

28

120867A1

GUARD

SHIELD feeder reverser, includes decal

1шт.

29

480523R1

HAIR PIN COTTER

4шт.

33

1329840C1

BRACKET

support, rear

1шт.

34

1329838C2

BRACKET

support, front

1шт.

35

1329720C2

SPROCKET

driven, 40 teeth

1шт.

36

1329719C2

SPROCKET

beater driven, rock trap, 20 tooth

1шт.

36

1320110C3

SPROCKET

beater driven, rock trap, 32 tooth, if used

1шт.

36

125407A1

SPROCKET

beater driven, rock trap, 30 tooth, replaced 1320110C3

1шт.

37

541857R92

SPROCKET,15T

idler, 15 teeth

1шт.

38

413-1072

BOLT,Hex, 5/8" - 11 x 4-1/2", Gr 5

1шт.

39

232-41110

NUT,5/8"-11, GC

1шт.

40

495-11066

WASHER,5/8", SAE

flat, 21/32 x 1-5/16 x 3/32 inch

1шт.

41

396-31066

WASHER,21/32" x 1 5/16" x .188", HDN

flat, 21/32 x 1-5/16 x 3/16 inch

1шт.

44

1321528C2

SUPPORT

idler, outer

1шт.

45

1321933C3

SUPPORT

idler

1шт.

47

413-1060

BOLT,Hex, 5/8" - 11 x 3-3/4", Gr 5

BOLT hex, 5/8 NC x 3-3/4 inch

1шт.

48

1330032C1

SPRING

return, idler

1шт.

50

1321531C93

SPROCKET

idler, fixed, Includes: Ref. 51

1шт.

51

630836C91

NEEDLE BEARING,Needle, 25.4mm ID x 33.35mm OD x 20.62mm W

needle, 1-19/64 inch OD

1шт.

52

1327991C1

BUSHING,19.04mm ID x 25.37mm OD x 25.65mm L

bearing, inner

2шт.

53

1327990C1

BOLT,Hex, 3/4" - 10 x 4, Type 5, Drilled

1шт.

54

425-1012

NUT,3/4"-10, G5

1шт.

55

492-11075

LOCK WASHER,3/4"

3/4"

1шт.

56

396-31081

WASHER,20.63mm ID x 38.1mm OD x 5.56mm Thk

2шт.

57

1321529C95

CHAIN,#60, 118 Links x 19.05mm = 2247.9mm

88-1/2 inch long, 118 links, see this Figure

1шт.

Part of KIT and CHAIN, part numbers 111714A1 and 111716A1

1шт.

58

187217C1

SPACER,7/8" Tube x 1 13/16"

1шт.

59

85490H

SPACER

5/8 x 3/4 inch

2шт.

60

413-628

BOLT,Hex, 3/8" - 16 x 1-3/4", Gr 5

2шт.

61

409-7620

BOLT,Hex Flg, 3/8" - 16 x 1 1/4", Spcl

4шт.

111714A1

LINK,Connecting

KIT connecting link, includes link, O-rings, link plate, pin, lube pack and instructions not shown, see Ref. 57

1шт.

111716A1

CHAIN,#60, 3 Links x 19.05mm = 57.15mm

link extension, 2-1/4 inch long, not shown, see Ref. 57

1шт.

Выбрано товаров: 0