Запчасти Case IH 1688 (9C-08) - CLEANING FAN, HOUSING (15) - BEATER & CLEANING FANS

Схема запчастей Case IH 1688 - (9C-08) - CLEANING FAN, HOUSING (15) - BEATER & CLEANING FANS
11
19
23
12
3
15
2
26
10
6
13
29
25
7
10
27
14
4
1
24
28
27
30
21
17
18
22
5
16
20
FIT
1:1
100%

Артикул

Название

Примечание

Количество

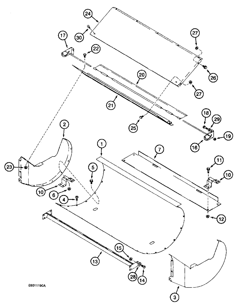
1

1347466C1

HOUSING

cleaning fan

1шт.

2

1347012C2

PLATE

end, left hand

1шт.

3

1347013C2

PLATE

end, right hand

1шт.

4

477-73108

SERRATED SCREW,Sl Truss Hd, 5/16" - 18 x 1/2"

slotted truss head, 5/16 NC x 1/2 inch

14шт.

5

409-7512

BOLT,Hex Flg, 5/16" - 18 x 3/4", Spcl

2шт.

6

231-5145

SERRATED NUT,Flg, USR, 5/16"-18

14шт.

7

1989627C2

SUPPORT

front, housing mounting brackets

1шт.

10

1541543C1

BRACKET

mounting, fan housing, front

2шт.

11

409-7820

BOLT,Hex Flg, 1/2" - 13 x 1 1/4", Spcl

4шт.

12

231-5148

FLANGE NUT,Flg, USR, 1/2"-13

4шт.

13

191928C1

SUPPORT

fan housing, rear

1шт.

14

477-73812

SERRATED SCREW,Truss HD, 3/8" - 16 x 3/4"

slotted truss head, special, 3/8 NC x 3/4 inch

6шт.

15

231-5146

FLANGE NUT,3/8"-16

6шт.

16

1541536C1

LARGE PLATE

PLATE, LARGE lock, fan cutoff, right hand

1шт.

17

1541535C1

LARGE PLATE

PLATE, LARGE lock, fan cutoff, left hand

1шт.

18

434-512

CARRIAGE BOLT,Sht Sq Nk, 5/16" - 18 x 3/4", Gr 5

2шт.

19

231-5145

SERRATED NUT,Flg, USR, 5/16"-18

2шт.

20

1347030C1

HOOD

PLATE fan cutoff

1шт.

21

1541547C1

PLATE

COVER upper, cleaning fan

1шт.

22

135270

SERRATED SCREW,5/16" - 18 x 3/4"

slotted truss head, 5/16 NC x 3/4 inch

4шт.

23

231-5145

SERRATED NUT,Flg, USR, 5/16"-18

4шт.

24

1989340C1

PLATE

filler, fan to auger bed

1шт.

25

135270

SERRATED SCREW,5/16" - 18 x 3/4"

slotted truss head, 5/16 NC x 3/4 inch

5шт.

26

409-7512

BOLT,Hex Flg, 5/16" - 18 x 3/4", Spcl

4шт.

27

231-5145

SERRATED NUT,Flg, USR, 5/16"-18

11шт.

28

495-81135

WASHER,10.31mm ID x 25.4mm OD x 3.4mm Thk

4шт.

29

495-81116

WASHER,8.74mm ID x 25.4mm OD x 1.7mm Thk

flat, 11/32 x 1 x 3/64 inch

2шт.

30

424-58

BOLT,Hex, 5/16" - 18 x 1/2", Gr 2

BOLT hex, 5/16 NC x 1/2 inch, grade 2

2шт.

Выбрано товаров: 28