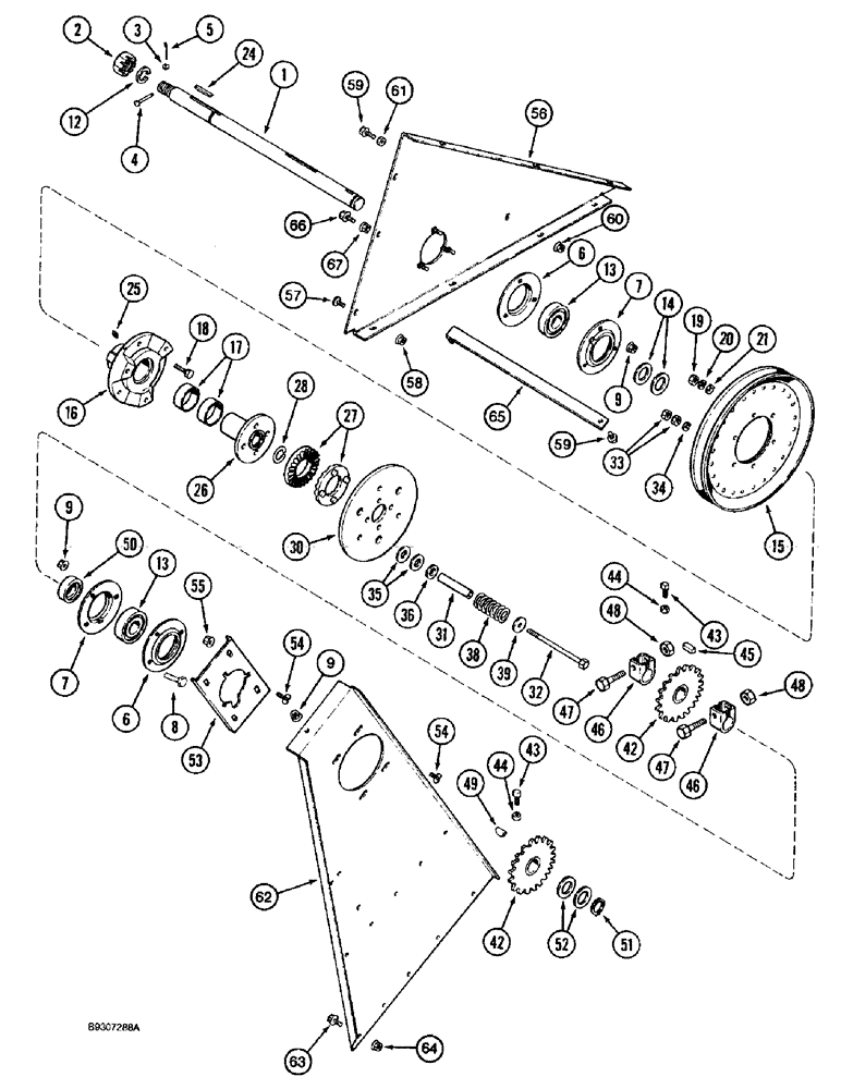
Запчасти Case IH 1688 (9D-28) - ELEVATOR DRIVE JACKSHAFT (16) - GRAIN ELEVATORS & AUGERS

Схема запчастей Case IH 1688 - (9D-28) - ELEVATOR DRIVE JACKSHAFT (16) - GRAIN ELEVATORS & AUGERS
54
25
34
19
53
15
59
32
31
5
9
65
35
49
46
64
4
1
7
47
14
18
52
66
42
9
59
67
43
27
45
57
56
58
62
60
6
39
44
54
28
8
21
30
50
63
12
55
43
13
24
3
13
46
38
61
48
44
48
36
16
2
7
6
9
33
51
20
17
47
42
26
FIT
1:1
100%

Артикул

Название

Примечание

Количество

1

1319247C1

SHAFT

drive, jackshaft

1шт.

2

425-1316

NUT,1"-14, G5

hex, slotted, 1 inch NS

1шт.

3

495-31022

WASHER,#10

1шт.

4

427-3175

CLEVIS PIN,4.78mm OD x 44.45mm L

clevis, 3/16 x 1-3/4 inch, hardened

1шт.

5

432-48

COTTER PIN,1/16" x 1/2"

1шт.

6

473092R1

FLANGED BEARING

bearing

2шт.

7

939462R91

FLANGE

bearing

2шт.

9

231-5146

FLANGE NUT,3/8"-16

7шт.

12

492-11100

LOCK WASHER,1"

1"

1шт.

13

473097R92

BEARING ASSY,1.2505" ID x 72 mm OD x 1"

ball

2шт.

14

183274C2

WASHER,32.51mm ID x 47.75mm OD x 4.57mm Thk

flat, special, 1-9/32 x 1-7/8 x 3/16 inch

1шт.

15

183325C1

PULLEY

driven

1шт.

16

183210C91

HUB

slip clutch, Includes: Ref. 17

1шт.

17

936744R1

BUSHING,47.66mm ID x 50.83mm OD x 19.05mm L

hub

2шт.

18

413-620

BOLT,Hex, 3/8" - 16 x 1-1/4", Gr 5

3шт.

19

231-4116

NUT,3/8"-16, GB

hex, self-locking, 3/8 inch NC

3шт.

20

492-11038

LOCK WASHER,3/8"

3шт.

21

495-11041

WASHER,0.406" ID x 0.812" OD x 0.065" W

Flat, (13/32 x 13/16 x 1/16")

3шт.

24

586879R1

KEY

square parallel, 5/16 x 2 inch

1шт.

25

219-87

LUBE NIPPLE,1/4" - 28 NPTF

2шт.

26

1319232C1

HUB

clutch plate

1шт.

27

B12170

RATCHET,Clutch Slip, 94.49mm

clutch

2шт.

28

1319235C1

RING

retaining

1шт.

30

194835C2

RETAINER

PLATE clutch

1шт.

31

186916C2

BUSHING,11.18mm ID x 19.05mm OD x 87.38mm L

clutch

3шт.

32

413-6104

BOLT,Hex, 3/8" - 16 x 6-1/2", Gr 5

BOLT hex, 3/8 NC x 6-1/2 inch

3шт.

33

425-106

NUT,3/8"-16, Cl 5

6шт.

34

492-11038

LOCK WASHER,3/8"

3шт.

35

495-11081

WASHER,3/4", SAE

1шт.

36

495-81037

WASHER,25/32" x 1 1/4" x .060"

1шт.

38

C13263

SPRING

clutch

3шт.

39

495-81143

WASHER,13/32" x 1 1/2" x .120"

3шт.

42

192139C2

SPROCKET

drive, 25 teeth

2шт.

43

485-13816

SET SCREW,Sq Hd, 3/8"-16 x 1"

Cup point

4шт.

44

425-146

JAM NUT,3/8" - 16, Gr 5

4шт.

45

581306R1

KEY,5/16" Sq x 1 1/4", Par

1шт.

46

225265R1

CLAMP

auger bed gear, sprocket

2шт.

47

413-836

BOLT,Hex, 1/2" - 13 x 2-1/4", Gr 5

2шт.

48

231-4118

LOCK NUT,1/2"-13, GB

hex, self-locking, 1/2 inch NC

2шт.

49

126-125

WOODRUFF KEY,#B, 5/16" x 1", HT

1шт.

50

455104R11

COLLAR

locking, bearing

1шт.

51

100-16125

SNAP RING,#125, Ext

1шт.

52

495-21138

WASHER,1 1/4"

flat, 1-3/8 x 3 x 5/32 inch

1шт.

53

192138C2

BRACKET

outer, jackshaft

1шт.

54

477-73812

SERRATED SCREW,Truss HD, 3/8" - 16 x 3/4"

serrated slotted truss head, 3/8 NC x 3/4 inch

4шт.

55

231-5146

FLANGE NUT,3/8"-16

4шт.

56

183206C1

SUPPORT

jackshaft, inner

1шт.

57

135270

SERRATED SCREW,5/16" - 18 x 3/4"

slotted truss head, 5/16 NC x 3/4 inch

6шт.

58

231-5145

SERRATED NUT,Flg, USR, 5/16"-18

6шт.

59

154273C1

BOLT,Hex Serr, 3/8" - 16 x 1", Spcl

hex, self-locking, special, 3/8 NC x 1 inch

2шт.

60

231-5146

FLANGE NUT,3/8"-16

2шт.

61

425-146

JAM NUT,3/8" - 16, Gr 5

1шт.

62

192190C1

SUPPORT

jackshaft, outer

1шт.

63

409-7612

BOLT,3/8"-16 x 1.09" OAL

10шт.

64

231-5146

FLANGE NUT,3/8"-16

10шт.

65

192230C1

SUPPORT

BRACE outer

1шт.

66

409-7516

BOLT,Hex Flg, 5/16" - 18 x 1", Spcl

1шт.

67

231-5145

SERRATED NUT,Flg, USR, 5/16"-18

1шт.

8

477-73816

SERRATED SCREW,Sl Truss Hd, 3/8" x 1"

3шт.

Выбрано товаров: 59