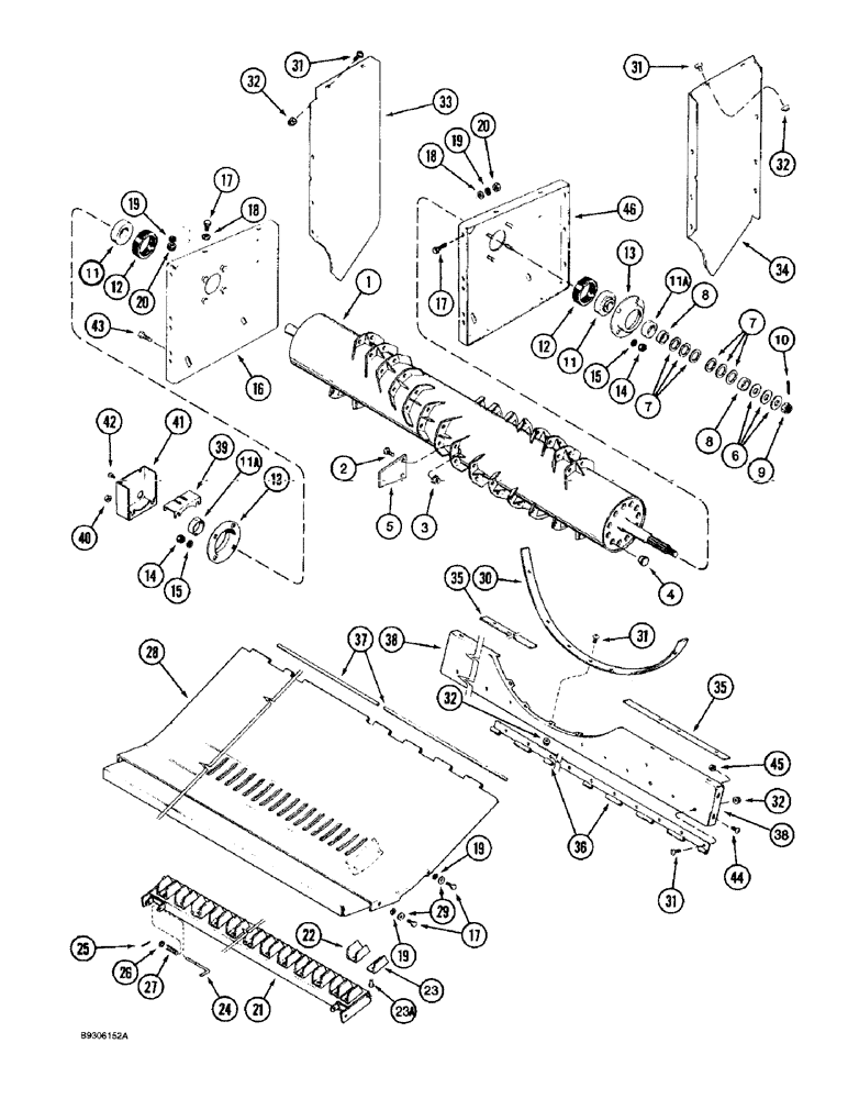
Запчасти Case IH 1688 (9F-16) - STRAW CHOPPER, ROTOR AND CONCAVE (19) - STRAW SPREADER & CHOPPER

Схема запчастей Case IH 1688 - (9F-16) - STRAW CHOPPER, ROTOR AND CONCAVE (19) - STRAW SPREADER & CHOPPER
9
46
34
14
13
29
3
19
38
7
32
11a
28
6
20
32
35
41
8
8
5
26
12
25
19
37
33
17
15
31
18
32
18
31
21
19
23a
19
32
27
2
1
14
35
7
39
13
44
31
11a
23
43
42
20
30
31
12
45
36
16
17
22
10
4
38
40
11
24
11
15
17
FIT
1:1
100%

Артикул

Название

Примечание

Количество

1

185158C91

ROTOR

straw chopper, Includes: Ref. 2 - 4

1шт.

2

413-816

BOLT,Hex, 1/2" - 13 x 1", Gr 5

56шт.

3

231-5148

FLANGE NUT,Flg, USR, 1/2"-13

56шт.

4

1346984C1

PLUG

plastic

18шт.

5

197124C1

PACKAGE

BLADE straw chopper rotor, set of 2

14шт.

6

495-81063

WASHER,0.91" ID x 2" OD x 0.18" Thk

flat, 29/32 x 2 x 5/32 inch

2шт.

6

495-81062

WASHER,0.91" ID x 2" OD x 0.12" Thk

flat, 29/32 x 2 x 7/64 inch

1шт.

7

495-81211

WASHER,34.14mm ID x 50.8mm OD x 3.4mm Thk

flat, 1-11/32 x 2 x 7/64 inch

6шт.

8

181156C1

SPACER

SPACER bearing

2шт.

9

425-1314

SLOTTED NUT,7/8"-14, G5

1шт.

10

432-828

COTTER PIN,1/8" x 1 3/4"

1шт.

11

936133R91

BEARING ASSY,38.1mm ID x 80mm OD x 18mm W

ball

2шт.

11a

455112R11

COLLAR

locking, bearing

2шт.

12

936131R1

RUBBER RING,92.46mm ID x 23.01mm OD x 23.01mm L

bearing

2шт.

13

936130R2

FLANGE

bearing, replaces 936130R1

2шт.

14

425-108

NUT,1/2" - 13, Gr 5

8шт.

15

80679

LOCK WASHER,1/20.507 CST ZND

8шт.

16

181057C1

SUPPORT

rotor, left hand

1шт.

17

413-616

BOLT,Hex, 3/8" - 16 x 1", Gr 5

19шт.

17

413-620

BOLT,Hex, 3/8" - 16 x 1-1/4", Gr 5

1шт.

18

495-11041

WASHER,0.406" ID x 0.812" OD x 0.065" W

Flat, (13/32 x 13/16 x 1/16")

16шт.

19

492-11038

LOCK WASHER,3/8"

20шт.

20

425-106

NUT,3/8"-16, Cl 5

16шт.

21

185135C91

BAR

ASSEMBLY straw chopper concave, Includes: Ref. 22 - 23A

1шт.

22

1302763C1

KNIFE

BLADE double

12шт.

23

1302764C1

KNIFE

BLADE single

1шт.

23a

104236

RIVET,4.76mm OD x 15.88mm L

26шт.

24

186736C3

ROD

PIN latch, replaces 186736C1 and 186736C2

2шт.

25

432-616

COTTER PIN,3/32" x 1"

2шт.

26

495-51041

WASHER,3/8"

flat, 13/32 x 47/64 x 1/16 inch

1шт.

27

540815R2

SPRING

latch pin, replaces 540815R1

2шт.

28

181147C3

PLATE

PAN straw chopper deflector, replaces 181147C2 bottom

1шт.

29

25553R1

WASHER,13/32" x 1 1/8" x .134", HDN

flat, 13/32 x 1-1/8 x 9/64 inch, hardened

4шт.

30

182950C1

SUPPORT

housing filler, rear

1шт.

31

477-73812

SERRATED SCREW,Truss HD, 3/8" - 16 x 3/4"

slotted truss head, special, 3/8 NC x 3/4 inch

35шт.

32

231-5146

FLANGE NUT,3/8"-16

35шт.

33

182948C2

DEFLECTOR

DEFLECTOR discharge, left hand

1шт.

34

182949C2

DEFLECTOR

DEFLECTOR discharge, right hand

1шт.

35

182895C1

FILLER

bulkhead filler

2шт.

36

182893C1

HINGE

bottom

1шт.

37

182980C1

ROD,11.11mm OD x 1556mm L

bottom hinge

1шт.

38

192385C1

SUPPORT

lower seal, parts list Figure 9B-20 Ref. 1

1шт.

39

181209C1

SUPPORT

sensor

1шт.

40

425-148

JAM NUT,Jam, 1/2"-13, G5

4шт.

41

181208C3

SUPPORT

COVER sensor

1шт.

42

280-1478

SELF-TAP SCREW,HWH, 1/4-14 x 1/2"

self-tapping, hex washer head, 1/4-14 x 1/2 inch

2шт.

43

413-620

BOLT,Hex, 3/8" - 16 x 1-1/4", Gr 5

4шт.

44

135270

SERRATED SCREW,5/16" - 18 x 3/4"

slotted truss head, 5/16 NC x 3/4 inch

10шт.

45

231-5145

SERRATED NUT,Flg, USR, 5/16"-18

10шт.

46

181058C1

SUPPORT

rotor, right hand

1шт.

Выбрано товаров: 50